HYBRID CONTROL SYSTEM


  1. CONSTRUCTION


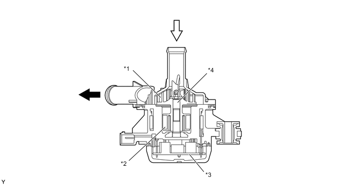
    1. A compact and highly efficient electric type inverter water pump assembly is used.

    2. A high output brushless type motor is used for the pump motor, furthermore, bearings that support the shaft at both ends are employed, thus suppressing noise and vibration.

    3. The pump motor is controlled over 4 levels by the duty cycle signal from the hybrid vehicle control ECU assembly.

      A01O72UC01
      *1 Impeller *2 Magnet
      *3 Motor Controller *4 Shaft
      B008JPG HV Coolant Outlet B008JPP HV Coolant Inlet