TIRE PRESSURE WARNING VALVE REMOVAL

PROCEDURE


  1. REMOVE WHEEL ASSEMBLY

    Click here

  2. REMOVE TIRE PRESSURE WARNING VALVE AND TRANSMITTER


    1. Remove the tire valve cap.

      Note

      Keep the removed tire valve cap.

    2. Remove the valve core to release the air from the tire.

      Note

      Make sure that a sufficient amount of air has been released.

    3. Remove the nut and washer.

    4. Drop the tire pressure warning valve and transmitter with grommet into the tire.

      Tech Tips

      The grommet may remain attached to the rim.

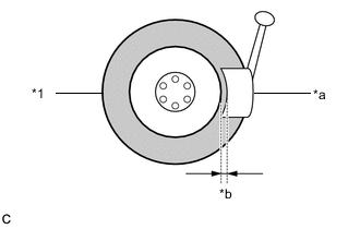
    5. A01OCEYC06
      *1 Tire
      *a Shoe
      *b 10 to 20 mm (0.394 to 0.787 in.)

      Using a tire remover, remove the tire from the disc wheel.

      Note


      • Be careful not to damage the tire pressure warning valve and transmitter due to interference between the valve and the tire bead.

      • Set the tire remover shoe as shown in the illustration.

    6. Take out the tire pressure warning valve and transmitter with grommet from the tire.

    7. Remove the grommet from the tire pressure warning valve and transmitter.