СИСТЕМА SFI ОПИСАНИЕ VALVEMATIC ВАЛА ДАТЧИКА

  1. КОНСТРУКЦИЯ

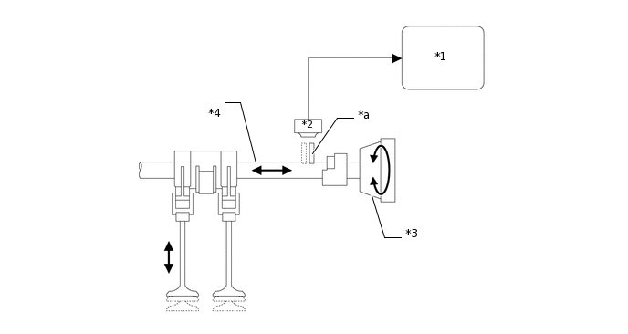
    1. Сигнал типа MRE (магнитный резистивный элемент) (VALVEMATIC вала датчика используется датчик положения коленчатого вала). VALVEMATIC вала датчика (датчик положения коленчатого вала определяет положение вала VALVEMATIC Target установлена на монитор приводного вала.

      W113477C02

      *1

      ECM

      *2

      VALVEMATIC вала датчика (датчик положения коленчатого вала)

      *3

      Контроллер бесступенчатого подъема клапанов в сборе

      *4

      VALVEMATIC приводного вала

      *a

      Контроль заданного вала

      -

      -

    2. Датчик VALVEMATIC вала типа MRE (датчик положения коленчатого вала состоит из магнитного резистивного элемента, магнита и чувствительного. Направление магнитного поля изменяются при вал проходит через Контроль заданного его датчика из-за разного форму. В результате изменяется сопротивление магнитного резистивного элемента, и выходное напряжение становится выше в ECM. На основе этого напряжения ECM определяет управление VALVEMATIC приводного вала.

      W113478E03