СИСТЕМА ПОМОЩИ ПРИ ПАРКОВКЕ КАЛИБРОВКА

  1. ОТРЕГУЛИРУЙТЕ СИСТЕМУ ПОМОЩИ ПРИ ПАРКОВКЕ

    1. Данная система помощи при парковке может быть настроена с использованием экрана диагностики на дисплее.

    2. Если были произведены перечисленные ниже действия, необходимо выполнить соответствующие регулировки и проверки с использованием экрана диагностики.

      Наименование детали

      Действие

      Регулируемый параметр

      Перейдите к

      Радиоприемник в сборе

      Замена

      Контрактные установки автомобиля (для моделей с приемопередатчиком системы обработки и передачи информации с поддержкой G-BOOK)

      Click here

      Контрактные установки автомобиля (для моделей без приемопередатчика системы обработки и передачи информации с поддержкой G-BOOK)

      Click here

      Загрузка необходимых данных (для моделей с приемопередатчиком системы обработки и передачи информации с поддержкой G-BOOK)

      Click here

      Загрузка необходимых данных (для моделей без приемопередатчика системы обработки и передачи информации с поддержкой G-BOOK)

      Click here

      Инициализация системы помощи при парковке.

      Процедура 1

      Витой кабель с датчиком в сборе

      • Замена

      • Снятие и установка витого кабеля с датчиком в сборе

      • Снятие и установка разъема витого кабеля с датчиком в сборе

      Нейтральное положение рулевого колеса (инициализируйте систему помощи при парковке)

      Click here

      Установка угла поворота рулевого колеса

      Процедура 3

      Подвеска, шины и т.д.

      Высота подвески автомобиля изменяется вследствие замены деталей подвески или шин

      Оптическая ось задней телекамеры (настройка положения камеры заднего вида)

      Процедура 2

      Задняя телекамера в сборе

      • Замена

      • Угол установки задней телекамеры был изменен вследствие снятия и установки задней телекамеры и т.п.

      Оптическая ось задней телекамеры (настройка положения камеры заднего вида)

      Процедура 2

      Tip:

      Определяемые во время калибровки системы помощи при парковке параметры настройки сохраняются в радиоприемнике в сборе.

  2. ИНИЦИАЛИЗАЦИЯ СИСТЕМЫ ПОМОЩИ ПРИ ПАРКОВКЕ (ПРОЦЕДУРА 1)

    Tip:

    Обязательно проверьте DTC перед выполнением этой процедуры.

    • Обязательно проверьте DTC перед выполнением этой процедуры.

      Нажмите здесьClick here

    • Экраны на рисунках могут отличаться от экранов, отображаемых в конкретном автомобиле, из-за различия настроек и дополнительного оборудования. В связи с этим некоторые детализированные области не могут быть отображены в точности так, как вы их видите на своем дисплее.

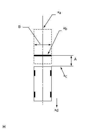
    1. E181012C10

      *a

      Центральная ось автомобиля

      *b

      Полоса для регулировки камеры заднего вида

      *c

      Задняя часть автомобиля

      *d

      Вперед

      Подготовка к настройке

      1. Припаркуйте автомобиль так, чтобы рулевое колесо находилось в центральном положении.

      2. Закрепите полосу для регулировки оптической оси задней телекамеры в сборе позади автомобиля (настройка положения камеры заднего вида).

        Tip:

        Полоса для регулировки используется только в случае регулировки оптической оси задней телекамеры в сборе.

        Размер

        Зона

        Технические характеристики

        A

        1124,5 мм (3,69 фута)

        B

        2000 мм (6,56 фута)

        Tip:
        • Положите на землю кусок ленты, которая будет использоваться в качестве полосы для регулировки. Ширина и длина должны составлять соответственно 20-30 мм (0,79-1,18 дюйма) и 2000 мм (6,56 фута). Подберите ленту по цвету, чтобы ее можно было четко видеть на многофункциональном дисплее в сборе.

        • Перед парковкой автомобиля подвигайте его взад-вперед, чтобы убедиться, что колеса установлены строго прямо и рулевое колесо установлено по центру.

        • Убедитесь, что дверь багажного отделения полностью закрыта.

    2. Войдите в режим диагностики.

      Нажмите здесьClick here

      Note:

      Следующую процедуру следует выполнять при включенном питании (READY). Включите стояночный тормоз, нажмите педаль тормоза, проверьте, что рычаг переключения передач находится в положении P и удостоверьтесь, что автомобиль не движется.

      1. E271944

        Выберите "Function Check/Setting" (Проверка/настройка функций) на экране "Service Menu" (Меню обслуживания).

      2. E299593

        Выберите "Camera Setting" (Настройка камеры) на экране "Function Check/Setting I" (Проверка/настройка функций I).

      3. E283802

        Выберите "Next" (Далее) на экране "Car Information Check" (Проверка информации об автомобиле).

      4. E276130

        Выберите "Next" (далее) на экране "Car Signal Check" (проверка сигналов автомобиля).

        Tip:
        • Если для каких-либо параметров на экране "Car Signal Check" отображается "CHK" (красный), при выборе "Next" система не перейдет к экрану "Steering Angle Setting" (настройка угла поворота рулевого колеса).

        • Если для каких-либо параметров на экране "Car Signal Check" отображается "CHK" (красный), выполните проверки с помощью экрана "Car Signal Check".

          Нажмите здесьClick here

    3. Установка угла поворота рулевого колеса

      1. E276131

        Выполните операцию "STEERING CENTER MEMORIZE" (Сохранить нейтральное положение рулевого колеса).

        • Убедитесь, что рулевое колесо отцентровано (приблизительно +/-5 градусов или менее), и выберите "STEERING CENTER MEMORIZE" (Сохранить центральное положение рулевого колеса).

        Tip:

        При снятии/установке и замене задней телекамеры установка угла поворота рулевого колеса не требуется.

      2. Выполните операцию "MAX STEERING ANGLE MEMORIZE" (сохранение максимального угла поворота).

        • После сохранения в памяти нейтрального положения рулевого колеса поверните рулевое колесо до упора влево и вправо и выберите "MAX STEERING ANGLE MEMORIZE" (сохранение максимального угла поворота рулевого колеса). Максимальный угол поворота рулевого колеса будет сохранен, и появится экран "Back Camera Position Setting" (настройка положения камеры заднего вида).

        Tip:
        • Система не будет реагировать на нажатие кнопки "Next" до тех пор, пока не сохранит нейтральное положение и максимальный угол поворота рулевого колеса.

        • Также можно начать процедуру с поворота рулевого колеса с правую сторону.

        • При выборе "MAX STEERING ANGLE MEMORIZE" (сохранение максимального угла поворота рулевого колеса) подается звуковой сигнал, подтверждающий сохранение настройки рулевого управления.

        • Настройка не сохранится, если после поворота рулевого колеса в крайние положения не будет выбрано "MAX STEERING ANGLE MEMORIZE".

        • В случае выбора "Back" появляется экран "Car Signal Check" (проверка сигналов) без сохранения каких-либо значений.

        • Даже если коды DTC не зарегистрированы, выбор "MAX STEERING ANGLE MEMORIZE" может не привести к сохранению настройки, если неисправен датчик положения рулевого колеса.

        • Если выбор "MAX STEERING ANGLE MEMORIZE" не приводит к сохранению настройки после регулировки угла поворота рулевого колеса, замените витой кабель с датчиком в сборе.

          Нажмите здесьClick here

    4. E276132C06

      *a

      Полоса для регулировки положения камеры заднего вида

      Настройка положения камеры заднего вида

      Tip:
      • При регулировке положения оптической оси камеры сообщение "Back door is open. Не используйте помощи при парковке, когда дверь багажного отделения закрыта не полностью. "отображается даже после закрывания двери багажного отделения.

      • Когда дверь багажного отделения открыта, отображается сообщение "Back door is open. Не используйте помощи при парковке, когда дверь багажного отделения закрыта не полностью. "будет выведено такое сообщение, и настройка положения камеры будет невозможна.

      • Если сообщение "Back door is open. Не используйте помощи при парковке, когда дверь багажного отделения закрыта не полностью. "отображается даже при закрытой двери багажного отделения, выполните проверки в соответствии с таблицей признаков неисправностей (при регулировке положения оптической оси камеры сообщение" Back door is open. Не используйте помощи при парковке, когда дверь багажного отделения закрыта не полностью. "отображается даже после закрывания двери багажного отделения.)

        Нажмите здесьClick here

      1. Отрегулируйте угол крена.

        • Нажимая кнопки A и B, поверните линию C так, чтобы она оказалась параллельна полосе регулировки.

      2. Отрегулируйте положения по вертикали и горизонтали.

        • Нажимая на кнопки направлений D, E, F и G, сместите C так, чтобы полоса регулировки D оказалась в центре C.

      3. Нажмите кнопку "Next" в окне "Back Camera Position Setting" (настройка положения камеры заднего вида).

    5. E276133N01

      Режим проверки заднего вида

      1. Убедитесь, что "A" и полоса регулировки перекрываются.

        • Если линии не совмещаются, выполните операции "STEERING CENTER MEMORIZE" (сохранение нейтрального положения рулевого колеса) и "MAX STEERING ANGLE MEMORIZE" (сохранение максимального угла поворота рулевого колеса).

        • Если "A" и полоса регулировки не совмещены, несмотря на то, что колеса расположены строго прямо, произведите настройку положения камеры заднего вида.

      2. Выбор варианта "OK" приводит к возврату на экран "Function Check/Setting I" (проверка/настройка функций I) и завершению регулировки.

        Tip:
        • Обновление не завершится, пока не будет нажата кнопка "OK".

        • После выбора "OK" звучит звуковой сигнал, подтверждающий сохранение значений параметров настройки.

        • Значения параметров настройки не сохраняются, пока не прозвучит звуковой сигнал.

    6. Закончите режим диагностики.

      Нажмите здесьClick here

    7. Проверьте настройку угла поворота рулевого колеса.

      Tip:

      Если угол поворота рулевого колеса был отрегулирован, после выхода из режима диагностики проверьте настройку угла поворота рулевого колеса на экране системы помощи при парковке.

      1. Убедитесь, что на экране системы помощи при парковке прогнозируемая траектория движения перемещается, пока рулевое колесо не будет повернуто до упора влево или вправо.

        Tip:

        Если прогнозируемая траектория движения прекращает движение до того, как рулевое колесо будет повернуто в крайнее левое или правое положение, параметры настройки угла поворота рулевого колеса не сохранены должным образом. В этом случае заново выполните операции "STEERING CENTER MEMORIZE" (сохранение центрального положения рулевого колеса) и "MAX STEERING ANGLE MEMORIZE" (сохранение максимального угла поворота рулевого колеса).

  3. НАСТРОЙКА ПОЛОЖЕНИЯ КАМЕРЫ ЗАДНЕГО ВИДА (ПРОЦЕДУРА 2)

    Tip:

    Обязательно проверьте DTC перед выполнением этой процедуры.

    Нажмите здесьClick here

    1. E181012C10

      *a

      Центральная ось автомобиля

      *b

      Полоса для регулировки камеры заднего вида

      *c

      Задняя часть автомобиля

      *d

      Вперед

      Подготовка к настройке

      1. Припаркуйте автомобиль так, чтобы рулевое колесо находилось в центральном положении.

      2. Закрепите полосу для регулировки оптической оси задней телекамеры в сборе позади автомобиля (настройка положения камеры заднего вида).

        Tip:

        Полоса для регулировки используется только в случае регулировки оптической оси задней телекамеры в сборе.

        Размер

        Зона

        Технические характеристики

        A

        1124,5 мм (3,69 фута)

        B

        2000 мм (6,56 фута)

        Tip:
        • Положите на землю кусок ленты, которая будет использоваться в качестве полосы для регулировки. Ширина и длина должны составлять соответственно 20-30 мм (0,79-1,18 дюйма) и 2000 мм (6,56 фута). Подберите ленту по цвету, чтобы ее можно было четко видеть на многофункциональном дисплее в сборе.

        • Перед парковкой автомобиля подвигайте его взад-вперед, чтобы убедиться, что колеса установлены строго прямо и рулевое колесо установлено по центру.

        • Убедитесь, что дверь багажного отделения полностью закрыта.

    2. Войдите в режим диагностики.

      Нажмите здесьClick here

      Note:

      Следующую процедуру следует выполнять при включенном питании (READY). Включите стояночный тормоз, нажмите педаль тормоза, проверьте, что рычаг переключения передач находится в положении P и удостоверьтесь, что автомобиль не движется.

      1. E271944

        Выберите "Function Check/Setting" (Проверка/настройка функций) на экране "Service Menu" (Меню обслуживания).

      2. E299593

        Выберите "Camera Setting" (Настройка камеры) на экране "Function Check/Setting I" (Проверка/настройка функций I).

      3. E283802

        Выберите "Next" (Далее) на экране "Car Information Check" (Проверка информации об автомобиле).

      4. E276139

        В окне "Mode Setting" (настройка режима) выберите пункт "Back Camera Setting" (настройка камеры заднего вида).

        Tip:

        Чтобы выбрать недоступный для выбора элемент, нажмите на его изображение и удерживайте не менее 2 с.

      5. E276130

        Выберите "Next" (далее) на экране "Car Signal Check" (проверка сигналов автомобиля).

        Tip:
        • Если для каких-либо параметров на экране "Car Signal Check" отображается "CHK" (красный), при выборе "Next" система не перейдет к экрану "Back Camera Position Setting" (настройка угла поворота рулевого колеса).

        • Если для каких-либо параметров на экране "Car Signal Check" отображается "CHK" (красный), выполните проверки с помощью экрана "Car Signal Check".

          Нажмите здесьClick here

    3. E276132C06

      *a

      Полоса для регулировки положения камеры заднего вида

      Настройка положения камеры заднего вида

      Tip:
      • Когда дверь багажного отделения открыта, отображается сообщение "Back door is open. Не используйте помощи при парковке, когда дверь багажного отделения закрыта не полностью. "будет выведено такое сообщение, и настройка положения камеры будет невозможна.

      • Если сообщение "Back door is open. Не используйте помощи при парковке, когда дверь багажного отделения закрыта не полностью. "отображается даже при закрытой двери багажного отделения, выполните проверки в соответствии с таблицей признаков неисправностей (при регулировке положения оптической оси камеры сообщение" Back door is open. Не используйте помощи при парковке, когда дверь багажного отделения закрыта не полностью. "отображается даже после закрывания двери багажного отделения.)

        Нажмите здесьClick here

      1. Отрегулируйте угол крена.

        • Нажимая кнопки A и B, поверните линию C так, чтобы она оказалась параллельна полосе регулировки.

      2. Отрегулируйте положения по вертикали и горизонтали.

        • Нажимая на кнопки направлений D, E, F и G, сместите C так, чтобы полоса регулировки D оказалась в центре C.

      3. Нажмите кнопку "Next" в окне "Back Camera Position Setting" (настройка положения камеры заднего вида).

    4. E276133N01

      Режим проверки заднего вида

      1. Убедитесь, что "A" и полоса регулировки перекрываются.

        • Если линии не совмещаются, выполните операции "STEERING CENTER MEMORIZE" (сохранение нейтрального положения рулевого колеса) и "MAX STEERING ANGLE MEMORIZE" (сохранение максимального угла поворота рулевого колеса).

        • Если "A" и полоса регулировки не совмещены, несмотря на то, что колеса расположены строго прямо, произведите настройку положения камеры заднего вида.

      2. Выбор варианта "OK" приводит к завершению регулировки и возврату на экран "Service Menu" (Меню обслуживания).

        Tip:
        • Обновление не завершится, пока не будет нажата кнопка "OK".

        • После выбора "OK" звучит звуковой сигнал, подтверждающий сохранение значений параметров настройки.

        • Значения параметров настройки не сохраняются, пока не прозвучит звуковой сигнал.

    5. Закончите режим диагностики.

      Нажмите здесьClick here

  4. НАСТРОЙКА УГЛА ПОВОРОТА РУЛЕВОГО КОЛЕСА (ПРОЦЕДУРА 3)

    Tip:

    Если линии, ограничивающие маневр автомобиля по ширине, не совмещены с линиями прогнозируемой траектории движения, когда рулевое колесо отцентровано, или же прогнозируемая траектория движения не перемещается до полного поворота рулевого колеса влево или вправо, настройте угол поворота рулевого колеса.

    1. Установите рулевое колесо в центральное положение и остановите автомобиль.

    2. Войдите в режим диагностики.

      Нажмите здесьClick here

      Note:

      Следующую процедуру следует выполнять при включенном питании (READY). Включите стояночный тормоз, нажмите педаль тормоза, проверьте, что рычаг переключения передач находится в положении P и удостоверьтесь, что автомобиль не движется.

      1. E271944

        Выберите "Function Check/Setting" (Проверка/настройка функций) на экране "Service Menu" (Меню обслуживания).

      2. E299593

        Выберите "Camera Setting" (Настройка камеры) на экране "Function Check/Setting I" (Проверка/настройка функций I).

      3. E283802

        Выберите "Next" (Далее) на экране "Car Information Check" (Проверка информации об автомобиле).

      4. E276139

        В окне "Mode Setting" (настройка режима) выберите пункт "Steering Angle Setting" (настройка угла поворота рулевого колеса).

        Tip:

        Чтобы выбрать недоступный для выбора элемент, нажмите на его изображение и удерживайте не менее 2 с.

      5. E276130

        Выберите "Next" (далее) на экране "Car Signal Check" (проверка сигналов автомобиля), чтобы открыть экран "Steering Angle Setting" (настройка угла поворота рулевого колеса).

        Tip:
        • Если для каких-либо параметров на экране "Car Signal Check" отображается "CHK" (красный), при выборе "Next" система не перейдет к экрану "Steering Angle Setting" (настройка угла поворота рулевого колеса).

        • Если для каких-либо параметров на экране "Car Signal Check" отображается "CHK", выполните проверки с помощью экрана "Car Signal Check".

          Нажмите здесьClick here

    3. E276134

      Установка угла поворота рулевого колеса

      1. Убедитесь, что рулевое колесо отцентровано (не более приблизительно +/-5 градусов), и выберите "STEERING CENTER MEMORIZE" (сохранить центральное положение рулевого колеса).

      2. После запоминания центрального положения рулевого колеса поверните рулевое колесо до упора вправо, а затем влево и выберите "MAX STEERING ANGLE MEMORIZE" (сохранение максимального угла поворота рулевого колеса).

        Tip:

        Также можно начать процедуру с поворота рулевого колеса с правую сторону.

      3. Выберите "MAX STEERING ANGLE MEMORIZE" (сохранение максимального угла поворота рулевого колеса), чтобы сохранить настройку угла поворота рулевого колеса и перейти на экран "Mode Setting".

        Tip:
        • При выборе "MAX STEERING ANGLE MEMORIZE" (сохранение максимального угла поворота рулевого колеса) подается звуковой сигнал, подтверждающий сохранение параметров настройки угла поворота рулевого колеса.

        • Настройка не сохранится, если не выбрать "MAX STEERING ANGLE MEMORIZE".

        • После выбора "Back" появляется экран "Car Signal Check" (проверка сигналов), и установленные параметры не сохраняются.

        • Если угол поворота рулевого колеса не был отрегулирован, при выборе "MAX STEERING ANGLE MEMORIZE" настройка сохранена не будет.

        • Даже если коды DTC не зарегистрированы, выбор "MAX STEERING ANGLE MEMORIZE" может не привести к сохранению настройки, если неисправен датчик положения рулевого колеса.

        • Если выбор "MAX STEERING ANGLE MEMORIZE" не приводит к сохранению настройки после регулировки угла поворота рулевого колеса, замените витой кабель с датчиком в сборе.

          Нажмите здесьClick here

    4. Закончите режим диагностики.

      Нажмите здесьClick here

    5. Проверьте настройку угла поворота рулевого колеса.

      Tip:

      Если угол поворота рулевого колеса был отрегулирован, после выхода из режима диагностики проверьте настройку угла поворота рулевого колеса на экране системы помощи при парковке.

      1. Убедитесь, что на экране системы помощи при парковке прогнозируемая траектория движения перемещается, пока рулевое колесо не будет повернуто до упора влево или вправо.

        Tip:

        Если прогнозируемая траектория движения прекращает движение до того, как рулевое колесо будет повернуто в крайнее левое или правое положение, параметры настройки угла поворота рулевого колеса не сохранены должным образом. В этом случае заново выполните операции "STEERING CENTER MEMORIZE" (сохранение центрального положения рулевого колеса) и "MAX STEERING ANGLE MEMORIZE" (сохранение максимального угла поворота рулевого колеса).