REAR SUSPENSION MEMBER REMOVAL

CAUTION / NOTICE / HINT

The necessary procedures (adjustment, calibration, initialization, or registration) that must be performed after parts are removed and installed, or replaced during rear suspension member sub-assembly removal/installation are shown below.

Necessary Procedures After Parts Removed/Installed/Replaced
Replaced Part or Performed Procedure Necessary Procedure Effect/Inoperative Function when Necessary Procedure not Performed Link
Rear wheel alignment adjustment Perform system variant learning and acceleration sensor zero point calibration.
  • VSC disabled or malfunctioning

  • DTCs are output

  • Slip indicator light illuminated

  • ABS warning light illuminated

Click here

Suspension, tires

(The vehicle height changes because of suspension or tire replacement.)

Rear television camera assembly optical axis (Back camera position setting) Parking assist monitor system

Click here for Initialization

Click here for Calibration

Perform headlight ECU sub-assembly LH initialization Lighting System (EXT) (w/ Automatic Headlight Beam Level Control System)

Click here

Rear height control sensor sub-assembly LH Perform headlight ECU sub-assembly LH initialization Lighting System (EXT) (w/ Automatic Headlight Beam Level Control System)

Click here

Gas leak from exhaust system is repaired Inspection After Repair
  • Poor idle, etc.

  • Engine start function, etc.

Click here for 2AR-FE

Click here for A25A-FKS (w/ Canister Pump Module)

Click here for A25A-FKS (w/o Canister Pump Module)

Click here for 2GR-FKS

CAUTION:

To prevent burns, do not touch the engine, exhaust pipe or other high temperature components while the engine is hot.

B0083FX

PROCEDURE


  1. REMOVE REAR WHEEL

    Click here

  2. REMOVE CENTER EXHAUST PIPE ASSEMBLY

    for 2AR-FE: Click here

    for A25A-FKS: Click here

    for 2GR-FKS: Click here

  3. REMOVE NO. 2 FLOOR UNDER COVER (w/ Cover)

    Click here

  4. REMOVE NO. 1 FLOOR UNDER COVER (w/ Cover)

    Click here

  5. SEPARATE REAR FLEXIBLE HOSE LH


    1. Remove the bolt and separate the rear flexible hose LH from the rear flexible hose bracket.

  6. SEPARATE REAR FLEXIBLE HOSE RH

    Tech Tips

    Perform the same procedure as for the LH side.

  7. REMOVE REAR HEIGHT CONTROL SENSOR SUB-ASSEMBLY LH (w/ Height Control Sensor)

    Click here

  8. REMOVE REAR STABILIZER LINK ASSEMBLY LH

    Click here

  9. REMOVE REAR STABILIZER LINK ASSEMBLY RH

    Tech Tips

    Perform the same procedure as for the LH side.

  10. REMOVE REAR STABILIZER BAR

    Click here

  11. REMOVE REAR COIL SPRING LH

    Click here

  12. REMOVE REAR COIL SPRING RH

    Tech Tips

    Perform the same procedure as for the LH side.

  13. REMOVE REAR LOWER COIL SPRING INSULATOR LH

    Click here

  14. REMOVE REAR LOWER COIL SPRING INSULATOR RH

    Tech Tips

    Perform the same procedure as for the LH side.

  15. REMOVE REAR NO. 2 SUSPENSION ARM ASSEMBLY LH

    Click here

  16. REMOVE REAR NO. 2 SUSPENSION ARM ASSEMBLY RH

    Tech Tips

    Perform the same procedure as for the LH side.

  17. REMOVE REAR NO. 1 SUSPENSION ARM ASSEMBLY LH

    Click here

  18. REMOVE REAR NO. 1 SUSPENSION ARM ASSEMBLY RH

    Tech Tips

    Perform the same procedure as for the LH side.

  19. SEPARATE REAR UPPER CONTROL ARM ASSEMBLY LH


    1. B00884L

      Remove the bolt and nut and separate the rear upper control arm assembly LH from the rear axle carrier sub-assembly LH.

      Note

      Because the nut has its own stopper, do not turn the nut. Loosen the bolt with the nut secured.

  20. SEPARATE REAR UPPER CONTROL ARM ASSEMBLY RH

    Tech Tips

    Use the same procedure as for the LH side.

  21. REMOVE REAR SUSPENSION MEMBER SUB-ASSEMBLY


    1. B0085V9C01
      *a Engine Lifter
      *b Attachment
      B0087TV Attachment Placement Location

      Using an engine lifter and 4 attachments or equivalent tools, support the rear suspension member sub-assembly as shown in the illustration.

      CAUTION:

      B0089J9

      • The rear suspension member sub-assembly is a very heavy component. Make sure that it is supported securely.

      • If the rear suspension member sub-assembly is not securely supported, it may drop, resulting in serious injury.

      Note

      Use attachments or equivalent tools to keep the rear suspension member sub-assembly level.

    2. B0084BC

      Remove the 2 bolts, 6 nuts, 2 rear suspension member lower stoppers, rear suspension member lower brace LH and rear suspension member lower brace RH.

    3. Slowly lower the rear suspension member sub-assembly.

      Note

      When lowering the rear suspension member sub-assembly, be careful not to damage the vehicle body or other components installed to the vehicle.

    4. Remove the 4 rear suspension member cushions from the rear suspension member sub-assembly.

      Tech Tips

      Make sure to place an identification mark on the rear suspension member cushion so that they can be reinstalled to their original positions.

  22. REMOVE REAR UPPER CONTROL ARM ASSEMBLY LH

    Click here

  23. REMOVE REAR UPPER CONTROL ARM ASSEMBLY RH

    Tech Tips

    Perform the same procedure as for the LH side.

  24. REMOVE REAR SUSPENSION MEMBER FRONT BODY MOUNTING CUSHION (for LH Side)


    1. B0088HHC01
      *a Bend Portion

      Using a chisel and hammer, bend the 2 portions of the rear suspension member front body mounting cushion rib.

      Note

      Make sure to bend the 2 portions of the cushion rib until the claws of SST can fit securely.

    2. Apply lubricant to the contact surfaces of the rear suspension member front body mounting cushion.

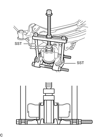
    3. B00877FN01

      Install SST as shown in the illustration.

      SST
      09830-10010   ( 09830-01010, 09830-01040, 09830-01050 )
      09950-40011   ( 09951-04010, 09952-04010, 09954-04010, 09955-04061, 09958-04011 )

      Note

      Apply molybdenum grease to the threads and tip of the SST center bolt before use.

    4. B0088ZXC03
      *a Hold
      B00847Z Turn

      Using SST, remove the rear suspension member front body mounting cushion while applying lubricant into the clearance between the rear suspension member front body mounting cushion and the rear suspension member sub-assembly.

      SST
      09830-10010   ( 09830-01010, 09830-01040, 09830-01050 )
      09950-40011   ( 09951-04010, 09952-04010, 09954-04010, 09955-04061, 09958-04011 )

      Note


      • Set the claws of SST into the rear suspension member sub-assembly securely as shown in the illustration.

      • Tighten SST slowly and evenly.

      • Be careful as the rear suspension member front body mounting cushion may fly out.

      • The rear suspension member front body mounting cushion cannot be reused.

    5. Remove SST and the rear suspension member front body mounting cushion from the rear suspension member sub-assembly.

  25. REMOVE REAR SUSPENSION MEMBER FRONT BODY MOUNTING CUSHION (for RH Side)

    Tech Tips

    Perform the same procedure as for the LH side.

  26. REMOVE REAR SUSPENSION MEMBER REAR BODY MOUNT CUSHION LH


    1. B008941N01

      Install SST as shown in the illustration.

      SST
      09950-00020
      09950-00030
      09950-60011   ( 09951-00330 )

      Note

      Apply molybdenum grease to the threads and tip of the SST center bolt before use.

    2. B0083M5C01
      *a Hold
      B00847Z Turn

      Using SST, remove the rear suspension member rear body mount cushion LH while applying lubricant into the clearance between the rear suspension member rear body mount cushion LH and the rear suspension member sub-assembly.

      SST
      09950-00020
      09950-00030
      09950-60011   ( 09951-00330 )

      Note


      • Tighten SST slowly and evenly.

      • Be careful as the rear suspension member rear body mount cushion LH may fly out.

      • The rear suspension member rear body mount cushion LH cannot be reused.

    3. Remove SST and the rear suspension member rear body mount cushion LH from the rear suspension member sub-assembly.

  27. REMOVE REAR SUSPENSION MEMBER REAR BODY MOUNT CUSHION RH

    Tech Tips

    Perform the same procedure as for the LH side.