RELAY(for Window Defogger) ON-VEHICLE INSPECTION

PROCEDURE

  1. REMOVE DEFOGGER RELAY

    1. Remove the defogger relay from the main body ECU (instrument panel junction block).

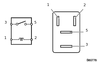
  2. INSPECT DEFOGGER RELAY

    B060778N09
    1. Measure the resistance according to the value(s) in the table below.

      Standard Resistance

      Tester Connection

      Condition

      Specified Condition

      3 - 5

      Battery voltage not applied to terminals 1 and 2

      10 kΩ or higher

      Battery voltage applied to terminals 1 and 2

      Below 1 Ω

      If the result is not as specified, replace the defogger relay.

  3. INSTALL DEFOGGER RELAY

    1. Install the defogger relay to the main body ECU (instrument panel junction block).