ПРОТИВОУГОННАЯ СИСТЕМА Цепь датчика проникновения

Код DTC Наименование DTC
Цепь датчика проникновения

ОПИСАНИЕ

Если предупреждения не выдаются, или систему можно включить, даже если условия включения системы не выполняются, то главный ЭБУ кузова (бортовой ЭБУ сети мультиплексной связи) не может выполнить распознавание из-за отсутствия сигнала ON от выключателей освещения проемов дверей, капота двигателя, либо из-за какой-либо другой неисправности.

Если противоугонная система срабатывает, когда она не должна работать, причиной может быть ложное срабатывание датчика проникновения (ультразвукового датчика противоугонной системы) или поступление сигнала включения при наличии короткого замыкания в цепи выключателей освещения проемов дверей или капота двигателя, либо какая-либо другая неисправность, способная вызвать это явление.

Tip:

В следующих ситуациях датчик проникновения (ультразвуковой датчик противоугонной системы) может срабатывать и включать противоугонную систему, даже когда датчик исправен.

  • Водитель блокирует двери и удаляется от автомобиля, когда в нем находятся пассажиры, домашние животные и т. д.

  • Внутри салона имеются предметы, которые легко перемещаются, например висящие вещи или одежда, повешенная на крючки для одежды.

  • Окно открыто.

  • Автомобиль стоит на стоянке в месте, где действуют сильные шумы или вибрации, например, на крытой автостоянке.

  • Производится мойка автомобиля с помощью распылителя высокого давления или автоматической моечной установки.

  • Автомобиль непрерывно подвергается ударам или вибрирует под воздействием града или молний.

  • Автомобиль непрерывно подвергается ударам или вибрирует при удалении с него снега или льда.

  • Противообледенительное покрытие с алюминиевой пленкой движется под воздействием ветра и т. д.

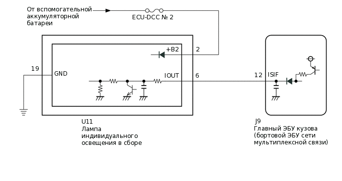
СХЕМА ЭЛЕКТРИЧЕСКИХ СОЕДИНЕНИЙ

B427501E02

ПРЕДОСТЕРЕЖЕНИЕ / ПРИМЕЧАНИЕ / УКАЗАНИЕ

Note:
  • Перед заменой главного ЭБУ кузова (бортового ЭБУ сети мультиплексной связи) обратитесь к бюллетеню технического обслуживания.

  • Перед выполнением последующей процедуры проверки проверьте плавкие предохранители цепей, относящихся к данной системе.

ПОРЯДОК ВЫПОЛНЕНИЯ

  1. СНИМИТЕ ПОКАЗАНИЯ GTS (ДАТЧИК ПРОНИКНОВЕНИЯ, ОБНАРУЖЕНИЕ ЗВУКА ДАТЧИКОМ ПРОНИКНОВЕНИЯ)

    1. Подключите GTS к DLC3.

    2. Включите зажигание (IG).

    3. Включите GTS.

    4. Войдите в следующие меню: Body Electrical / Main Body / Data List.

    5. Снимите показания с дисплея GTS в режиме DATA LIST.

      Tip:

      При выполнении вышеприведенной проверки передатчик электронного ключа в сборе должен находится в области обнаружения снаружи автомобиля, чтобы пройти сертификацию (это предотвращает срабатывание сигнализации).

      Note:

      Убедитесь, что все окна закрыты.

    6. Создайте звук постукивания металла по металлу (например, встряхните ключи) рядом с датчиком проникновения (ультразвуковым датчиком противоугонной системы) и проверьте параметры Data List.

      Body Electrical > Main Body > Data List

      Информация на дисплее прибора

      Измеряемая величина

      Диапазон

      Нормальное состояние

      Замечание по диагностике

      Intrusion Sensor Sound Detect

      Состояние функции звукового обнаружения датчика проникновения (ультразвукового датчика противоугонной системы)*1*2

      ON (ВКЛ) или OFF (ВЫКЛ)

      ON (ВКЛ): Звук обнаружен

      OFF (ВЫКЛ): Звук не обнаружен

      Лишь показывает "ON" один раз в Data List. При повторной проверке отсоедините и подсоедините GTS.

      Body Electrical > Main Body > Data List

      Информация на дисплее прибора

      Intrusion Sensor Sound Detect

      • *1: для моделей без функции звукового предупреждения о неплотно закрытой двери

      Note:

      *2: Выполните проверку работы датчика проникновения (ультразвукового датчика противоугонной системы), не подключая GTS.

      Нажмите здесьClick hereClick here

    7. Находясь в салоне автомобиля, помашите рукой перед датчиком проникновения (ультразвуковым датчиком противоугонной системы) на расстоянии 0,3 м (0,984 фута) и проверьте параметры Data List.

      Body Electrical > Main Body > Data List

      Информация на дисплее прибора

      Измеряемая величина

      Диапазон

      Нормальное состояние

      Замечание по диагностике

      Intrusion Sensor

      Состояние обнаружения датчика проникновения (ультразвукового датчика противоугонной системы)

      ON (ВКЛ) или OFF (ВЫКЛ)

      ON (ВКЛ): Проникновение обнаружено

      OFF (ВЫКЛ): Проникновение не обнаружено

      -

      Body Electrical > Main Body > Data List

      Информация на дисплее прибора

      Intrusion Sensor

    OK

    Показания на экране GTS правильно изменяются в соответствии с состоянием обнаружения датчика проникновения (ультразвукового датчика противоугонной системы).

    Result

    Перейти к

    OK

    НЕ СООТВ.

    OK

    ПЕРЕЙДИТЕ К СЛЕДУЮЩЕЙ ПРЕДПОЛАГАЕМОЙ ЗОНЕ, УКАЗАННОЙ В ТАБЛИЦЕ ПРИЗНАКОВ НЕИСПРАВНОСТЕЙ

    Нажмите здесьClick here

    NG
  2. ПРОВЕРЬТЕ ДАТЧИК ПРОНИКНОВЕНИЯ (УЛЬТРАЗВУКОВОЙ ДАТЧИК ПРОТИВОУГОННОЙ СИСТЕМЫ)

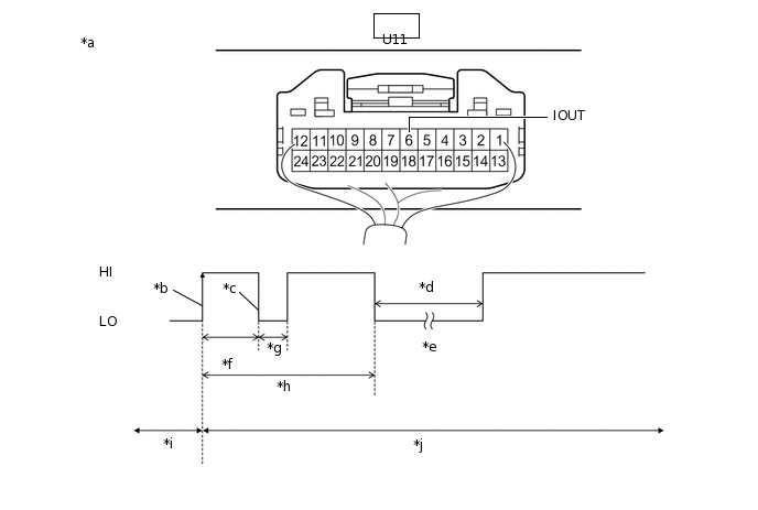
    1. С помощью осциллографа проверьте форму сигнала.

      B342995C10

      *a

      Устройство с подсоединенным жгутом проводов

      (лампа индивидуального освещения)

      *b

      Начальный сигнал IOUT

      *c

      Начальный ответный сигнал IOUT

      *d

      Приблизительно 1,0 с

      *e

      Начальная диагностика

      *f

      Приблизительно 1,0-1,6 с

      *g

      Приблизительно 0,05 с

      *h

      Приблизительно 5,5 с

      *i

      Состояние неготовности

      *j

      Состояние подготовки к включению

      Указанные условия

      Наименование

      Описание

      Подключение диагностического прибора

      U11-6 (IOUT) - масса

      Настройки прибора

      2 В/ДЕЛ., 100 мс / дел.

      Значение

      Противоугонная система включена (система переходит из состояния неготовности в состояние подготовки к включению)

      Tip:
      • Если датчик проникновения (ультразвуковой датчик противоугонной системы) исправен, начальный ответный сигнал выводится в ответ на входной сигнал высокого уровня (HI) от главного ЭБУ кузова (бортового ЭБУ сети мультиплексной связи).

      • Если уровень выходного сигнала остается низким (LO), возможна неисправность главного ЭБУ кузова (бортового ЭБУ сети мультиплексной связи), поскольку от главного ЭБУ кузова (бортового ЭБУ сети мультиплексной связи) не поступает входного сигнала.

      OK

      Сигнал имеет правильную форму (в состоянии HI не менее 6,5 в, в состоянии LO – менее 1 В).

    Result

    Перейти к

    OK

    НЕ СООТВ.

    НЕ СООТВ.

    ЗАМЕНИТЕ ГЛАВНЫЙ ЭБУ КУЗОВА (БОРТОВОЙ ЭБУ СЕТИ МУЛЬТИПЛЕКСНОЙ СВЯЗИ)

    Нажмите здесьClick hereClick hereClick here

    СООТВ
  3. ПРОВЕРЬТЕ ЖГУТ ПРОВОДОВ И РАЗЪЕМ (ГЛАВНЫЙ ЭБУ КУЗОВА [БОРТОВОЙ ЭБУ СЕТИ МУЛЬТИПЛЕКСНОЙ СВЯЗИ] - ЛАМПА ИНДИВИДУАЛЬНОГО ОСВЕЩЕНИЯ)

    1. Отсоедините разъем J9 главного ЭБУ кузова (бортового ЭБУ сети мультиплексной связи).

    2. Отсоедините разъем U11 лампы индивидуального освещения в сборе.

    3. Измерьте сопротивление в соответствии со значениями, приведенными в таблице ниже.

      Номинальное сопротивление

      Подключение диагностического прибора

      Условие

      Заданные условия

      J9-12 (ISIF) - U11-6 (IOUT)

      Всегда

      Менее 1 Ом

      J9-12 (ISIF) или U11-6 (IOUT) - масса

      Всегда

      10 кОм или более

    Результат

    Перейти к

    OK

    НЕ СООТВ.

    НЕ СООТВ.

    ОТРЕМОНТИРУЙТЕ ИЛИ ЗАМЕНИТЕ ЖГУТ ПРОВОДОВ ИЛИ РАЗЪЕМ

    OK
  4. ЗАМЕНИТЕ ЛАМПУ ИНДИВИДУАЛЬНОГО ОСВЕЩЕНИЯ

    1. Временно замените лампу индивидуального освещения в сборе новой или заведомо исправной.

      Нажмите здесьClick here

    Результат

    Перейти к

    СЛЕДУЮЩЕЕ -

    СЛЕДУЮЩЕЕ -
  5. СНИМИТЕ ПОКАЗАНИЯ GTS (ДАТЧИК ПРОНИКНОВЕНИЯ, ОБНАРУЖЕНИЕ ЗВУКА ДАТЧИКОМ ПРОНИКНОВЕНИЯ)

    1. Подключите GTS к DLC3.

    2. Включите зажигание (IG).

    3. Включите GTS.

    4. Войдите в следующие меню: Body Electrical / Main Body / Data List.

    5. Снимите показания с дисплея GTS в режиме DATA LIST.

      Tip:

      При выполнении вышеприведенной проверки передатчик электронного ключа в сборе должен находится в области обнаружения снаружи автомобиля, чтобы пройти сертификацию (это предотвращает срабатывание сигнализации).

      Note:

      Убедитесь, что все окна закрыты.

    6. Создайте звук постукивания металла по металлу (например, встряхните ключи) рядом с датчиком проникновения (ультразвуковым датчиком противоугонной системы) и проверьте параметры Data List.

      Body Electrical > Main Body > Data List

      Информация на дисплее прибора

      Измеряемая величина

      Диапазон

      Нормальное состояние

      Замечание по диагностике

      Intrusion Sensor Sound Detect

      Состояние функции звукового обнаружения датчика проникновения (ультразвукового датчика противоугонной системы)*1*2

      ON (ВКЛ) или OFF (ВЫКЛ)

      ON (ВКЛ): Звук обнаружен

      OFF (ВЫКЛ): Звук не обнаружен

      Лишь показывает "ON" один раз в Data List. При повторной проверке отсоедините и подсоедините GTS.

      Body Electrical > Main Body > Data List

      Информация на дисплее прибора

      Intrusion Sensor Sound Detect

      • *1: для моделей без функции звукового предупреждения о неплотно закрытой двери

      Note:

      *2: Выполните проверку работы датчика проникновения (ультразвукового датчика противоугонной системы), не подключая GTS.

      Нажмите здесьClick hereClick here

    7. Находясь в салоне автомобиля, помашите рукой перед датчиком проникновения (ультразвуковым датчиком противоугонной системы) на расстоянии 0,3 м (0,984 фута) и проверьте параметры Data List.

      Body Electrical > Main Body > Data List

      Информация на дисплее прибора

      Измеряемая величина

      Диапазон

      Нормальное состояние

      Замечание по диагностике

      Intrusion Sensor

      Состояние обнаружения датчика проникновения (ультразвукового датчика противоугонной системы)

      ON (ВКЛ) или OFF (ВЫКЛ)

      ON (ВКЛ): Проникновение обнаружено

      OFF (ВЫКЛ): Проникновение не обнаружено

      -

      Body Electrical > Main Body > Data List

      Информация на дисплее прибора

      Intrusion Sensor

    OK

    Показания на экране GTS правильно изменяются в соответствии с состоянием обнаружения датчика проникновения (ультразвукового датчика противоугонной системы).

    Result

    Перейти к

    OK

    НЕ СООТВ.

    OK

    КОНЕЦ (ЛАМПА ИНДИВИДУАЛЬНОГО ОСВЕЩЕНИЯ НЕИСПРАВНА)

    NG

    ЗАМЕНИТЕ ДАТЧИК ПРОНИКНОВЕНИЯ (УЛЬТРАЗВУКОВОЙ ДАТЧИК ПРОТИВОУГОННОЙ СИСТЕМЫ)

    Нажмите здесьClick here