AUDIO AND VISUAL SYSTEM

A004GO7E02
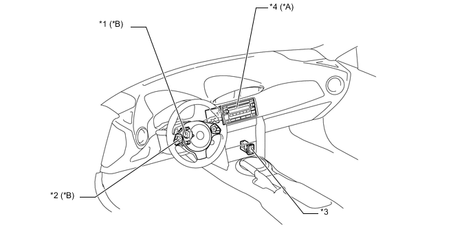
Text in Illustration
*A Models with Radio Receiver Assembly *B Models with Steering Pad Switch Assembly
*1 Spiral Cable Sub-assembly *2 Steering Pad Switch Assembly
*3 No. 1 Stereo Jack Adapter Assembly *4 Radio Receiver Assembly
A004GLME02
Text in Illustration
*1 Front Tweeter LH (Front No. 2 Speaker Assembly LH) *2 Front Speaker LH (Front No. 1 Speaker Assembly LH)
*3 Rear Speaker LH (Rear Speaker Assembly LH) *4 Rear Speaker RH (Rear Speaker Assembly RH)
*5 Front Speaker RH (Front No. 1 Speaker Assembly RH) *6 Amplifier Antenna Assembly
*7 Front Tweeter RH (Front No. 2 Speaker Assembly RH) - -