AIRBAG SYSTEM(w/ Occupant Classification System) SYSTEM DIAGRAM

E272032E02
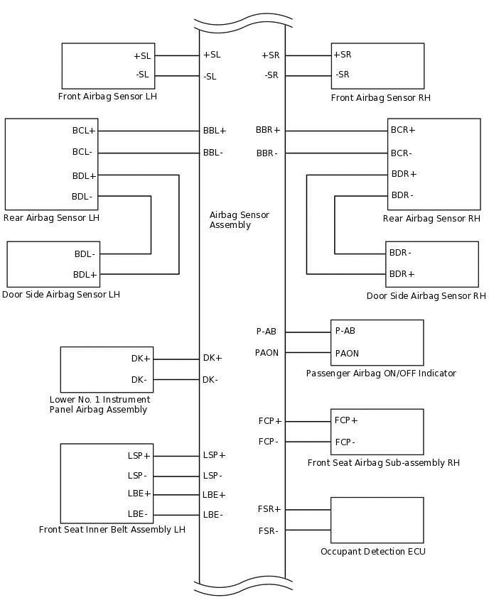
E272033E04
C350400E01

Transmitting ECU

(Transmitter)

Receiving ECU

(Receiver)

Signal

Communication Method

Airbag Sensor Assembly

Hybrid Vehicle Control ECU Assembly

Crash detection signal

CAN

Combination Meter Assembly

  • SRS warning light on demand signal

  • SRS warning light blink demand signal

  • Diagnosis signal (DTC)

Main Body ECU (Multiplex Network Body ECU)

Driver's seat belt buckle switch status signal

Hybrid Vehicle Control ECU Assembly

Airbag Sensor Assembly

  • Shift position signal

  • Test mode signal

  • Stop signal

Skid Control ECU Assembly