СИСТЕМА ОБРАБОТКИ И ПЕРЕДАЧИ ИНФОРМАЦИИ (для моделей с приемопередатчиком системы обработки и передачи информации) Цепь передаваемого голосового сигнала

Код DTC Наименование DTC
Цепь передаваемого голосового сигнала

СХЕМА ЭЛЕКТРИЧЕСКИХ СОЕДИНЕНИЙ

E284011E02

ПРЕДОСТЕРЕЖЕНИЕ / ПРИМЕЧАНИЕ / УКАЗАНИЕ

Note:

В зависимости от замененных деталей или операций, которые были выполнены при проверке или обслуживании автомобиля, может потребоваться инициализация, регистрация или калибровка. См. раздел "Меры предосторожности при работе с системой G-BOOK".

Нажмите здесьClick here

ПОРЯДОК ВЫПОЛНЕНИЯ

  1. ПРОВЕРЬТЕ ЖГУТ ПРОВОДОВ И РАЗЪЕМ (РАДИОПРИЕМНИК В СБОРЕ – ПРИЕМОПЕРЕДАТЧИК СИСТЕМЫ ОБРАБОТКИ И ПЕРЕДАЧИ ИНФОРМАЦИИ)

    1. E232919C05

      *a

      Вид спереди разъема со стороны жгута проводов:

      (к радиоприемнику в сборе)

      *b

      Вид спереди разъема со стороны жгута проводов:

      (к приемопередатчику системы обработки и передачи информации)

      Отсоедините разъем I98 радиоприемника в сборе.

    2. Отсоедините разъем I100 приемопередатчика системы обработки и передачи информации.

    3. Измерьте сопротивление в соответствии со значениями, приведенными в таблице.

      Номинальное сопротивление

      Подключение диагностического прибора

      Условие

      Номинальное значение

      I98-7 (VOR+) - I100-3 (VOT+)

      Всегда

      Менее 1 Ом

      I98-6 (VOR-) - I100-5 (VOT-)

      Всегда

      Менее 1 Ом

      I98-3 (VOT+) - I100-7 (VOR+)

      Всегда

      Менее 1 Ом

      I98-5 (VOT-) - I100-6 (VOR-)

      Всегда

      Менее 1 Ом

      I98-7 (VOR+) - масса

      Всегда

      10 кОм или более

      I98-6 (VOR-) - масса

      Всегда

      10 кОм или более

      I98-3 (VOT+) - масса

      Всегда

      10 кОм или более

      I98-5 (VOT-) - масса

      Всегда

      10 кОм или более

    Результат

    Перейти к

    OK

    НЕ СООТВ.

    НЕ СООТВ.

    ОТРЕМОНТИРУЙТЕ ИЛИ ЗАМЕНИТЕ ЖГУТ ПРОВОДОВ ИЛИ РАЗЪЕМ

    СООТВ
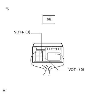
  2. ПРОВЕРЬТЕ РАДИОПРИЕМНИК В СБОРЕ

    1. Снимите радиоприемник в сборе с подсоединенными разъемами.

    2. E122091C16

      *a

      Устройство с подсоединенным жгутом проводов

      (Радиоприемник в сборе)

      Проверьте наличие импульсов в соответствии со значениями, приведенными в таблице ниже.

      Номинальное положение

      Контакты для подключения диагностического прибора

      Условие

      Номинальное значение

      I98-3 (VOT+) - масса

      Вызов при использовании службы оператора

      Выводится сигнал, синхронизированный с передаваемым голосом

      I98-5 (VOT-) - масса

      Вызов при использовании службы оператора

      Выводится сигнал, синхронизированный с передаваемым голосом

    Result

    Перейти к

    OK

    НЕ СООТВ.

    OK

    ЗАМЕНИТЕ ПРИЕМОПЕРЕДАТЧИК СИСТЕМЫ ОБРАБОТКИ И ПЕРЕДАЧИ ИНФОРМАЦИИ

    Нажмите здесьClick here

    NG

    ЗАМЕНИТЕ РАДИОПРИЕМНИК В СБОРЕ

    Нажмите здесьClick here