CYLINDER BLOCK INSPECTION

PROCEDURE

  1. INSPECT CYLINDER BLOCK FOR WARPAGE

    1. A151003

      Using a straightedge and feeler gauge, measure the warpage of the surface that contacts the cylinder head gasket.

      Maximum warpage

      0.05 mm (0.00197 in.)

      If the warpage is more than the maximum, replace the cylinder block.

  2. INSPECT CYLINDER BORE

    1. A169057E18

      Using a cylinder gauge, measure the cylinder bore diameter at positions A and B in both the thrust and axial directions.

      Measurement Position

      Measurement Position

      Cylinder Bore Position

      A

      10 mm (0.394 in.) from top edge

      B

      50 mm (1.97 in.) from top edge

      Standard diameter

      80.500 to 80.513 mm (3.169 to 3.170 in.)

      Maximum diameter

      80.633 mm (3.175 in.)

      If the average diameter of the 4 positions is more than the maximum, replace the cylinder block.

  3. INSPECT PISTON

    1. A157790

      Using a gasket scraper, remove the carbon from the piston top.

    2. A157791

      Using a groove cleaning tool or broken ring, clean the piston ring grooves.

    3. A157792

      Using a brush and solvent, thoroughly clean the piston.

      Note:

      Do not use a wire brush.

    4. A199331E03

      Using a micrometer, measure the piston diameter at a position that is 12.6 mm (0.496 in.) from the bottom of the piston (refer to the illustration).

      Standard Piston Diameter

      80.470 to 80.496 mm (3.16810 to 3.16913 in.)

      If the diameter is not as specified, replace the piston with pin.

  4. INSPECT PISTON OIL CLEARANCE

    1. Subtract the piston diameter measurement from the cylinder bore diameter measurement.

      Standard oil clearance

      0.004 to 0.043 mm (0.000157 to 0.00169 in.)

      Maximum oil clearance

      0.08 mm (0.00315 in.)

      If the oil clearance is more than the maximum, replace all the pistons. If necessary, replace the cylinder block.

  5. INSPECT RING GROOVE CLEARANCE

    Tip:
    • Check the piston type as shown in the illustration before performing this procedure, as there are type A and type B pistons.

    • Type A and Type B can be distinguished by the shape of the No. 1 compression ring.

    A348595E02
    Table 1. Text in Illustration

    *A

    for Type A

    *B

    for Type B

    *1

    Piston

    *2

    No. 1 Compression Ring

    *a

    Mark

    *b

    1.0 mm (0.0394 in.)

    *c

    1.2 mm (0.0472 in.)

    -

    -

    1. A151006

      Using a feeler gauge, measure the clearance between a new piston ring and the wall of the ring groove.

      Standard Ring Groove Clearance

      Item

      Specified Condition

      No. 1 Compression Ring

      0.02 to 0.07 mm (0.000787 to 0.00276 in.)

      No. 2 Compression Ring

      0.02 to 0.06 mm (0.000787 to 0.00236 in.)

      Oil Ring

      0.02 to 0.065 mm (0.000787 to 0.00256 in.)

      If the groove clearance is not as specified, replace the piston with pin.

  6. INSPECT PISTON RING END GAP

    A346767E01
    Tip:

    Type A and Type B can be distinguished by the shape of the No. 1 compression ring.

    Table 2. Text in Illustration

    *A

    for Type A

    *B

    for Type B

    *1

    No. 1 Compression Ring

    *a

    1.0 mm (0.0394 in.)

    *b

    1.2 mm (0.0472 in.)

    1. A151007E01

      Using a piston, push the piston ring a little beyond the bottom of the ring travel, 50 mm (1.97 in.) from the top of the cylinder block.

    2. EM02552

      Using a feeler gauge, measure the end gap.

      Standard End Gap (for Type A)

      Item

      Specified Condition

      No. 1 Compression Ring

      0.20 to 0.30 mm (0.00787 to 0.0118 in.)

      No. 2 Compression Ring

      0.30 to 0.50 mm (0.0118 to 0.0197 in.)

      Oil Ring

      0.10 to 0.35 mm (0.00394 to 0.0138 in.)

      Standard End Gap (for Type B)

      Item

      Specified Condition

      No. 1 Compression Ring

      0.20 to 0.25 mm (0.00787 to 0.00984 in.)

      No. 2 Compression Ring

      0.30 to 0.50 mm (0.0118 to 0.0197 in.)

      Oil Ring

      0.10 to 0.35 mm (0.00394 to 0.0138 in.)

      Maximum End Gap

      Item

      Specified Condition

      No. 1 Compression Ring

      0.50 mm (0.0197 in.)

      No. 2 Compression Ring

      0.70 mm (0.0276 in.)

      Oil Ring

      0.70 mm (0.0276 in.)

      If the end gap is more than the maximum, replace the piston ring. If the end gap is more than the maximum even with a new piston ring, replace the cylinder block.

  7. INSPECT PISTON PIN OIL CLEARANCE

    Tip:

    There is only 1 type of supply part for piston with pin.

    1. A151008

      Using a caliper gauge, measure the piston pin bore diameter.

      Standard Piston Pin Bore Diameter

      Item

      Specified Condition

      Mark A

      20.006 to 20.009 mm (0.78764 to 0.78775 in.)

      Mark B

      20.010 to 20.012 mm (0.78779 to 0.78787 in.)

      Mark C

      20.013 to 20.015 mm (0.78791 to 0.78799 in.)

      If the diameter is not as specified, replace the piston with pin.

    2. A146331E03

      Using a micrometer, measure the piston pin diameter.

      Standard Piston Pin Diameter

      Item

      Specified Condition

      Mark A

      20.004 to 20.007 mm (0.78756 to 0.78768 in.)

      Mark B

      20.008 to 20.010 mm (0.78771 to 0.78779 in.)

      Mark C

      20.011 to 20.013 mm (0.78783 to 0.78791 in.)

      Measurement Position

      Measurement Position

      Piston Pin Position

      a

      25 mm (0.984 in.) from side edge

      b

      5 mm (0.197 in.) from side edge

      If the diameter is not as specified, replace the piston with pin.

    3. A001185

      Using a caliper gauge, measure the connecting rod small end bore diameter.

      Standard Connecting Rod Small End Bore Diameter

      Item

      Specified Condition

      Mark A

      20.012 to 20.015 mm (0.78787 to 0.78799 in.)

      Mark B

      20.016 to 20.018 mm (0.78803 to 0.78811 in.)

      Mark C

      20.019 to 20.021 mm (0.78815 to 0.78823 in.)

      If the diameter is not as specified, replace the connecting rod small end bush.

    4. Subtract the piston pin diameter measurement from the piston pin bore diameter measurement.

      A390143E01

      Standard oil clearance

      -0.001 to 0.005 mm (-0.0000394 to 0.000197 in.)

      Maximum oil clearance

      0.010 mm (0.000394 in.)

      If the oil clearance is more than the maximum, replace the piston with pin as a set.

    5. Subtract the piston pin diameter measurement from the connecting rod small end bore diameter measurement.

      Standard oil clearance

      0.005 to 0.011 mm (0.000197 to 0.000433 in.)

      Maximum oil clearance

      0.014 mm (0.000551 in.)

      If the oil clearance is more than the maximum, replace the connecting rod small end bush. If necessary, replace the piston with pin as a set.

  8. INSPECT CONNECTING ROD SUB-ASSEMBLY

    1. Z000064

      Using a connecting rod aligner and feeler gauge, check the connecting rod alignment.

      1. Check for misalignment.

        Maximum misalignment

        0.05 mm (0.00197 in.) per 100 mm (3.94 in.)

        If the misalignment is more than the maximum, replace the connecting rod.

      2. Z000065

        Check for twist.

        Maximum twist

        0.15 mm (0.00591 in.) per 100 mm (3.94 in.)

        If the twist is more than the maximum, replace the connecting rod.

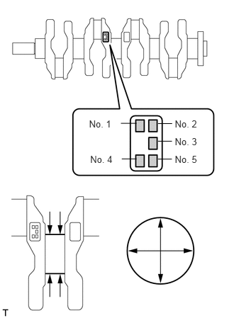
  9. INSPECT CRANKSHAFT

    1. Inspect the circle runout.

      1. A205912

        Using a dial indicator and V-blocks, measure the circle runout as shown in the illustration.

        Maximum circle runout

        0.03 mm (0.00118 in.)

        If the circle runout is more than the maximum, replace the crankshaft.

    2. Inspect the main journals.

      1. A205913E01

        Using a micrometer, measure the diameter of each main journal.

        Standard diameter

        47.988 to 48.000 mm (1.8893 to 1.8898 in.)

        If the diameter is not as specified, check the crankshaft oil clearance.

      2. Check each main journal for taper and distortion as shown in the illustration.

        Maximum taper and distortion

        0.004 mm (0.000157 in.)

        If the taper and distortion are more than the maximum, replace the crankshaft.

        Standard Diameter (Reference)

        Mark

        Specified Condition

        0

        47.999 to 48.000 mm (1.88972 to 1.88976 in.)

        1

        47.997 to 47.998 mm (1.88964 to 1.88968 in.)

        2

        47.995to 47.996 mm (1.88956 to 1.88960 in.)

        3

        47.993 to 47.994 mm (1.88948 to 1.88952 in.)

        4

        47.991 to 47.992 mm (1.88941 to 1.88945 in.)

        5

        47.988 to 47.990 mm (1.88929 to 1.88937 in.)

    3. Inspect the crank pin.

      1. ZF06928

        Using a micrometer, measure the diameter of each crank pin.

        Standard diameter

        43.992 to 44.000 mm (1.7320 to 1.7323 in.)

        If the diameter is not as specified, check the connecting rod oil clearance.

      2. Inspect each crank pin for taper and distortion.

        Maximum taper and distortion

        0.004 mm (0.000157 in.)

        If the taper and distortion are more than the maximum, replace the crankshaft.

  10. INSPECT CRANKSHAFT OIL CLEARANCE

    1. Check the crankshaft journals and bearings for pitting and scratches.

    2. Install the crankshaft bearings (Click here).

    3. Install the upper crankshaft thrust washers (Click here).

    4. Clean each main journal and bearing.

    5. Place the crankshaft on the cylinder block.

    6. A151012E02

      Lay a strip of Plastigage across each journal.

      Table 3. Text in Illustration

      *1

      Plastigage

    7. Examine the front marks and numbers and place the bearing caps on the cylinder block.

      Tip:

      A number is marked on each crankshaft bearing cap to indicate the installation position.

    8. Install the crankshaft bearing caps (Click here).

      Note:

      Do not turn the crankshaft.

    9. Remove the crankshaft bearing caps (Click here).

    10. Measure the Plastigage at its widest point.

      A205916E02

      Standard oil clearance

      0.016 to 0.039 mm (0.000630 to 0.00154 in.)

      Maximum oil clearance

      0.050 mm (0.00197 in.)

      If the oil clearance is more than the maximum, replace the crankshaft bearing. If necessary, replace the crankshaft.

      Note:

      Remove the Plastigage completely after the measurement.

      Tip:

      If replacing a bearing, select a new one with the same number. If the number of the bearing cannot be determined, calculate the correct bearing number by adding together the numbers imprinted on the cylinder block and crankshaft. Then select a new bearing with the calculated number according to the chart below. There are 4 sizes of standard bearings, marked "1", "2", "3" and "4" accordingly.

      • Example:

        Cylinder block "3" + Crankshaft "5" = Total number 8 (Use bearing "3")

        Table 4. Bearing Chart

        Cylinder Block + Crankshaft

        Bearing to be Used

        0 to 2

        "1"

        3 to 5

        "2"

        6 to 8

        "3"

        9 to 11

        "4"

      Standard Cylinder Block Journal Bore Diameter

      Item

      Specified Condition

      Mark 0

      52.000 to 52.002 mm (2.04724 to 2.04732 in.)

      Mark 1

      52.003 to 52.004 mm (2.04736 to 2.04740 in.)

      Mark 2

      52.005 to 52.006 mm (2.04744 to 2.04748 in.)

      Mark 3

      52.007 to 52.009 mm (2.04752 to 2.04759 in.)

      Mark 4

      52.010 to 52.011 mm (2.04763 to 2.04767 in.)

      Mark 5

      52.012 to 52.013 mm (2.04771 to 2.04775 in.)

      Mark 6

      52.014 to 52.016 mm (2.04779 to 2.04787 in.)

      Standard Crankshaft Journal Diameter

      Item

      Specified Condition

      Mark 0

      47.999 to 48.000 mm (1.88972 to 1.88976 in.)

      Mark 1

      47.997 to 47.998 mm (1.88964 to 1.88968 in.)

      Mark 2

      47.995 to 47.996 mm (1.88956 to 1.88961 in.)

      Mark 3

      47.993 to 47.994 mm (1.88948 to 1.88952 in.)

      Mark 4

      47.991 to 47.992 mm (1.88941 to 1.88945 in.)

      Mark 5

      47.988 to 47.990 mm (1.88929 to 1.88937 in.)

      Standard Bearing Center Wall Thickness

      Item

      Specified Condition

      Mark 1

      1.994 to 1.997 mm (0.07850 to 0.07862 in.)

      Mark 2

      1.998 to 2.000 mm (0.07866 to 0.07874 in.)

      Mark 3

      2.001 to 2.003 mm (0.07878 to 0.07886 in.)

      Mark 4

      2.004 to 2.006 mm (0.07890 to 0.07898 in.)

  11. INSPECT CRANKSHAFT BEARING CAP BOLT

    1. A209192E01

      Using a vernier caliper, measure the length of the crankshaft bearing cap bolt from the seat to end.

      Standard bolt length

      84.3 to 85.7 mm (3.32 to 3.37 in.)

      Maximum bolt length

      86.7 mm (3.41 in.)

      If the length is more than the maximum, replace the crankshaft bearing cap bolt.

    2. Using a vernier caliper, measure the diameter of the elongated thread at the measuring area.

      Distance

      55.0 mm (0.197 in.)

      Standard diameter

      9.77 to 9.96 mm (0.385 to 0.392 in.)

      Minimum diameter

      9.1 mm (0.358 in.)

      If the diameter is less than the minimum, replace the crankshaft bearing cap bolt.

  12. INSPECT CONNECTING ROD BOLT

    1. A109692E05

      Using a vernier caliper, measure the tension portion diameter of the bolt.

      Standard diameter

      6.6 to 6.7 mm (0.260 to 0.264 in.)

      Minimum diameter

      6.4 mm (0.252 in.)

      If the diameter is less than the minimum, replace the connecting rod bolt.

  13. INSPECT NO. 1 OIL NOZZLE SUB-ASSEMBLY

    1. A198191

      Push the check valve with a pin to check if it is stuck.

      If stuck, replace the No. 1 oil nozzle.

    2. Push the check valve with a pin to check if it moves smoothly.

      If it does not move smoothly, clean or replace the No. 1 oil nozzle.

    3. U110416E01

      Apply air into A. Check that air does not leak through B.

      If air leaks, clean or replace the No. 1 oil nozzle.

    4. U110417E01

      Push the check valve while applying air into A. Check that air passes through B.

      If air does not pass through B, clean or replace the No. 1 oil nozzle.