With the front body pillar lower gusset removed.
Follow the welding conditions below when welding ultra high strength steel to assure sufficient weld strength. (When repairing this model)
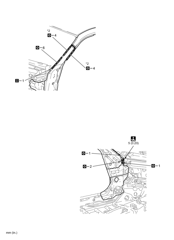
*1: When welding 2 panels together including 980 MPa ultra high strength steel.
| Spot weld | Pressure | 2940 N (300 kgf, 661 lbf) |
| Weld current | 10000 A | |
| Weld time | 18 Cyc. (0.30 Sec.) | |
| Plug weld | Plug diameter | 10 mm (0.39 in.) |
| Wire type | AWS A5.18 ER70S-3 | |
| Shield gas | Metal active gas |
*2: When welding more than 3 panels together including 980 MPa ultra high strength steel. (When plug welding a third panel to 2 panels which are welded under the conditions described above.)
| Plug weld | Plug diameter | Same as the standard method (See the introduction) |
| Wire type | AWS A5.18 ER70S-3 | |
| Shield gas | Metal active gas |
REMOVAL
| Symbol meaning | |
|---|---|
|
Remove Weld Points |
|
Remove Weld Points |
|
Remove Weld Points |
|
Cut with Disc Sander etc. |
|
Cut and Join Location |
REMOVAL POINT
Do not butt weld or heat repair because the heat decreases the strength of areas where ultra high strength steel is used. (See the introduction)
INSTALLATION
| Symbol meaning | |
|---|---|
|
Spot Weld |
|
Plug Weld |
|
Plug Weld |
|
Plug Weld |
|
Cut and Join Location |
|
Fillet Weld |
|
Butt Weld |
|
Body Sealer |
INSTALLATION POINT
Inspect the fitting of the related parts around the new parts before welding. This affects the appearance of the finish.
Temporarily install the new parts and measure each part of the new parts in accordance with the body dimension diagram. (See the body dimensions)
If the entire supply part is not needed, remove the part of the supply part that is needed.
Before installing a new part, apply body sealer.
Tech Tips
Apply body sealer in an even, continuous bead.
Follow the welding conditions when welding *1 and *2 to assure sufficient weld strength. (See the introduction)
Before temporarily installing the new parts, weld the front body pillar sub-assembly inner and front pillar extension lower with the standard number of welding points.
When welding *3, make a hole on a new part for plug welding and weld the panel with the panel behind completely.
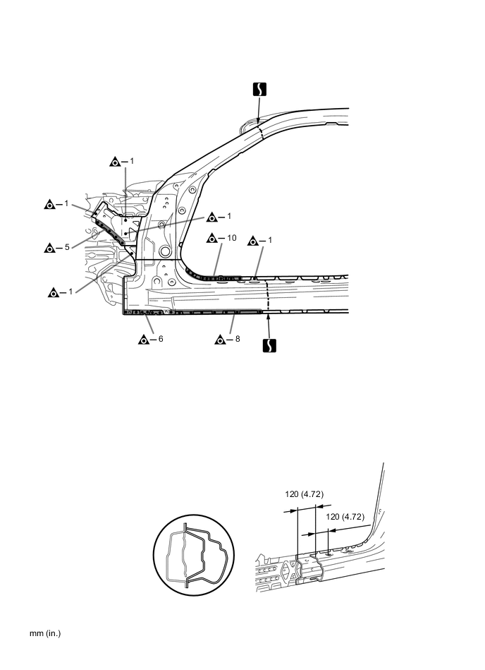
After welding the front body lower inner pillar the vehicle side, install the front body pillar sub-assembly inner and front pillar extension lower.
After welding the front body lower inner pillar, front body pillar sub-assembly inner and front pillar extension lower the vehicle side, install the rocker reinforce sub-assembly outer.
After welding the front body lower inner pillar, front body pillar sub-assembly inner, front pillar extension lower and rocker reinforce sub-assembly outer the vehicle side, install the front body pillar reinforce sub-assembly lower.
After welding the front body lower inner pillar, front body pillar sub-assembly inner, front pillar extension lower, rocker reinforce sub-assembly outer and front body pillar reinforce sub-assembly lower the vehicle side, install the front body pillar upper outer and rocker panel outer rear.
After welding, apply body sealer to the corresponding parts. (See the painting / coating)
After applying the top coat, apply anti-rust agent to the internal panel portion of the closed section structural weld points.
| *1 | FRONT BODY PILLAR UPPER OUTER |
| *2 | ROCKER PANEL OUTER REAR |