БОКОВАЯ ПОДУШКА БЕЗОПАСНОСТИ ПЕРЕДНИХ СИДЕНИЙ В СБОРЕ СНЯТИЕ С ЭКСПЛУАТАЦИИ

ПРЕДОСТЕРЕЖЕНИЕ / ПРИМЕЧАНИЕ / УКАЗАНИЕ

CAUTION:

Перед выполнением развертывания каких-либо деталей системы SRS с целью утилизации внимательно изучите все действующие экологические нормы и правила работы с опасными материалами и обеспечьте их соблюдение. Эта операция может считаться обращением с опасными материалами.

ПОРЯДОК ВЫПОЛНЕНИЯ

  1. МЕРЫ ПРЕДОСТОРОЖНОСТИ

    CAUTION:
    • Подушка безопасности или преднатяжитель ремня безопасности может случайно сработать от разряда статического электричества. Во избежание подобной ситуации перед выполнением данной процедуры необходимо прикоснуться голой рукой к металлическому предмету.

    • B394953

      Не допускается утилизация подушки безопасности переднего сиденья в сборе с неразвернутой подушкой безопасности.

    • Подушка безопасности при развертывании издает громкий хлопок, поэтому работы следует проводить на открытом пространстве, чтобы не причинять неудобства жителям близлежащих домов.

      B401137
    • Для активации подушки безопасности всегда применяйте предназначенный для этого SST (приспособление для срабатывания подушек безопасности SRS). Все операции следует выполнять в безопасном месте, удаленном от источников электрических помех.

    • При развертывании подушки безопасности переднего сиденья следует находиться от нее на расстоянии не менее 10 м (32,8 фута).

    • При развертывании подушка безопасности передних сидений в сборе сильно нагревается. Поэтому не прикасайтесь к ней, как минимум, в течение 30 минут после развертывания.

    • Для работы с развернутой подушкой безопасности передних сидений в сборе обязательно надевайте специальные перчатки и защитные очки.

    • Не допускайте попадания воды и пр. на подушку безопасности передних сидений в сборе после развертывания подушки.

    • По завершении работ всегда мойте руки водой.

    Tip:

    При сдаче в лом автомобиля, оснащенного системой SRS, или снятии с эксплуатации подушки безопасности передних сидений в сборе сначала разверните подушку безопасности в соответствии с описанной ниже процедурой. При обнаружении неисправностей, связанных со срабатыванием подушки безопасности, обращайтесь в Отдел технического обслуживания фирмы-дистрибьютора.

  2. УТИЛИЗАЦИЯ ПОДУШКИ БЕЗОПАСНОСТИ ПЕРЕДНЕГО СИДЕНЬЯ В СБОРЕ (если она установлена в автомобиле)

    Note:
    • При утилизации только подушки безопасности передних сидений в сборе не разворачивайте ее в автомобиле клиента.

    • При развертывании подушки безопасности обязательно соблюдайте приведенные ниже инструкции.

    Tip:

    Подготовьте аккумуляторную батарею как источник питания для развертывания подушки безопасности.

    1. C110371N08

      Проверьте работоспособность SST.

      Нажмите здесьClick here

      09082-00700

    2. См. раздел "Меры предосторожности".

      Нажмите здесьClick hereClick here

    3. Отсоедините провод от отрицательного (-) вывода аккумуляторной батареи.

      B422343
      CAUTION:

      После отсоединения провода от отрицательного (-) вывода аккумуляторной батареи подождите не менее 90 с, чтобы предотвратить срабатывание системы SRS.

    4. Отсоедините разъем от подушки безопасности передних сидений в сборе под передним сиденьем в сборе.

      Note:

      При разъединении разъемов подушки безопасности будьте осторожны, чтобы не повредить жгут проводов подушки безопасности.

      1. B474821C01

        *a

        Белый замок корпуса

        *b

        Желтый CPA

        V113147

        Направление сдвига

        Прижмите белый замок корпуса и сдвиньте желтый механизм фиксации положения разъема. (Теперь разъем не может случайно разъединиться.)

      2. Прижмите белый замок корпуса снова и разъедините разъем.

        Note:

        При разъединении разъема старайтесь не прижать часть (A), показанную на рисунке.

    5. Установите SST.

      B420114
      CAUTION:

      Убедитесь, что крепление переднего сиденья не ослаблено.

      1. B468735N01

        После соединения следующих SST между собой подключите их к передней подушке безопасности.

        09082-00700

        09082-00820

        Note:

        Во избежание повреждения разъема SST или жгута проводов не закрывайте дополнительный замок парного замка.

      2. C154370C17

        *a

        Battery

        *b

        10 м (32,8 фута) или более

        Переместите SST на расстояние не менее 10 м (32,8 фута) от переднего бокового окна автомобиля.

      3. Жгут проводов SST должен обеспечивать достаточное расстояние до переднего бокового окна. Закройте все двери и окна автомобиля.

        Note:

        Соблюдайте осторожность, чтобы не повредить жгут проводов SST.

      4. Подсоедините красный зажим SST к положительному (+) выводу аккумуляторной батареи, а черный – к отрицательному (-) выводу.

    6. Разверните подушку безопасности.

      1. Никто не должен находиться внутри автомобиля и на расстоянии до 10 м (32,8 фута) от него.

      2. Нажмите на активационный выключатель SST, чтобы развернуть подушку безопасности.

        CAUTION:
        • B400936

          Перед развертыванием убедитесь, что внутри автомобиля или рядом с ним нет людей.

        • B394947

          При развертывании подушка безопасности передних сидений в сборе сильно нагревается. Поэтому не прикасайтесь к ней, как минимум, в течение 30 минут после развертывания.

        • B394951

          Для работы с развернутой подушкой безопасности передних сидений в сборе обязательно надевайте специальные перчатки и защитные очки.

        • B394948

          Не допускайте попадания воды и пр. на подушку безопасности передних сидений в сборе после развертывания подушки.

        • По завершении работ всегда мойте руки водой.

        Tip:

        Подушка безопасности развертывается в момент загорания светодиодного индикатора выключателя SST.

  3. УТИЛИЗАЦИЯ ПОДУШКИ БЕЗОПАСНОСТИ ПЕРЕДНЕГО СИДЕНЬЯ В СБОРЕ (если она не установлена в автомобиле)

    Note:

    При развертывании подушки безопасности обязательно соблюдайте приведенные ниже инструкции.

    Tip:

    Подготовьте аккумуляторную батарею как источник питания для развертывания подушки безопасности.

    1. C110371N08

      Проверьте работоспособность SST.

      Нажмите здесьClick here

      09082-00700

    2. Снимите подушку безопасности передних сидений в сборе.

      Нажмите здесьClick hereClick hereClick here

      CAUTION:
      • B422343

        При снятии переднего сиденья в сборе работы следует начинать не ранее, чем через 90 секунд после выключения зажигания и отсоединения провода от отрицательного (-) вывода аккумуляторной батареи.

      • B417760C02
        V100155

        Сторона разворачивания

        При помещении подушки безопасности передних сидений в сборе на хранение ее следует укладывать поверхностью, в направление которой происходит развертывание, вверх.

    3. B104882C16

      *a

      Диаметр провода

      *b

      Площадь поперечного сечения провода без изоляции

      При помощи скрученного провода привяжите подушку безопасности переднего сиденья к ненужной шине.

      Провод

      Площадь поперечного сечения провода без изоляции

      1,25 мм2 (0,0019 дюйма2) или более

      CAUTION:

      При использовании для фиксации передней подушки безопасности слишком тонкого провода или альтернативного приспособления при развертывании подушки безопасности фиксирующее приспособление может разорваться. Используйте только специальные автомобильные провода сечением не менее 1,25 мм 2 (0,0019 дюйма2).

      Tip:

      Формула расчета площади поперечного сечения жилы:

      Площадь сечения = 3,14 x (диаметр)2 разделить на 4

      1. B279752

        Наживите 2 гайки на подушку безопасности передних сидений в сборе.

      2. B279753

        Обмотайте 2 или более провода вокруг резьбовых шпилек подушки безопасности передних сидений, как показано на рисунке.

      3. B279754C01

        *a

        Ширина

        *b

        Внутренний диаметр

        Разместите подушку безопасности передних сидений так, чтобы при развертывании усилие направлялось внутрь шины.

        Минимальный размер шины

        Ширина

        185 мм (7,28 дюйма)

        Внутренний диаметр

        360 мм (1,18 фута)

        CAUTION:
        • Провода должны быть плотно натянуты. Если намотать провода слабо, во время развертывания передняя подушка безопасности может оторваться.

        • B417761C01
          V100155

          Сторона разворачивания

          Всегда привязывайте переднюю подушку безопасности с обращенной внутрь шины стороной развертывания.

        Note:

        Поскольку при развертывании подушки безопасности шина может быть повреждена, используйте ненужную шину.

    4. Установите SST.

      1. B279755N01

        Подсоедините разъем SST к разъему боковой подушки безопасности передних сидений в сборе.

        09082-00820

    5. Установите шины.

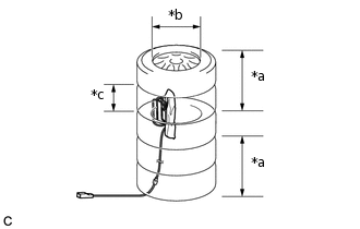
      1. B289035C03

        *a

        Шины (2 или более)

        *b

        Внутренний диаметр

        *c

        Ширина

        Под шину, к которой привязана подушка безопасности передних сидений в сборе, подложите, как минимум, две шины.

        Минимальный размер шины

        Ширина

        185 мм (7,28 дюйма)

        Внутренний диаметр

        360 мм (1,18 фута)

        Note:

        Не размещайте разъем SST под шиной, так как это может привести к его повреждению.

      2. На шину, к которой привязана подушка безопасности переднего сиденья, положите, как минимум, 2 шины. В верхней шине должен быть установлен диск.

        Note:

        Поскольку при развертывании подушки безопасности шины и диски могут получить повреждения, используйте ненужные шины и диски.

      3. C223306

        Свяжите шины между собой с помощью двух проводов.

        CAUTION:

        Провода должны быть плотно натянуты. Слабина проводов приводит к расцеплению шин при развертывании подушки безопасности.

    6. Установите SST.

      1. B279757C03

        *1

        Подушка безопасности передних сидений в сборе

        *a

        Battery

        *b

        10 м (32,8 фута) или более

        Подсоедините разъем SST.

        09082-00700

        Note:

        Во избежание повреждения разъема SST или жгута проводов не закрывайте дополнительный замок парного замка. Кроме того, обеспечьте небольшое провисание жгута проводов SST внутри покрышки

      2. Переместите SST на расстояние не менее 10 м (32,8 фута) от подушки безопасности, привязанной к шине.

    7. Разверните подушку безопасности.

      1. Подсоедините красный зажим SST к положительному (+) выводу аккумуляторной батареи, а черный – к отрицательному (-) выводу.

      2. Убедитесь, что в радиусе 10 м (32,8 футов) от шины, к которой привязана подушка безопасности передних сидений в сборе, никого нет.

      3. Нажмите на активационный выключатель SST, чтобы развернуть подушку безопасности.

        B401768
        CAUTION:

        При развертывании подушки безопасности рядом с ней не должно быть людей.

        Tip:

        Подушка безопасности развертывается в момент загорания светодиодного индикатора выключателя SST.

    8. Утилизируйте подушку безопасности передних сидений в сборе.

      CAUTION:
      • B399354

        При развертывании подушка безопасности передних сидений в сборе сильно нагревается. Поэтому не прикасайтесь к ней, как минимум, в течение 30 минут после развертывания.

      • B394952

        Для работы с развернутой подушкой безопасности передних сидений в сборе обязательно надевайте специальные перчатки и защитные очки.

      • B399355

        Не допускайте попадания воды и пр. на подушку безопасности передних сидений в сборе после развертывания подушки.

      • По завершении работ всегда мойте руки водой.

      1. Снимите подушку безопасности передних сидений в сборе с шины.

      2. Уложите переднюю подушку безопасности в полиэтиленовый пакет, надежно завяжите его и утилизируйте в соответствии с местными нормами.