AIR CONDITIONING PRESSURE SENSOR ON-VEHICLE INSPECTION

PROCEDURE

  1. INSPECT AIR CONDITIONER PRESSURE SENSOR

    1. I110353C12

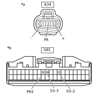
      *a

      Component without harness connected

      (Air Conditioner Pressure Sensor)

      *b

      Component without harness connected

      (Air Conditioning Amplifier Assembly)

      Check the wire harness.

      1. Disconnect the A34 air conditioner pressure sensor connector.

      2. Disconnect the G81 air conditioning amplifier assembly connector.

      3. Measure the resistance according to the value(s) in the table below.

        Standard Resistance

        Tester Connection

        Condition

        Specified Condition

        A34-1 (-) - G81-13 (SG-2)

        Always

        Below 1 Ω

        A34-2 (PR) - G81-9 (PRE)

        Always

        Below 1 Ω

        A34-3 (+) - G81-10 (S5-3)

        Always

        Below 1 Ω

        A34-1 (-) - Body ground

        Always

        10 kΩ or higher

        A34-2 (PR) - Body ground

        Always

        10 kΩ or higher

        A34-3 (+) - Body ground

        Always

        10 kΩ or higher

        • If the resistance is not as specified, repair the wire harness.

      4. E202734C46

        *a

        Component with harness connected

        (Air Conditioning Amplifier Assembly)

        Reconnect the G81 air conditioning amplifier assembly connector.

      5. Turn the power switch to ON.

      6. Measure the voltage according to the value(s) in the table below.

        Standard Voltage

        Tester Connection

        Condition

        Specified Condition

        A34-3 (+) - Body ground

        Power switch ON

        4.75 to 5.25 V

        A34-3 (+) - Body ground

        Power switch off

        Below 1 V

        • If the voltage is not as specified, replace the air conditioning amplifier assembly.

    2. Check the air conditioner pressure sensor.

      1. Install a manifold gauge set.

      2. Connect the A34 air conditioner pressure sensor connector.

      3. Start the engine.

      4. Turn the A/C switch on.

      5. E227427C22

        *a

        Component with harness connected

        (Air Conditioning Amplifier Assembly)

        Measure the voltage according to the value(s) in the table below.

        Tip:

        Check from the rear of the connector while it is connected to the air conditioning amplifier assembly.

        Standard Voltage

        Tester Connection

        Condition

        Specified Condition

        G81-9 (PRE) - G81-13 (SG-2)

        Refrigerant pressure:

        (less than 3025 kPa (30.8 kgf/cm2, 439 psi) and more than 176 kPa (1.8 kgf/cm2, 26 psi))

        0.74 to 4.62 V

        • If the voltage is not as specified, replace the air conditioner pressure sensor.