СИСТЕМА ОСВЕЩЕНИЯ Цепь реле заднего габаритного освещения

Код DTC Наименование DTC
Цепь реле задних фонарей

ОПИСАНИЕ

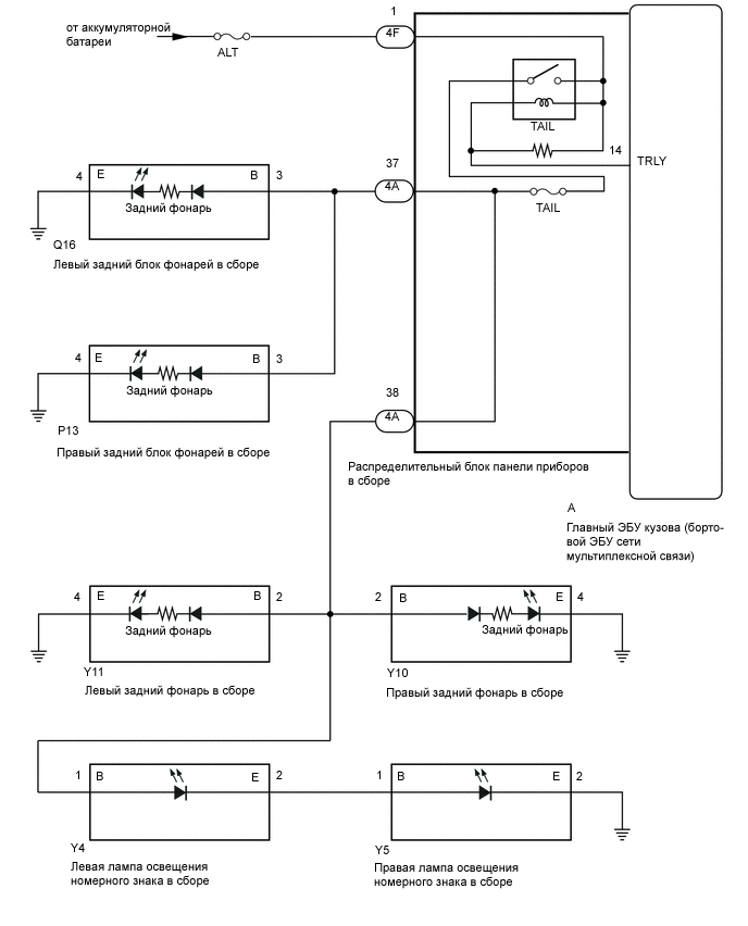
Включение задних фонарей и ламп освещения номерного знака осуществляется под управлением главного ЭБУ кузова (бортового ЭБУ сети мультиплексной связи).

СХЕМА СОЕДИНЕНИЙ

E298993E05

ПРЕДОСТЕРЕЖЕНИЕ / ПРИМЕЧАНИЕ / УКАЗАНИЕ

Note:
  • Перед выполнением последующей процедуры проверки проверьте плавкие предохранители цепей, относящихся к данной системе.

  • В случае замены главного ЭБУ кузова (бортового ЭБУ сети мультиплексной связи) обратитесь к бюллетеню технического обслуживания.

  • Поскольку аккумуляторная батарея системы блокировки дверей устанавливается между аккумуляторной батареей автомобиля и главным ЭБУ кузова (бортовым ЭБУ сети мультиплексной связи), перед выполнением данной процедуры диагностики сначала выполните проверку без снятия с автомобиля, чтобы убедиться в отсутствии неисправностей в цепи питания главного ЭБУ кузова (бортового ЭБУ сети мультиплексной связи).*

    *: для моделей с батареей системы блокировки дверей

ПОРЯДОК ВЫПОЛНЕНИЯ

  1. ВЫПОЛНИТЕ АКТИВНУЮ ДИАГНОСТИКУ С ПОМОЩЬЮ GTS (TAILLIGHT RELAY)

    1. При помощи GTS выполните активную диагностику.

      Нажмите здесьClick hereClick hereClick here

      Body Electrical > Main Body > Active Test

      Информация на дисплее прибора

      Измеряемая величина

      Диапазон регулирования

      Замечание по диагностике

      Реле задних фонарей

      Реле задних фонарей

      ON (ВКЛ) или OFF (ВЫКЛ)

      -

      Body Electrical > Main Body > Active Test

      Информация на дисплее прибора

      Реле задних фонарей

    Result

    Перейдите к

    Задние фонари и лампы освещения номерного знака включаются

    Задние фонари и лампы освещения номерного знака не включаются

    Задние фонари и лампы освещения номерного знака включаются

    ПЕРЕЙДИТЕ К СЛЕДУЮЩЕМУ ПРЕДПОЛАГАЕМОМУ УЧАСТКУ, УКАЗАННОМУ В ТАБЛИЦЕ ПРИЗНАКОВ НЕИСПРАВНОСТЕЙ

    Нажмите здесьClick hereClick hereClick here

    Задние фонари и лампы освещения номерного знака не включаются
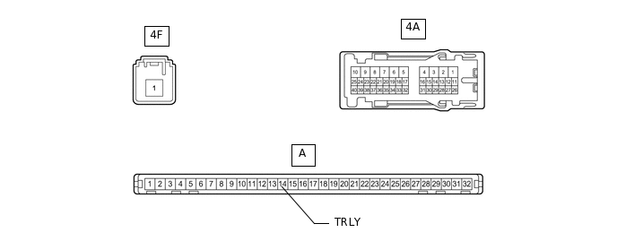
  2. ПРОВЕРЬТЕ ЖГУТ ПРОВОДОВ И РАЗЪЕМ (РАСПРЕДЕЛИТЕЛЬНЫЙ БЛОК ПАНЕЛИ ПРИБОРОВ - АККУМУЛЯТОРНАЯ БАТАРЕЯ)

    1. Отсоедините разъем распределительного блока панели приборов.

    2. E272285C04

      *a

      Вид спереди разъема со стороны жгута проводов:

      (к распределительному блоку панели приборов в сборе)

      Измерьте напряжение в соответствии со значениями, приведенными в таблице.

      Номинальное напряжение

      Подключение диагностического прибора

      Условие

      Номинальное значение

      4F-1 - масса

      Всегда

      11-14 В

    Result

    Перейти к

    OK

    НЕ СООТВ.

    НЕ СООТВ.

    ОТРЕМОНТИРУЙТЕ ИЛИ ЗАМЕНИТЕ ЖГУТ ПРОВОДОВ ИЛИ РАЗЪЕМ

    СООТВ
  3. ПРОВЕРЬТЕ РАСПРЕДЕЛИТЕЛЬНЫЙ БЛОК ПАНЕЛИ ПРИБОРОВ В СБОРЕ

    1. Снимите распределительный блок панели приборов в сборе.

      Для моделей с левосторонним рулевым управлением:

      Нажмите здесьClick here

      Для моделей с правосторонним рулевым управлением:

      Нажмите здесьClick here

      E298994E02
    2. Снимите распределительный блок панели приборов в сборе.

      Для моделей с левосторонним рулевым управлением:

      Нажмите здесьClick here

      Для моделей с правосторонним рулевым управлением:

      Нажмите здесьClick here

    3. Измерьте напряжение в соответствии со значениями, приведенными в таблице.

      Номинальное напряжение

      Подключение диагностического прибора

      Условие

      Заданные условия

      4A-37 - отрицательный вывод аккумуляторной батареи

      Напряжение аккумуляторной батареи подается на контакты 4F-1 и A-14 (TRLY)

      11-14 В

      Напряжение аккумуляторной батареи не подается на контакты 4F-1 и A-14 (TRLY)

      Менее 1 В

      4A-38 - отрицательный вывод аккумуляторной батареи

      Напряжение аккумуляторной батареи подается на контакты 4F-1 и A-14 (TRLY)

      11-14 В

      Напряжение аккумуляторной батареи не подается на контакты 4F-1 и A-14 (TRLY)

      Менее 1 В

    Результат

    Перейти к

    OK

    НЕ СООТВ.

    OK

    ЗАМЕНИТЕ ГЛАВНЫЙ ЭБУ КУЗОВА (БОРТОВОЙ ЭБУ СЕТИ МУЛЬТИПЛЕКСНОЙ СВЯЗИ)

    Для моделей с левосторонним рулевым управлением:

    Нажмите здесьClick here

    Для моделей с правосторонним рулевым управлением:

    Нажмите здесьClick here

    NG

    ЗАМЕНИТЕ РАСПРЕДЕЛИТЕЛЬНЫЙ БЛОК ПАНЕЛИ ПРИБОРОВ В СБОРЕ

    Для моделей с левосторонним рулевым управлением:

    Нажмите здесьClick here

    Для моделей с правосторонним рулевым управлением:

    Нажмите здесьClick here