ЗАДНЯЯ БОКОВАЯ ПАНЕЛЬ ОТРЕЗАЕМЫЕ И СТЫКУЕМЫЕ СМЕННЫЕ ЧАСТИ
Замена наружной задней боковой панели с использованием герметика
Порядок выполнения работ
Обрежьте часть колесной дуги.
Прогрейте участок наружной задней боковой панели, предназначенный для нанесения герметика, и снимите наружную заднюю боковую панель.
Tip:С помощью промышленного теплового пистолета или газовой горелки разогрейте наружную заднюю боковую панель до 110-140°C. Убедитесь, что боковая панель не деформировалась.
Удалите с автомобиля остатки герметика.
Tip:С помощью промышленного теплового пистолета или газовой горелки разогрейте герметик-фиксатор до 110-140°C.
С помощью скребка снимите герметик.
Если удалить герметик не полностью, адгезия герметика, нанесенного впоследствии, будет слабой.
С помощью дисковой или ленточной шлифовальной машины сошлифуйте с автомобиля остатки герметика.
Tip:Очищенный участок должен быть примерно на 10 мм (0,39 дюйма) шире ранее нанесенного покрытия.
Нанесите герметик на очищенную металлическую поверхность кузова. Разровняйте герметик с помощью шпателя.
Повторно нанесите герметик на кузов.
Наждачной бумагой № 60-120 обработайте поверхность нанесения герметика на новой наружной задней боковой панели.
Нанесите герметик на новую наружную заднюю боковую панель. Разровняйте герметик с помощью шпателя.
С помощью зажимного приспособления или ладонями рук прижмите наружную заднюю боковую панель, чтобы выровнять толщину слоя герметика.
Окончательно установите наружную заднюю боковую панель.
Высушите слой герметика, нанесенный на наружную заднюю боковую панель.
Tip:При использовании осушителя или аналогичного устройства (60°C): 60 мин (полное отверждение: 90 мин)
При температуре окружающего воздуха (25°C): 12 часов (полное отверждение: 24 часа)
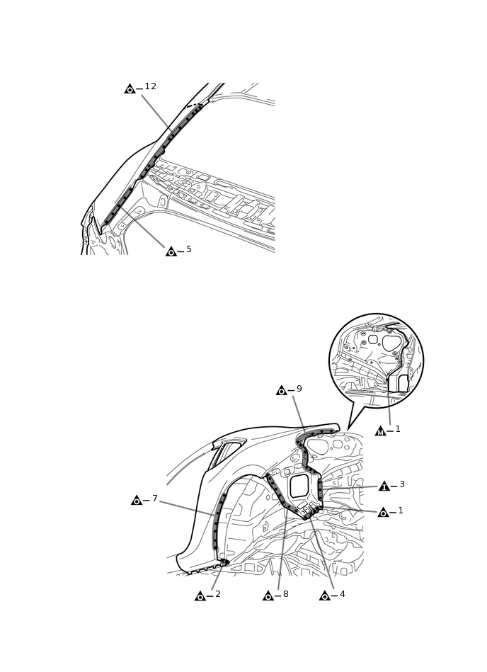
СНЯТИЕ
Значения символов

Точки сварки при снятии

Точки сварки при снятии

Точки сварки при снятии

Место разрезания и соединения

Место разрезания на запасные части
УСТАНОВКА
Значения символов

Точечная сварка

Сварка электрозаклепкой

Сварка электрозаклепкой

Сварка электрозаклепкой

Стыковой сварной шов
ТОЧКА СНЯТИЯ
*1 на рисунке выше обозначает место нанесения герметика.
Разрежьте панель приблизительно таким образом, чтобы можно было добраться до герметика. Разрежьте герметик с помощью зубила таким образом, чтобы можно было снять панель.
Tip:В случае, если герметик не удается снять с помощью зубила, прогрейте герметик с помощью промышленного теплового пистолета или газовой горелки, следя за тем, чтобы не деформировать панель в результате перегрева.
ТОЧКА УСТАНОВКИ
Проверьте сопряжение новых деталей с прилегающими деталями кузова перед сваркой. От того, насколько правильно сопрягаются детали друг с другом, будет зависеть после сборки внешний вид узла и всего автомобиля.
Установите не закрепляя новые детали и измерьте необходимые размеры в соответствии со схемой измерений (См. размеры кузова.)
При сварке детали *1 проделайте отверстие в новой детали для сварки электрозаклепкой и полностью приварите панель к панели сзади.
Нанеситегерметик-фиксатор (3MTM AutomixTM Panel Bonding Adhesive #8115) на участок, обозначенный *2 на
Tip:Нанесите на панели достаточное количество герметика, чтобы склеить их друг с другом.
Проведите точечную сварку на фланце, обозначенном *3 на рисунке. Видоизмените/обрежьте электрод для точечной сварки, как показано на рисунке *4, чтобы его можно было вставить в узкий фланец.
После сварки нанесите герметик для кузова на соответствующие детали (См. раздел "Лакокрасочное покрытие".)
После нанесения верхнего слоя покрытия нанесите антикоррозийное средство на сварные точки несущих рабочую нагрузку швов замкнутого профиля с внутренней стороны панели.