LIGHTING SYSTEM, Diagnostic DTC:B2430, B2431

DTC Code DTC Name
B2430 LED Headlight LH Circuit Malfunction
B2431 LED Headlight RH Circuit Malfunction

DESCRIPTION

These DTCs are stored when the low beam headlights do not illuminate, or a malfunction is detected in the communication between the headlight assembly and main body ECU (multiplex network body ECU).

DTC No. DTC Detection Condition Trouble Area
B2430 LED headlight LH circuit malfunction
  • Light control ECU LH

  • Headlight unit LH

  • No. 1 integration relay

  • Harness or connector

  • Main body ECU (multiplex network body ECU)

B2431 LED headlight RH circuit malfunction
  • Light control ECU RH

  • Headlight unit RH

  • No. 1 integration relay

  • Harness or connector

  • Main body ECU (multiplex network body ECU)

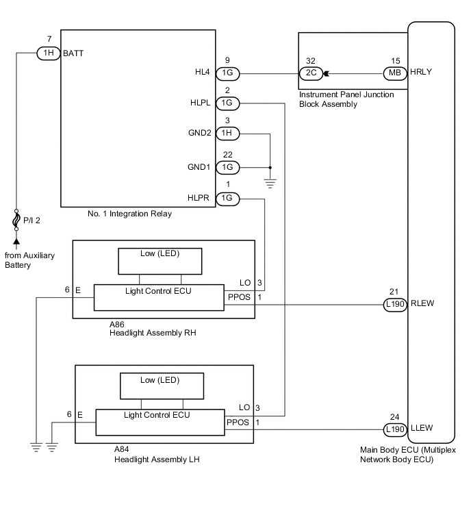
WIRING DIAGRAM

B005ZC8E10

CAUTION / NOTICE / HINT

Note

Inspect the fuses for circuits related to this system before performing the following inspection procedure.

PROCEDURE


  1. CHECK FOR DTC


    1. Clear the DTCs Click here.

    2. Check for DTCs Click here.

      Result
      Result Proceed to
      Both DTC B2430 and B2431 are not output. A
      Both DTC B2430 and B2431 are output. B
      DTC B2430 or B2431 is output. C

    A
    C
    B
  2. CHECK HARNESS AND CONNECTOR (NO. 1 INTEGRATION RELAY - AUXILIARY BATTERY AND BODY GROUND)


    1. Disconnect the 1H No. 1 integration relay connector.

    2. Measure the voltage and resistance according to the value(s) in the table below.

      Standard Voltage
      Tester Connector Condition Specified Condition
      1H-7 (BATT) - Body ground Power switch off 11 to 14 V
      Standard Resistance
      Tester Connection Condition Specified Condition
      1H-3 (GND2) - Body ground Always Below 1 Ω
    3. Disconnect the 1G integration relay connector.

    4. Measure the resistance according to the value(s) in the table below.

      Standard Resistance
      Tester Connection Condition Specified Condition
      1G-22 (GND1) - Body ground Always Below 1 Ω

    NG
    OK
  3. CHECK HARNESS AND CONNECTOR (NO. 1 INTEGRATION RELAY - INSTRUMENT PANEL JUNCTION BLOCK ASSEMBLY)


    1. Disconnect the 2C instrument panel junction block assembly connector.

    2. Measure the resistance according to the value(s) in the table below.

      Standard Resistance
      Tester Connection Condition Specified Condition
      1G-9 (HL4) - 2C-32 Always Below 1 Ω
      1G-9 (HL4) - Body ground Always 10 kΩ or higher

    NG
    OK
  4. INSPECT INSTRUMENT PANEL JUNCTION BLOCK ASSEMBLY


    1. B005ZICE01
      Text in Illustration
      *a

      Component without harness connected

      (Instrument Panel Junction Block Assembly)

      Remove the instrument panel junction block assembly Click here.

    2. Measure the resistance according to the value(s) in the table below.

      Standard Resistance
      Tester Connection Condition Specified Condition
      2C-32 - MB-15 (HRLY) Always Below 1 Ω
      2C-32 - Body ground Always 10 kΩ or higher

    NG
    OK
  5. CHECK NO. 1 INTEGRATION RELAY


    1. Replace the No. 1 integration relay with a new or known good one Click here.

    2. Check for DTCs Click here.

      OK
      DTC B2430 and B2431 are not output.

    OK
    NG
  6. INSPECT HEADLIGHT ASSEMBLY


    1. Disconnect the A84 headlight assembly LH connector or the A86 headlight assembly RH connector.

    2. Measure the voltage according to the value(s) in the table below.

      Standard Voltage
      LH Side (B2430)
      Tester Connection Condition Specified Condition
      A84-3 (LO) - Body ground Light control switch in head position 11 to 14 V
      RH Side (B2431)
      Tester Connection Condition Specified Condition
      A86-3 (LO) - Body ground Light control switch in head position 11 to 14 V

    NG
    OK
  7. INSPECT MAIN BODY ECU (MULTIPLEX NETWORK BODY ECU)


    1. Measure the voltage according to the value(s) in the table below.

      Standard Voltage
      LH Side (B2430)
      Tester Connection Condition Specified Condition
      A84-1 (PPOS) - Body ground Power switch on (IG) and light control switch in head position 11 to 14 V
      RH Side (B2431)
      Tester Connection Condition Specified Condition
      A86-1 (PPOS) - Body ground Power switch on (IG) and light control switch in head position 11 to 14 V

    NG
    OK
  8. CHECK HARNESS AND CONNECTOR (HEADLIGHT ASSEMBLY - BODY GROUND)


    1. Measure the resistance according to the value(s) in the table below.

      Standard Resistance
      LH Side (B2430)
      Tester Connection Condition Specified Condition
      A84-6 (E) - Body ground Always Below 1 Ω
      RH Side (B2431)
      Tester Connection Condition Specified Condition
      A86-6 (E) - Body ground Always Below 1 Ω

    NG
    OK
  9. CHECK HEADLIGHT ASSEMBLY


    1. Replace the headlight assembly with a new or known good one Click here.

    2. Check for DTCs Click here.

      OK
      DTC B2430 or B2431 is not output.

    OK
    NG
  10. CHECK HARNESS AND CONNECTOR (HEADLIGHT ASSEMBLY - NO. 1 INTEGRATION RELAY)


    1. Disconnect the 1G No. 1 integration relay connector.

    2. Measure the resistance according to the value(s) in the table below.

      Standard Resistance
      LH Side (B2430)
      Tester Connection Condition Specified Condition
      1G-2 (HLPL) - A84-3 (LO) Always Below 1 Ω
      1G-2 (HLPL) - Body ground Always 10 kΩ or higher
      RH Side (B2431)
      Tester Connection Condition Specified Condition
      1G-1 (HLPR) - A86-3 (LO) Always Below 1 Ω
      1G-1 (HLPR) - Body ground Always 10 kΩ or higher

    OK
    NG
  11. CHECK HARNESS AND CONNECTOR (MAIN BODY ECU - HEADLIGHT ASSEMBLY)


    1. Disconnect the L190 main body ECU (multiplex network body ECU) connector.

    2. Measure the resistance according to the value(s) in the table below.

      Standard Resistance
      LH Side (B2430)
      Tester Connection Condition Specified Condition
      L190-24 (LLEW) - A84-1 (PPOS) Always Below 1 Ω
      L190-24 (LLEW) - Body ground Always 10 kΩ or higher
      RH Side (B2431)
      Tester Connection Condition Specified Condition
      L190-21 (RLEW) - A86-1 (PPOS) Always Below 1 Ω
      L190-21 (RLEW) - Body ground Always 10 kΩ or higher

    OK
    NG