СИСТЕМА SFI, диагностические DTC:P010012 и P010014

Код DTC Наименование DTC
P010012 Датчик массового или объемного расхода воздуха "A", цепь — короткое замыкание на цепь аккумуляторной батареи
P010014 Датчик массового или объемного расхода воздуха "A", цепь — короткое замыкание на массу или обрыв

ОПИСАНИЕ

Датчик массового расхода воздуха представляет собой датчик, измеряющий объем воздуха на впуске с помощью следующих встроенных компонентов:

  • Перепускной воздуховод (обеспечивает протекание части воздуха на впуске в обход датчика на основе кремниевого кристалла)

  • Датчик на основе кремниевого кристалла (в нем мостовая цепь управления подогревателем и мостовая цепь датчика температуры используются для определения разности температур воздуха на впуске, проходящего мимо датчиков, которые расположены перед подогревателем и за ним).

  • Цепь управления (преобразует разность температур в импульсный сигнал и осуществляет коррекцию)

Воздух на впуске проходит через датчик температуры перед подогревателем, подогреватель и датчик температуры за подогревателем датчика на основе кремниевого кристалла в перепускном воздуховоде. Поскольку под воздействием подогревателя воздух на впуске нагревается, температура воздуха, проходящего через датчик температуры за подогревателем выше, чем при прохождении воздуха через датчик температуры перед подогревателем. Разность между температурами воздуха на впуске на каждом из датчиков температуры изменяется в зависимости от скорости потока воздуха на впуске, проходящего через датчик на основе кремниевого кристалла. Мостовая цепь датчика температуры определяет разность температур, а цепь управления преобразует ее в импульсный сигнал, который передается в ECM. Когда температура, измеренная датчиком температуры перед подогревателем, выше измеренной датчиком температуры за подогревателем, определяется наличие обратного потока воздуха на впуске.

На основании импульсного сигнала, полученного от датчика массового расхода воздуха, ECM вычисляет объем воздуха на впуске и использует его для определения продолжительности впрыска топлива, необходимой для достижения оптимального соотношения воздух-топливо.

Мостовая цепь управления подогревателем содержит датчик температуры и силовой транзистор и поддерживает температуру подогревателя на определенном уровне.

Tip:

Когда регистрируются коды DTC, ЕСМ переходит в аварийный режим работы. Во время работы в аварийном режиме ECM вычисляет продолжительность впрыска топлива на основании частоты вращения коленчатого вала двигателя и угла поворота дроссельной заслонки. Аварийный режим работы продолжается до тех пор, пока не будет обнаружено нормальное состояние.

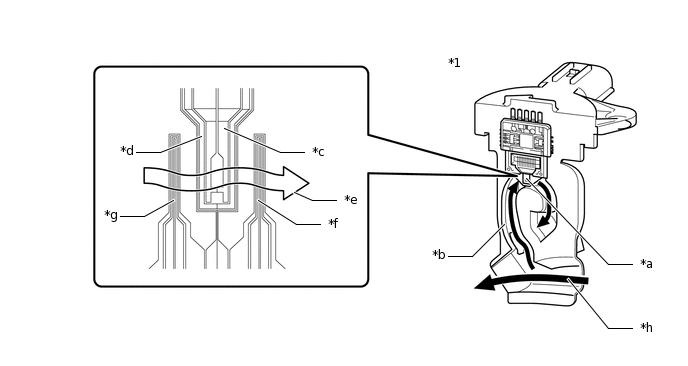
A403052C05

*1

Датчик массового расхода воздуха в сборе

-

-

*a

Датчик на кремниевом кристалле

*b

Перепускной воздуховод

*c

Подогреватель

*d

Термистор подогревателя

*e

Intake Air

*f

Датчик температуры (после отопителя)

*g

Датчик температуры (до отопителя)

*h

Поток воздуха

№ DTC

Неисправность

Условие обнаружения DTC

Неисправный участок

MIL

Память

Примечание

P010012

Датчик массового или объемного расхода воздуха "A", цепь — короткое замыкание на цепь аккумуляторной батареи

Частота выходного сигнала датчика массового расхода воздуха превышает 9,8 кГц в течение 3 секунд и более (логика диагностирования за 1 поездку).

  • Обрыв или короткое замыкание в цепи датчика массового расхода воздуха

  • Датчик массового расхода воздуха в сборе

  • ECM

Загорается

Код DTC сохраняется

Код SAE: P0103

P010014

Датчик массового или объемного расхода воздуха "A", цепь — короткое замыкание на массу или обрыв

Частота выходного сигнала датчика массового расхода воздуха менее 0,1 кГц в течение 3 секунд и более (логика диагностирования за 1 поездку).

  • Обрыв или короткое замыкание в цепи датчика массового расхода воздуха

  • Датчик массового расхода воздуха в сборе

  • ECM

Загорается

Код DTC сохраняется

Код SAE: P0102

ОПИСАНИЕ РАБОТЫ СИСТЕМЫ КОНТРОЛЯ

Если в датчике массового расхода воздуха имеется неисправность, обрыв или короткое замыкание, значение частоты выходит за пределы диапазона допустимых значений. ECM определяет данное отклонение как неисправность цепи датчика массового расхода воздуха и регистрирует DTC.

Пример:

Когда частота выходного сигнала датчика остается ниже 0,1 кГц или выше 9,8 кГц в течение 3 секунд, ECM регистрирует код DTC.

ПРИНЦИП РАБОТЫ СИСТЕМЫ КОНТРОЛЯ

Продолжительность работы

Постоянно

ПРОВЕРОЧНАЯ ПОЕЗДКА

  1. Подключите GTS к DLC3.

  2. Включите зажигание (IG).

  3. Включите GTS.

  4. Удалите коды DTC (даже если нет сохраненных DTC, выполните процедуру удаления DTC).

  5. Выключите зажигание и подождите не менее 30 с.

  6. Включите зажигание двигателя (IG).

  7. Включите диагностический прибор TechDoc3.

  8. Подождите не менее 3 с [A].

  9. Войдите в следующие меню: Powertrain / Engine / Trouble Codes [B].

  10. Считайте ожидающие обработки коды DTC.

    Tip:
    • Если выводятся ожидающие обработки DTC, система неисправна.

    • Если ожидающие обработки DTC не выводятся, выполните следующую процедуру.

  11. Войдите в следующие меню: Powertrain / Engine / Utility / All Readiness.

  12. Введите DTC: P010012 или P010014.

  13. Проверьте результат проверки DTC.

    Дисплей GTS

    Описание

    NORMAL

    • Проверка DTC завершена

    • Cистема работает нормально

    ABNORMAL

    • Проверка DTC завершена

    • Нарушения в работе системы

    INCOMPLETE

    • Проверка DTC не завершена

    • Выполните поездку в проверочном режиме после создания условий регистрации DTC

    Tip:
    • Если результат проверки NORMAL, система исправна.

    • Если результат проверки ABNORMAL, система неисправна.

    • Если результат проверки INCOMPLETE, повторно выполните шаги с [A] по [B].

СХЕМА ЭЛЕКТРИЧЕСКИХ СОЕДИНЕНИЙ

A373493E11

ПРЕДОСТЕРЕЖЕНИЕ / ПРИМЕЧАНИЕ / УКАЗАНИЕ

Tip:

С помощью GTS считайте данные фиксированного набора параметров. Одновременно с записью в память кода DTC ECM сохраняет параметры состояния автомобиля и условий движения как данные фиксированного набора параметров. При поиске неисправностей фиксированные параметры позволяют определить, двигался ли автомобиль в момент возникновения неисправности или нет, был ли прогрет двигатель, каким было соотношение воздух-топливо (обедненным или обогащенным) и пр.

ПОРЯДОК ВЫПОЛНЕНИЯ

  1. ПРОВЕРЬТЕ НАПРЯЖЕНИЕ НА КОНТАКТЕ (ПИТАНИЕ ДАТЧИКА МАССОВОГО РАСХОДА ВОЗДУХА В СБОРЕ)

    A373523C09

    *a

    Вид спереди разъема со стороны жгута проводов:

    (к датчику массового расхода воздуха в сборе)

    1. Отсоедините разъем датчика массового расхода воздуха.

    2. Включите зажигание (IG).

    3. Измерьте напряжение в соответствии со значениями, приведенными в таблице.

      Номинальное напряжение

      Подключение диагностического прибора

      Условие

      Заданные условия

      C30-3 (5V) - C30-2 (E2G)

      Зажигание включено (IG)

      4,8-5,2 В

      C30-1 (FG) - C30-2 (E2G)

      Зажигание включено (IG)

      4,8-5,2 В

    Result

    Перейти к

    OK

    НЕ СООТВ.

    НЕ СООТВ.

    ПРОВЕРЬТЕ ЖГУТ ПРОВОДОВ И РАЗЪЕМ (ДАТЧИК МАССОВОГО РАСХОДА ВОЗДУХА – ECM)Щелкните по следующей ссылке

    OK
  2. ЗАМЕНИТЕ ДАТЧИК МАССОВОГО РАСХОДА ВОЗДУХА В СБОРЕ

    1. Замените датчик массового расхода воздуха.

      Нажмите здесьЩелкните по следующей ссылке

      Tip:

      Выполните "Проверку после ремонта" после замены датчика массового расхода воздуха в сборе.

      Нажмите здесьЩелкните по следующей ссылке

    Результат

    Перейти к

    СЛЕДУЮЩЕЕ -

    СЛЕДУЮЩЕЕ -
  3. УДАЛИТЕ DTC

    1. Подключите GTS к DLC3.

    2. Включите зажигание (IG).

    3. Включите GTS.

    4. Сбросьте DTC.

      Powertrain > Engine > Clear DTCs

    5. Выключите зажигание и подождите не менее 30 с.

    Результат

    Перейти к

    СЛЕДУЮЩЕЕ -

    ДАЛЕЕ
  4. ПРОВЕРЬТЕ, ВОЗОБНОВЛЯЕТСЯ ЛИ ВЫВОД DTC (DTC P010012 ИЛИ P010014)

    1. Совершите проверочную поездку в порядке, рассмотренном в разделе "Поездка в проверочном режиме".

    2. Войдите в следующие меню: Powertrain / Engine / Trouble Codes.

    3. Считайте коды DTC.

      Powertrain > Engine > Trouble Codes

      Result

      Result

      Следующий шаг

      DTC не выводятся.

      A

      DTC P010012 или P010014 выводится

      B

  5. ПРОВЕРЬТЕ ЖГУТ ПРОВОДОВ И РАЗЪЕМ (ДАТЧИК МАССОВОГО РАСХОДА ВОЗДУХА – ECM)

    1. Отсоедините разъем датчика массового расхода воздуха.

    2. Отсоедините разъем ECM.

    3. Измерьте сопротивление в соответствии со значениями, приведенными в таблице ниже.

      Номинальное сопротивление

      Подключение диагностического прибора

      Условие

      Заданные условия

      C30-3 (5V) - C96-90 (VC)

      Всегда

      Менее 1 Ом

      C30-1 (FG) - C96-116 (VG)

      Всегда

      Менее 1 Ом

      C30-2 (E2G) - C96-115 (E2G)

      Всегда

      Менее 1 Ом

      C30-3 (5V) или C96-90 (VC) - масса и другие контакты

      Всегда

      10 кОм или более

      C30-1 (FG) или C96-116 (VG) - масса и другие контакты

      Всегда

      10 кОм или более

      C30-2 (E2G) или C96-115 (E2G) - масса и другие контакты

      Всегда

      10 кОм или более

    Результат

    Перейти к

    OK

    НЕ СООТВ.

    NG

    ОТРЕМОНТИРУЙТЕ ИЛИ ЗАМЕНИТЕ ЖГУТ ПРОВОДОВ ИЛИ РАЗЪЕМ