УЛЬТРАЗВУКОВОЙ ДАТЧИК (задний) УСТАНОВКА
ПОРЯДОК ВЫПОЛНЕНИЯ
УСТАНОВИТЕ ДЕРЖАТЕЛЬ ЗАДНЕГО УГЛОВОГО УЛЬТРАЗВУКОВОГО ДАТЧИКА
Note:При наличии остатков двусторонней клейкой ленты держатель заднего углового ультразвукового датчика в ходе установки может быть приклеен неплотно. Эту операцию следует выполнять, пока она не будет удалена в достаточной степени.
Обязательно используйте при удалении ткань. Использование отвертки и других подобных инструментов может привести к повреждению и неудовлетворительной адгезии.
Очистите поверхность накладки заднего бампера.
Снимите двухстороннюю клейкую ленту с накладки заднего бампера.
Удалите остатки клейкой ленты чистящим средством.
-
*a
17 мм (0,67 дюйма)
Закройте установочное отверстие датчика снаружи облицовки бампера отрезком ленты в форме квадрата со стороной 17 мм (0,67 дюйма).
-
*a
Разметочная линия

Грунтовка
С помощью кисти или войлока нанесите грунтовку или аналогичный материал на место установки держателя заднего углового ультразвукового датчика.
Note:В случае загрязнения или повышения жесткости кисть или войлок подлежит замене.
Не допускайте попадания грунтовки на окрашенные поверхности.
Грунтовка может оставить на окрашенной поверхности светлые следы. Поэтому при работе с жидкой грунтовкой следует использовать защитную клейкую ленту.
Никогда не касайтесь поверхностей, на которые нанесена грунтовка, пока не будет закреплен задний угловой ультразвуковой датчик.
Tip:Нанесение грунтовки за пределами разметочной линии допускается.
Дайте грунтовке высохнуть в достаточной степени.
Note:Не прикасайтесь к поверхностям с нанесенной грунтовкой, пока она не высохнет.
Рекомендуемое время сушки
Не менее 10 мин (23°C (73°F))
Убедитесь, что грунтовка полностью высохла, прикоснувшись к заднему бамперу. Затем снимите ленту.
Снимите отслаивающуюся бумагу с нового заднего углового ультразвукового датчика, стараясь не прикасаться к клейкой поверхности.
-
*a
Разметочная линия на заднем бампере
*b
Разметочная линия на держателе
*c
Допустимый интервал до верхней линии разметочной линии
*d
Допустимый интервал до нижней линии разметочной линии
*e
Ребро держателя
Совместите держатель правого углового ультразвукового датчика с разметочной линией на переднем бампере и установите его, как показано на рисунке.
Note:Прочность крепления держателя заднего углового ультразвукового датчика при повторном приклеивании снижается. Если требуется повторно установить датчик, обязательно замените его новым.
Убедитесь, что разметочные линии держателя с обеих сторон располагаются с внутренней стороны разметочной линии заднего бампера.
Убедитесь, что концы разметочных линий держателя с обеих сторон располагаются в пределах допустимого интервала между верхней и нижней линиями разметочной линии.
Убедитесь, что четыре угла ребра держателя располагаются с внутренней стороны разметочных линий на заднем бампере.
Tip:Приложите усилие, чтобы исключить зазоры между задним бампером и держателем заднего углового ультразвукового датчика.
Усилие прижима: 30 Н (3,0 кгс) в течение 3 с
УСТАНОВИТЕ ЗАДНИЙ УГЛОВОЙ УЛЬТРАЗВУКОВОЙ ДАТЧИК
Tip:Порядок выполнения работ одинаков для обеих сторон.
В случае повторного использования датчика позаботьтесь о том, чтобы все датчики были возвращены в исходное положение.
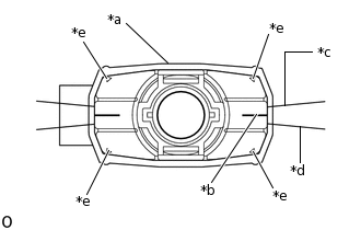
-
*a
Разметочная линия
Совместите разъем заднего углового ультразвукового датчика с разметочной линией разъема и установите задний угловой ультразвуковой датчик на держатель заднего углового ультразвукового датчика.
Введите в зацепление захваты, чтобы установить задний угловой ультразвуковой датчик.
Note:Убедитесь, что захват закреплен надежно.
-

Поверхность микрофона
Никогда не надавливайте на поверхность микрофона.
УСТАНОВИТЕ ДЕРЖАТЕЛЬ ЗАДНЕГО ЦЕНТРАЛЬНОГО УЛЬТРАЗВУКОВОГО ДАТЧИКА
Tip:Выполните эту же операцию для держателя заднего углового ультразвукового датчика.
УСТАНОВИТЕ ЗАДНИЙ ЦЕНТРАЛЬНЫЙ УЛЬТРАЗВУКОВОЙ ДАТЧИК
Tip:Выполните эту же операцию для заднего углового ультразвукового датчика.
УСТАНОВИТЕ ЖГУТ ЭЛЕКТРОПРОВОДКИ БАГАЖНОГО ОТДЕЛЕНИЯ № 2
Для моделей с 8AR-FTS:
Нажмите здесьClick here
для моделей с 3ZR-FAE:
Нажмите здесьClick here
УСТАНОВИТЕ НАКЛАДКУ ЗАДНЕГО БАМПЕРА
Нажмите здесьClick here
ВЫПОЛНИТЕ КАЛИБРОВКУ
09989-00020
Для моделей с интеллектуальной системой ультразвуковой локации:
Нажмите здесьClick here
Для моделей без интеллектуальной системы ультразвуковой локации:
Нажмите здесьClick here