FUEL SYSTEM(w/ Canister Pump Module) PRECAUTION
BEFORE WORKING ON FUEL SYSTEM
Before inspecting and repairing the fuel system, disconnect the cable from the negative (-) auxiliary battery terminal.
Note:After turning the power switch off, waiting time may be required before disconnecting the cable from the negative (-) auxiliary battery terminal. Therefore, make sure to read the disconnecting the cable from the negative (-) auxiliary battery terminal notice before proceeding with work.
Do not smoke or work near fire when handling the fuel system.
Keep fuel away from rubber or leather parts.
DISCHARGE FUEL SYSTEM PRESSURE
CAUTION:The Discharge Fuel System Pressure procedures must be performed before disconnecting any part of the fuel system.
After performing the Discharge Fuel System Pressure procedures, pressure will remain in the fuel line. When disconnecting the fuel line, place a cloth or equivalent over fittings to reduce the risk of fuel spray.
Remove the console box assembly.
-
Disconnect the fuel pump connector.
Put the engine in inspection mode (maintenance mode).
Start the engine.
After the engine has stopped on its own, turn the power switch off.
Crank the engine again and make sure that the engine does not start.
Loosen the fuel tank cap, then discharge the pressure in the fuel tank completely.
Disconnect the cable from the negative (-) auxiliary battery terminal.
Note:When disconnecting the cable, some systems need to be initialized after the cable is reconnected.
Connect the fuel pump connector.
Install the console box assembly.
FUEL SYSTEM
When disconnecting the fuel pressure fuel line, a large amount of gasoline will spill out. Follow these procedures.
Disconnect the fuel pump tube.
Drain any fuel remaining inside the fuel pump tube.
To protect the disconnected fuel pump tube from damage and contamination, cover it with a plastic bag.
Put a container under the connection.
-
*A
for Type A
*B
for Type B
*1
No. 2 Fuel Pipe Clamp
*a
Claw
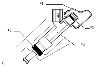
Perform the following procedure when disconnecting the fuel tube sub-assembly (metal type).
Note:Do not forcibly bend, kink or twist the fuel tube sub-assembly.
Remove the No. 2 fuel pipe clamp.
Note:Always replace the No. 2 fuel pipe clamp (type B) with a new one, as it is non-reusable.
Wipe off any foreign matter on the fuel tube connector.
-
Hold the fuel tube connector, and then install SST.
09268-21011
Turn SST to align the retainer inside the fuel tube connector with the chamfered part of SST.
Insert SST into the fuel tube connector and hold it. Then push the fuel tube connector toward SST.
Mount the retainer of the fuel tube connector onto the chamfered part of SST.
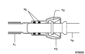
-
*a
Retainer
*b
O-Ring
*c
Nylon Tube
*d
Fuel Tube Connector
*e
Fuel Pipe
Slide SST and the fuel tube connector together until they make a "click" sound, and then disconnect the fuel tube sub-assembly.
Drain the fuel remaining inside the fuel tube sub-assembly.
Cover the fuel tube and fuel pipe with plastic bags to protect the disconnected parts.
Perform the following procedure when connecting the fuel tube sub-assembly (metal type).
Check if there is any damage or foreign matter on the fuel pipe connections.
Match the axis of the fuel tube connector with the axis of the fuel pipe, and push it into the fuel tube connector until the fuel tube connector makes a "click" sound. If the connection is tight, apply a small amount of clean engine oil to the tip of the fuel pipe.
-
After finishing the connection, check if the fuel pipe and the fuel tube connector are securely connected by pulling on them.
Inspect for fuel leaks.
for Type A:
Attach the No. 2 fuel pipe clamp until a "click" sound is heard.
for Type B:
Attach a new No. 2 fuel pipe clamp until a "click" sound is heard.
Perform the following procedure when disconnecting the fuel tube connector (quick type A).
-
Remove the No. 1 fuel pipe clamp.
Check whether there is any foreign matter on the fuel pipe around the fuel tube connector before disconnecting it. Clean it if necessary.
-
*a
Retainer
*b
O-Ring
*c
Fuel Pipe
*d
Fuel Tube Connector

Pinch

Pull Out
Pinch the retainer of the fuel tube connector, and then pull the fuel tube connector off of the fuel pipe.
Note:Be sure to disconnect the fuel tube connector by hand.
-
If the fuel tube connector and the fuel pipe are stuck, push in and pull on the fuel tube connector to release it. Pull the fuel tube connector out of the fuel pipe carefully.
Note:Check for any dirt and foreign matter contamination in the fuel pipe and around the connector. Clean if necessary. Foreign matter may damage the O-ring or cause leaks in the seal between the fuel pipe and fuel tube connector.
Do not use any tools to separate the fuel pipe and fuel tube connector.
Check for any dirt and foreign matter on the fuel pipe seal surface. Clean if necessary.
Do not forcibly bend, twist or turn the nylon tube.
Protect the disconnected part by covering it with a plastic bag and tape after disconnecting the fuel tube.
If the fuel pipe and fuel tube connector are stuck together, pinch the connector between your fingers and turn it carefully to free it. Then disconnect the fuel tube.
Check that there is no foreign matter on the sealing surfaces of the disconnected fuel pipes. Clean the surfaces if necessary.
Cover the disconnected fuel pipe and fuel tube connector with a plastic bag to prevent damage and contamination.
-
Perform the following procedure when connecting the fuel tube connector (quick type A).
Check if there is any damage or foreign matter on the connecting parts of the fuel pipe.
-
Line up the 2 parts of the fuel lines to be connected, and push them together until the fuel tube connector makes a "click" sound. If the fuel pipe is difficult to push into the fuel tube connector, apply a small amount of clean engine oil to the tip of the fuel pipe and reinsert it.
After connecting the fuel lines, check that the fuel pipe and fuel tube connector are securely connected by pulling on them.
Inspect for fuel leaks.
Install the No. 1 fuel pipe clamp.
Observe these precautions when disconnecting the fuel tube connector (quick type B).
Check whether there is any foreign matter on the fuel pipe around the fuel tube connector before disconnecting it. Clean it if necessary.
-
*a
Retainer
*b
Fuel Pipe
*c
Fuel Tube Connector
*d
Nylon Tube

Pull

Pull out
Pull the tabs of the fuel tube connector retainer as shown in the illustration to disconnect the fuel tube connector from the fuel pipe.
-

Pull

Push
If the fuel tube connector and the fuel pipe are stuck, push in and pull on the fuel tube connector to release it. Pull the fuel tube connector out of the fuel pipe carefully.
Note:Check for any dirt and foreign matter contamination in the fuel pipe and around the connector. Clean if necessary. Foreign matter may damage the O-ring or cause leaks in the seal between the fuel pipe and fuel tube connector.
Do not use any tools to separate the fuel pipe and fuel tube connector.
Check for any dirt and foreign matter on the fuel pipe seal surface. Clean if necessary.
Do not forcibly bend, twist or turn the nylon tube.
Protect the disconnected part by covering it with a plastic bag and tape after disconnecting the fuel tube.
If the fuel pipe and fuel tube connector are stuck together, pinch the connector between your fingers and turn it carefully to free it. Then disconnect the fuel tube.
Check that there is no foreign matter on the sealing surfaces of the disconnected fuel pipes. Clean the surfaces if necessary.
Cover the disconnected fuel pipe and fuel tube connector with a plastic bag to prevent damage and contamination.
Observe these precautions when connecting the fuel tube connector (quick type B).
Check if there is any damage or foreign matter on the connecting parts of the fuel pipe.
-
*a
Retainer

Push

Push Down
Line up the fuel pipe and fuel tube connector and push them together until a "click" sound is heard. If the connection is tight, apply a small amount of fresh engine oil to the tip of the fuel pipe.
Push down the retainer.
-
After connecting the fuel lines, check that the fuel pipe and fuel tube connector are securely connected by pulling on them.
Inspect for fuel leaks.
Observe these precautions when disconnecting the fuel tube connector (quick type C).
Check whether there is any foreign matter on the fuel pipe around the fuel tube connector before disconnecting it. Clean it if necessary.
-
*a
Retainer
*b
O-Ring
*c
Nylon Tube
*d
Fuel Tube Connector
*e
Fuel Pipe

Pinch

Pull Out
Pinch the retainer of the fuel tube connector and then pull out the fuel tube connector to disconnect the fuel cut off with tube valve from the fuel pipe.
Pull out the fuel tube connector from the fuel pipe.
-

Push

Pull
If the fuel tube connector and the fuel pipe are stuck, push in and pull on the fuel tube connector to release it. Pull the fuel tube connector out of the fuel pipe carefully.
Note:Check for any dirt and foreign matter contamination in the fuel pipe and around the connector. Clean if necessary. Foreign matter may damage the O-ring or cause leaks in the seal between the fuel pipe and fuel tube connector.
Do not use any tools to separate the fuel pipe and fuel tube connector.
Check for any dirt and foreign matter on the fuel pipe seal surface. Clean if necessary.
Do not forcibly bend, twist or turn the nylon tube.
Protect the disconnected part by covering it with a plastic bag and tape after disconnecting the fuel tube.
If the fuel pipe and fuel tube connector are stuck together, pinch the connector between your fingers and turn it carefully to free it. Then disconnect the fuel tube.
Check that there is no foreign matter on the sealing surfaces of the disconnected fuel pipes. Clean the surfaces if necessary.
Cover the disconnected fuel pipe and fuel tube connector with a plastic bag to prevent damage and contamination.
Observe these precautions when connecting the fuel tube connector (quick type C).
-
Check if there is any damage or foreign matter on the connecting parts of the fuel pipe.
Line up the fuel pipe and fuel tube connector and push them together until a "click" sound is heard. If the connection is tight, apply a small amount of fresh engine oil to the tip of the fuel pipe.
-
After connecting the fuel lines, check that the fuel pipe and fuel tube connector are securely connected by pulling on them.
Inspect for fuel leaks.
-
Observe these precautions when disconnecting the fuel tube connector (quick type D).
Check whether there is any foreign matter on the fuel pipe around the fuel tube connector before disconnecting it. Clean it if necessary.
-
*a
Retainer

Push

Down

Disconnect
Detach the 2 claws of the fuel tube connector retainer, push down the retainer and disconnect the fuel tube connector from the pipe as shown in the illustration.
-

Pull

Push
If the fuel tube connector and the fuel pipe are stuck, push in and pull on the fuel tube connector to release it. Pull the fuel tube connector out of the fuel pipe carefully.
Note:Check for any dirt and foreign matter contamination in the fuel pipe and around the connector. Clean if necessary. Foreign matter may damage the O-ring or cause leaks in the seal between the fuel pipe and fuel tube connector.
Do not use any tools to separate the fuel pipe and fuel tube connector.
Check for any dirt and foreign matter on the fuel pipe seal surface. Clean if necessary.
Do not forcibly bend, twist or turn the nylon tube.
Protect the disconnected part by covering it with a plastic bag and tape after disconnecting the fuel tube.
If the fuel pipe and fuel tube connector are stuck together, pinch the connector between your fingers and turn it carefully to free it. Then disconnect the fuel tube.
Check that there is no foreign matter on the sealing surfaces of the disconnected fuel pipes. Clean the surfaces if necessary.
Cover the disconnected fuel pipe and fuel tube connector with a plastic bag to prevent damage and contamination.
Observe these precautions when connecting the fuel tube connector (quick type C).
-
*a
Retainer

Connect

Push Up
Align the axis of the fuel tube connector with the fuel pipe. Connect the fuel tube connector to the pipe, and then push up the retainer.
-
After connecting the fuel lines, check that the fuel pipe and fuel tube connector are securely connected by pulling on them.
Inspect for fuel leaks.
-
FUEL INJECTOR ASSEMBLY
-
*1
Fuel Delivery Pipe
*2
O-Ring
*3
Fuel Injector Assembly
*4
Injector Vibration Insulator
Install the fuel injector assembly to the fuel delivery pipe and the cylinder head as shown in the illustration.
Note:Before installing the fuel injector assembly, be sure to apply a light coat of fuel or spindle oil where the fuel delivery pipe contacts the O-ring.
-
*1
Fuel Injector Assembly
*2
O-Ring
*3
Fuel Delivery Pipe
*a
CORRECT
*b
INCORRECT
Observe the following precautions when removing and installing the fuel injector assemblies:
Do not reuse the O-ring and injector vibration insulator.
When placing a new O-ring on the fuel injector assembly, do not damage the O-ring.
Coat a new O-ring with spindle oil or fuel before installing it.
Note:Do not use engine oil, gear oil or brake fluid.
-
FUEL SUCTION TUBE ASSEMBLY
-
Do not disconnect the fuel tube shown in the illustration.
Note:The fuel tube is welded on, so if it is disconnected, the sealing quality cannot be ensured.
-
INSPECT FOR FUEL LEAK
Check that there are no fuel leaks from the fuel system after doing any maintenance or repairs.