FUEL SYSTEM


  1. CONSTRUCTION


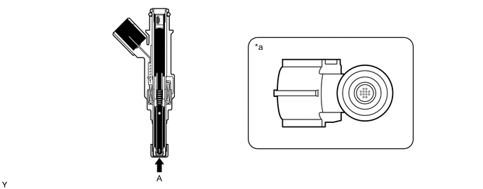
    1. A 12-hole type fuel injector assembly is provided.

    2. The fuel injector assembly is shaped to form a long nozzle. This shortens the distance from the fuel injector assembly to the intake valve, which prevents the fuel from adhering to the intake port walls and reduces HC exhaust emissions.

      A01KXJ4C01
      *a View from A - -