CYLINDER BLOCK REPLACEMENT

PROCEDURE

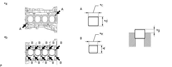
  1. REPLACE RING PIN

    Note:

    It is not necessary to remove the ring pin unless it is being replaced.

    1. Remove the 12 ring pins.

    2. Using a plastic-faced hammer, install 12 new ring pins.

      A285352C08

      *a

      Upper Side

      *b

      Lower Side

      *c

      15 mm (0.591 in.)

      *d

      14 mm (0.551 in.)

      *e

      13 mm (0.512 in.)

      *f

      12 mm (0.472 in.)

      *g

      Protrusion Height

      -

      -

      Standard Protrusion Height

      Item

      Specified Condition

      A

      5.0 to 7.0 mm (0.197 to 0.276 in.)

      B

      4.0 to 7.0 mm (0.157 to 0.276 in.)

  2. REPLACE STRAIGHT PIN

    Note:

    It is not necessary to remove the straight pin unless it is being replaced.

    1. Remove the 14 straight pins.

    2. Using a plastic-faced hammer, install 14 new straight pins.

      A285353C09

      *a

      Front Side

      *b

      Rear Side

      *c

      LH Side

      *d

      Lower Side

      *e

      RH Side

      *f

      22 mm (0.866 in.)

      *g

      10 mm (0.394 in.)

      *h

      14 mm (0.551 in.)

      *i

      6 mm (0.236 in.)

      *j

      Protrusion Height

      Standard Protrusion Height

      Item

      Specified Condition

      A

      11.0 to 13.0 mm (0.433 to 0.512 in.)

      B

      5.0 to 7.0 mm (0.197 to 0.276 in.)

      C

      4.0 to 6.0 mm (0.157 to 0.236 in.)