СИСТЕМА НАВИГАЦИИ, диагностический DTC:B153A

Код DTC Наименование DTC
B153A Линия GVIF отсоединена (от модуля расширения к головному устройству)

ОПИСАНИЕ

№ DTC

Неисправность

Условие обнаружения DTC

Неисправный участок

B153A

Линия GVIF отсоединена (от модуля расширения к головному устройству)

Отсоединен кабель GVIF (между ЭБУ системы навигации и радиоприемником с экраном в сборе)

  • Жгут проводов системы навигации № 1

  • ЭБУ системы навигации

  • Радиоприемник с дисплеем в сборе

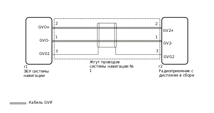
СХЕМА СОЕДИНЕНИЙ

E367999E02

ПРЕДОСТЕРЕЖЕНИЕ / ПРИМЕЧАНИЕ / УКАЗАНИЕ

Note:
  • В зависимости от замененных деталей или операций, которые были выполнены при проверке или обслуживании автомобиля, может потребоваться инициализация, регистрация или калибровка. См. меры предосторожности по системе навигации.

    Нажмите здесьClick hereClick here

  • Радиоприемник с дисплеем в сборе и ЭБУ системы навигации надлежит заменять только новыми узлами. Если для замены будет использован радиоприемник с дисплеем в сборе или ЭБУ системы навигации с другого автомобиля, может произойти следующее:

    • Может быть сохранен DTC нарушения обмена данными.

    • Работа радиоприемника с дисплеем в сборе или ЭБУ системы навигации может быть нарушена.

ПОРЯДОК ВЫПОЛНЕНИЯ

  1. ПРОВЕРЬТЕ DTC

    1. Удалите коды DTC.

      Body Electrical > Navigation System > Clear DTCs

    2. Повторно проверьте коды DTC и убедитесь, что они не выводятся.

      Body Electrical > Navigation System > Trouble Codes

      OK

      Коды DTC не выводятся.

    Результат

    Перейти к

    OK

    НЕ СООТВ.

    OK

    ВЫПОЛНИТЕ ПРОВЕРКУ С ИМИТАЦИЕЙ УСЛОВИЙ ВОЗНИКНОВЕНИЯ НЕИСПРАВНОСТИ

    Нажмите здесьClick hereClick hereClick here

    НЕ СООТВ.
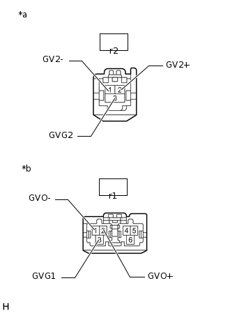
  2. ПРОВЕРЬТЕ ЖГУТ ПРОВОДОВ СИСТЕМЫ НАВИГАЦИИ № 1 (РАДИОПРИЕМНИК С ДИСПЛЕЕМ В СБОРЕ – ЭБУ СИСТЕМЫ НАВИГАЦИИ)

    1. E368007C01

      *a

      Вид спереди разъема со стороны жгута проводов:

      (к радиоприемнику с дисплеем в сборе)

      *b

      Вид спереди разъема со стороны жгута проводов:

      (к ЭБУ системы навигации)

      Отсоедините разъем r1 ЭБУ системы навигации.

    2. Отсоедините разъем r2 радиоприемника с дисплеем в сборе.

    3. Измерьте сопротивление в соответствии со значениями, приведенными в таблице ниже.

      Номинальное сопротивление

      Подключение диагностического прибора

      Условие

      Заданные условия

      r1-1 (GVO-) - r2-1 (GV2-)

      Всегда

      Менее 1 Ом

      r1-2 (GVO+) - r2-2 (GV2+)

      Всегда

      Менее 1 Ом

      r1-3 (GVG1) - r2-3 (GVG2)

      Всегда

      Менее 1 Ом

    Результат

    Перейти к

    OK

    НЕ СООТВ.

    НЕ СООТВ.

    ЗАМЕНИТЕ ЖГУТ ПРОВОДОВ СИСТЕМЫ НАВИГАЦИИ № 1

    Нажмите здесьClick here

    OK
  3. ЗАМЕНИТЕ ЭБУ СИСТЕМЫ НАВИГАЦИИ

    1. Замените ЭБУ системы навигации новым блоком.

      Нажмите здесьClick here

    Результат

    Перейти к

    СЛЕДУЮЩЕЕ -

    СЛЕДУЮЩЕЕ -
  4. ПРОВЕРЬТЕ DTC

    1. Удалите коды DTC.

      Body Electrical > Navigation System > Clear DTCs

    2. Повторно проверьте коды DTC и убедитесь, что они не выводятся.

      Body Electrical > Navigation System > Trouble Codes

      OK

      Коды DTC не выводятся.

    Результат

    Перейти к

    OK

    НЕ СООТВ.

    OK

    КОНЕЦ (ЭБУ СИСТЕМЫ НАВИГАЦИИ НЕИСПРАВЕН)

    NG

    ЗАМЕНИТЕ РАДИОПРИЕМНИК С ДИСПЛЕЕМ В СБОРЕ

    Нажмите здесьClick hereClick hereClick here