TELEMATICS SYSTEM

Figure 1. Models with G-BOOK 1

B002FSHE01

Figure 2. Models with G-BOOK 2

B002FHVE01

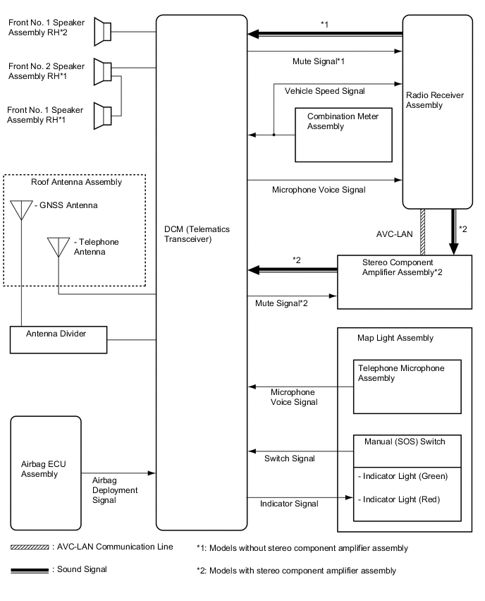
Figure 3. Models with ERA-GLONASS

B002F76E01