ENTRY AND START SYSTEM(for Entry Function) All Door Entry Lock/Unlock Functions and Wireless Functions do not Operate

DTC Code DTC Name
All Door Entry Lock/Unlock Functions and Wireless Functions do not Operate

DESCRIPTION

When the entry operation and wireless operation of the door lock functions do not operate, a malfunction or wave interference may be occurring in either of the following: 1) the signal communication line between the door control receiver and certification ECU (smart key ECU assembly) (the line used for entry and wireless operations); or 2) the electrical key transmitter sub-assembly. If the entry lock and wireless lock operations cannot be performed, there may be electrical key transmitter sub-assembly malfunctions, wave interference or problems in the communication which is used for the entry and wireless function between the door control receiver and certification ECU (smart key ECU assembly).

WIRING DIAGRAM

B434575E02

CAUTION / NOTICE / HINT

Note:
  • The entry and start system (for Entry Function) uses the CAN communication system and LIN communication system. First, inspect the communication systems by following How to Proceed with Troubleshooting (Click here). Troubleshoot the entry and start system (for Entry Function) after confirming that the communication systems are functioning properly.

  • When using the GTS with the vehicle power switch off, connect the GTS to the vehicle and turn a courtesy light switch on and off at intervals of 1.5 seconds or less until communication between the GTS and the vehicle begins. Then select the Model Code "KEY REGIST" under manual mode and enter the following menus: Body Electrical / Entry&Start. While using the GTS, periodically turn a courtesy light switch on and off at intervals of 1.5 seconds or less to maintain communication between the GTS and the vehicle.

  • Check that there are no electrical key transmitter sub-assemblies in the vehicle.

  • Before performing the inspection, check that DTC B1242 (wireless door lock control) is not output.

  • Inspect the fuses for circuits related to this system before performing the following inspection procedure.

  • Before performing the inspection, check that DTC B1242 (wireless door lock control) is not output.

    Click here

  • After repair, confirm that no DTCs are output by performing the "DTC Output Confirmation Operation".

  • The door control receiver has a constant voltage (5 V) supply circuit connected to terminal "+5".

  • When replacing the door control receiver, read the transmitter IDs (tire pressure warning system) stored in the old ECU using the GTS and write them down before removal (for 12 Pin Type).

    Click hereClick here

  • It is necessary to perform initialization (Click hereClick here) after registration (Click here) of the transmitter IDs into the door control receiver if the door control receiver has been replaced (for 12 Pin Type).

  • Before replacing the certification ECU (smart key ECU assembly), refer to the entry and start system (for Entry Function) precaution.

    Click here

  • When replacing the main body ECU (multiplex network body ECU), make sure to replace it with a new one.

PROCEDURE

  1. INSPECT AUXILIARY BATTERY VOLTAGE

    1. Measure the voltage of the vehicle auxiliary battery with the power switch off.

      Standard voltage

      11 to 14 V

      Tip:

      It may be possible to tell whether the vehicle auxiliary battery is discharged by operating the horn.

      If the voltage is below 11 V, recharge or replace the vehicle auxiliary battery before proceeding.

    Result

    Proceed to

    NEXT

    NEXT
  2. CHECK FOR DTC

    1. Open the driver door using the mechanical key built into the electrical key transmitter sub-assembly.

    2. Connect the GTS and check for DTCs.

      Click here

      Body Electrical > Entry&Start > Trouble Codes

      Tip:

      When using the GTS with the power switch off to troubleshoot: Connect the GTS to the DLC3 and turn a courtesy light switch on and off at 1.5-second intervals until communication between the GTS and vehicle begins.

    Result

    Proceed to

    DTC is not output

    DTC is output

    DTC is output

    GO TO DIAGNOSTIC TROUBLE CODE CHART

    DTC is not output
  3. CHECK POWER DOOR LOCK CONTROL SYSTEM

    1. When the door control switch on the multiplex network master switch assembly on the driver door is operated, check that the doors unlock and lock according to the switch operation.

      Click hereClick here

      OK

      Door locks operate normally.

    Result

    Proceed to

    Door locks operate normally

    Door locks do not operate

    Door locks do not operate

    GO TO POWER DOOR LOCK CONTROL SYSTEM

    Door locks operate normally
  4. CHECK KEY DIAGNOSTIC MODE

    1. Check the following antennas in key diagnostic mode.

      Click hereClick here

    2. Select either channel 1 or channel 2 and perform the key diagnostic mode inspection for each channel.

      Tip:

      If the buzzer sounds with [CH1] displayed but not with [CH2], the electrical key transmitter sub-assembly cannot be detected by channel 2 due to a malfunction, such as wave interference.

      1. B340882C05

        *A

        for RHD

        *a

        0.7 to 1 m (2.30 to 3.28 ft.)

        B340881C04

        *A

        for LHD

        *a

        0.7 to 1 m (2.30 to 3.28 ft.)

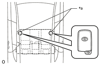
        Check the electrical key antenna (for driver door):

        When the electrical key transmitter sub-assembly is brought within 0.7 to 1 m (2.30 to 3.28 ft.) of the front door outside handle assembly (for driver door), check that the wireless door lock buzzer sounds.

        Body Electrical > Entry&Start > Utility

        Tester Display

        Communication Check(Key Diag Mode)

      2. B340881C04

        *A

        for RHD

        *a

        0.7 to 1 m (2.30 to 3.28 ft.)

        B340882C05

        *A

        for LHD

        *a

        0.7 to 1 m (2.30 to 3.28 ft.)

        Check the electrical key antenna (for front passenger door):

        When the electrical key transmitter sub-assembly is brought within 0.7 to 1 m (2.30 to 3.28 ft.) of the front door outside handle assembly (for front passenger door), check that the wireless door lock buzzer sounds.

        Body Electrical > Entry&Start > Utility

        Tester Display

        Communication Check(Key Diag Mode)

      3. B340886C02

        *a

        Inspection Point

        Check the No. 1 indoor electrical key antenna (front floor):

        When the electrical key transmitter sub-assembly is at either inspection point, check that the wireless door lock buzzer sounds.

        Body Electrical > Entry&Start > Utility

        Tester Display

        Communication Check(Key Diag Mode)

      4. B340887C02

        *a

        Inspection Point

        Check the No. 2 indoor electrical key antenna (rear floor):

        When the electrical key transmitter sub-assembly is at either inspection point, check that the wireless door lock buzzer sounds.

        Body Electrical > Entry&Start > Utility

        Tester Display

        Communication Check(Key Diag Mode)

      5. B340888C02

        *a

        0.7 to 1 m (2.30 to 3.28 ft.)

        Check the electrical key antenna (outside luggage):

        When the electrical key transmitter sub-assembly is brought within 0.7 to 1 m (2.30 to 3.28 ft.) of the electrical key antenna (outside luggage), check that the wireless door lock buzzer sounds.

        Body Electrical > Entry&Start > Utility

        Tester Display

        Communication Check(Key Diag Mode)

        OK

        Wireless door lock buzzer sounds.

    Result

    Result

    Proceed to

    Diagnostic mode inspections fail for both channels

    A

    Diagnostic mode inspections succeed for both channels

    B

    Diagnostic mode inspection succeeds for only one of the channels

    C

    B

    CHECK WAVE ENVIRONMENTClick here

    C

    CHECK WAVE ENVIRONMENTClick here

    A
  5. CHECK ELECTRICAL KEY TRANSMITTER SUB-ASSEMBLY

    1. Check if there are any other registered electrical key transmitter sub-assemblies.

    Result

    Result

    Proceed to

    There are no other registered electrical key transmitter sub-assemblies

    A

    There is another registered electrical key transmitter sub-assemblies

    B

    B

    CHECK ENTRY DOOR LOCK OPERATIONClick here

    A
  6. ELECTRICAL KEY TRANSMITTER SUB-ASSEMBLY REGISTRATION (NEW ELECTRICAL KEY TRANSMITTER SUB-ASSEMBLY)

    1. Register a new electrical key transmitter sub-assembly.

      Tip:

      Refer to the Service Bulletin.

    Result

    Proceed to

    NEXT

    NEXT
  7. CHECK ENTRY DOOR LOCK OPERATION

    1. Using another registered electrical key transmitter sub-assembly, check if an entry lock/unlock operation can be performed twice in succession.

      OK

      Entry lock/unlock operate normally.

    Result

    Proceed to

    OK

    NG

    NG

    CHECK WAVE ENVIRONMENTClick here

    OK
  8. CHECK TRANSMITTER BATTERY

    1. Check the transmitter battery level of the electrical key transmitter sub-assembly that was checked first.

      1. Press and hold the lock switch of the transmitter for 5 seconds and check the number of times that the transmitter LED illuminates.

        Tip:
        • The electrical key transmitter sub-assembly sends voltage information to the certification ECU (smart key ECU assembly) when it is being used. The certification ECU (smart key ECU assembly) displays "Yes" for the "Key Low Battery" item of the Data List when this voltage information indicates 2.2 V or less.

          Click here

        • Even if the transmitter battery is depleted, it is still possible to start the hybrid control system by holding the electrical key transmitter sub-assembly against the power switch, depressing the brake pedal and pressing the power switch.

    Result

    Result

    Proceed to

    Transmitter LED does not illuminate when switch is pressed and held

    A

    Transmitter LED illuminates 3 times or more when switch is pressed and held

    B

    Transmitter LED illuminates once or twice but not a third time

    C

    B

    REPLACE ELECTRICAL KEY TRANSMITTER SUB-ASSEMBLY

    C

    REPLACE TRANSMITTER BATTERY

    A
  9. INSPECT TRANSMITTER BATTERY (VOLTAGE)

    1. Remove the transmitter battery.

      Click here

    2. Inspect the transmitter battery.

      Click here

    Result

    Proceed to

    OK

    NG

    OK

    REPLACE ELECTRICAL KEY TRANSMITTER SUB-ASSEMBLY

    NG

    REPLACE TRANSMITTER BATTERY

  10. CHECK WAVE ENVIRONMENT

    1. Bring the electrical key transmitter sub-assembly near the door control receiver and perform a wireless and entry function operation check.

      Tip:
      • When the electrical key transmitter sub-assembly is brought near the door control receiver, the possibility of wave interference decreases, and it can be determined if wave interference is causing the problem symptom.

      • If the inspection result is that the problem only occurs in certain locations or at certain times of day, the possibility of wave interference is high. Also, added vehicle components may cause wave interference. If installed, remove them and perform the operation check.

      • There may be wave interference if the vehicle is near broadcasting antennas, large video displays, wireless garage door opener systems, wireless security cameras, home security systems, etc. In this case, move the vehicle to a different location and check if there is any improvement.

      • If a tool for checking electric waves, such as a signal strength meter, is available, move around the area while observing both the LF band (used by the vehicle antenna to form the detection area) and RF band (used by the electrical key transmitter sub-assembly for transmission) to check for locations where there is wave interference.

      OK

      Wireless and entry functions operate normally.

    Result

    Proceed to

    OK

    NG

    OK

    AFFECTED BY WAVE INTERFERENCE

    NG

    CHECK CERTIFICATION ECU (SMART KEY ECU ASSEMBLY)Click here

  11. CHECK WAVE ENVIRONMENT

    1. Bring the electrical key transmitter sub-assembly that was checked first near the door control receiver and select the failed channel (the channel in which the buzzer did not sound) to recheck the key diagnostic mode.

      Click hereClick here

      Tip:
      • When the electrical key transmitter sub-assembly is brought near the door control receiver, the possibility of wave interference decreases, and it can be determined if wave interference is causing the problem symptom.

      • If the inspection result is that the problem only occurs in certain locations or at certain times of day, the possibility of wave interference is high. Also, added vehicle components may cause wave interference. If installed, remove them and perform the operation check.

      • There may be wave interference if the vehicle is near broadcasting antennas, large video displays, wireless garage door opener systems, wireless security cameras, home security systems, etc. In this case, move the vehicle to a different location and check if there is any improvement.

      • If a tool for checking electric waves, such as a signal strength meter, is available, move around the area while observing both the LF band (used by the vehicle antenna to form the detection area) and RF band (used by the electrical key transmitter sub-assembly for transmission) to check for locations where there is wave interference.

      OK

      Wireless door lock buzzer sounds.

    Result

    Proceed to

    OK

    NG

    OK

    AFFECTED BY WAVE INTERFERENCE

    NG

    CHECK ELECTRICAL KEY TRANSMITTER SUB-ASSEMBLYClick here

  12. CHECK CERTIFICATION ECU (SMART KEY ECU ASSEMBLY)

    1. Measure the voltage according to the value(s) in the table below.

      B264896C42

      *a

      Component with harness connected

      (Certification ECU (Smart Key ECU Assembly))

      -

      -

    2. Connect the GTS to the DLC3.

    3. Turn the power switch on (IG).

    4. Turn the GTS on.

    5. Enter the following menus: Body Electrical / Power Source Control / Data List.

    6. Read the Data List according to the display on the GTS.

      Body Electrical > Power Source Control > Data List

      Tester Display

      Measurement Item

      Range

      Normal Condition

      Diagnostic Note

      Power Supply Condition

      Power supply state

      IG2 ON, ST ON, All OFF, IG1 ON or ACC ON

      ALL OFF: Power switch off (ACC and IG)

      ACC ON: Power switch on (ACC) (ACC relay on)

      IG1 ON: Power switch on (IG) (IG1 relay on)

      IG2 ON: Power switch on (IG) (IG2 relay on)

      ST ON: Sending hybrid control system start request signal

      Since the IG1 and IG2 relays turn on at approximately the same time, IG1 ON may not be displayed (the IG1 relay turns on for a very short time).

      Body Electrical > Power Source Control > Data List

      Tester Display

      Power Supply Condition

    7. Measure the voltage while checking the Data List on the GTS.

      Standard Voltage

      Tester Connection

      Switch Condition

      Specified Condition

      G84-6 (IG1D) - Body ground

      Power switch off

      Below 1 V

      Power switch on (ACC)

      Below 1 V

      Power switch on (IG)

      9 V or higher

      G82-9 (IG2D) - Body ground

      Power switch off

      Below 1 V

      Power switch on (ACC)

      Below 1 V

      Power switch on (IG)

      9 V or higher

      G84-4 (ACCD) - Body ground

      Power switch off

      Below 1 V

      Power switch on (IG)

      9 V or higher

      Power switch on (ACC)

      9 V or higher

      Tip:

      Using the GTS, measure the voltage while confirming the power source mode on the Data List.

    Result

    Proceed to

    OK

    NG

    NG

    REPLACE CERTIFICATION ECU (SMART KEY ECU ASSEMBLY)

    OK
  13. READ VALUE USING GTS (IG SW)

    1. Connect the GTS to the DLC3.

    2. Turn the power switch on (IG).

    3. Turn the GTS on.

    4. Enter the following menus: Body Electrical / Entry & Start / Data List.

    5. Read the Data List according to the display on the GTS.

      Body Electrical > Entry&Start > Data List

      Tester Display

      Measurement Item

      Range

      Normal Condition

      Diagnostic Note

      Ignition Switch

      Power switch on (IG)

      ON or OFF

      ON: Power switch on (IG)

      OFF: Power switch off

      • Displays whether the IG power source signal input is on or off.

      • Use this Data List item to help determine the cause when all entry and start system /wireless functions do not operate.

      • If the electrical key transmitter sub-assembly is brought inside the vehicle and the power switch is pressed twice without depressing the brake pedal, the power switch will turn on (IG). At this time, the key ID code transmitted from the electrical key transmitter sub-assembly and the key ID code stored in the certification ECU (smart key ECU assembly) are compared, and the L code stored in the certification ECU (smart key ECU assembly) and the code stored in the steering lock ECU (steering lock actuator assembly) are compared, and if all codes match, the power source mode is considered on (IG) at that time.

      Body Electrical > Entry&Start > Data List

      Tester Display

      Ignition Switch

      OK

      The display is as specified in the normal condition column.

    Result

    Proceed to

    OK

    NG

    NG

    CHECK RELAY CONTACT SIDE CIRCUIT

    OK
  14. READ VALUE USING GTS (ACC SW, IG SW)

    1. Connect the GTS to the DLC3.

    2. Turn the power switch on (IG).

    3. Turn the GTS on.

    4. Enter the following menus: Body Electrical / Main Body / Data List.

    5. Read the Data List according to the display on the GTS.

      Body Electrical > Main Body > Data List

      Tester Display

      Measurement Item

      Range

      Normal Condition

      Diagnostic Note

      ACC SW

      Power switch status

      ON or OFF

      ON: Power switch on (ACC)

      OFF: Power switch off

      "ON" is also displayed for this item when the power switch is on (IG)

      IG SW

      Power switch status

      ON or OFF

      ON: Power switch on (IG)

      OFF: Power switch off

      "OFF" is also displayed for this item when the power switch is on (ACC)

      Body Electrical > Main Body > Data List

      Tester Display

      ACC SW

      IG SW

      OK

      The display is as specified in the normal condition column.

    Result

    Proceed to

    OK

    NG

    NG

    TROUBLESHOOT MAIN BODY ECU (MULTIPLEX NETWORK BODY ECU)

    OK
  15. CHECK HARNESS AND CONNECTOR (CERTIFICATION ECU - AUXILIARY BATTERY AND BODY GROUND)

    1. B274828C07

      *a

      Front view of wire harness connector

      (to Certification ECU [Smart Key ECU Assembly])

      Disconnect the G82 certification ECU (smart key ECU assembly) connector.

    2. Measure the resistance according to the value(s) in the table below.

      Standard Resistance

      Tester Connection

      Condition

      Specified Condition

      G82-11 (E) - Body ground

      Always

      Below 1 Ω

    3. Measure the voltage according to the value(s) in the table below.

      Standard Voltage

      Tester Connection

      Condition

      Specified Condition

      G82-10 (CUTB) - Body ground

      Always

      11 to 14 V

      G82-2 (+B) - Body ground

      Always

      11 to 14 V

    Result

    Proceed to

    OK

    NG

    NG

    REPAIR OR REPLACE HARNESS OR CONNECTOR

    OK
  16. CHECK HARNESS AND CONNECTOR (CERTIFICATION ECU - DOOR CONTROL RECEIVER)

    1. for 12 Pin Type:

      1. Disconnect the G83 certification ECU (smart key ECU assembly) connector.

      2. Disconnect the M11 door control receiver connector.

      3. Measure the resistance according to the value(s) in the table below.

        Standard Resistance

        Tester Connection

        Condition

        Specified Condition

        G83-5 (RCO) - M11-10 (+5)

        Always

        Below 1 Ω

        G83-17 (RDAM) - M11-9 (DATA)

        Always

        Below 1 Ω

        G83-6 (CSEL) - M11-6 (CSEL)

        Always

        Below 1 Ω

        G83-5 (RCO) or M11-10 (+5) - Body ground

        Always

        10 kΩ or higher

        G83-17 (RDAM) or M11-9 (DATA) - Body ground

        Always

        10 kΩ or higher

        G83-6 (CSEL) or M11-6 (CSEL) - Body ground

        Always

        10 kΩ or higher

      4. Connect the G83 certification ECU (smart key ECU assembly) connector.

    2. except 12 Pin Type:

      1. Disconnect the G83 certification ECU (smart key ECU assembly) connector.

      2. Disconnect the M10 door control receiver connector.

      3. Measure the resistance according to the value(s) in the table below.

        Standard Resistance

        Tester Connection

        Condition

        Specified Condition

        G83-5 (RCO) - M10-4 (+5)

        Always

        Below 1 Ω

        G83-17 (RDAM) - M10-5 (DATA)

        Always

        Below 1 Ω

        G83-6 (CSEL) - M10-2 (CSEL)

        Always

        Below 1 Ω

        G83-5 (RCO) or M10-4 (+5) - Body ground

        Always

        10 kΩ or higher

        G83-17 (RDAM) or M10-5 (DATA) - Body ground

        Always

        10 kΩ or higher

        G83-6 (CSEL) or M10-2 (CSEL) - Body ground

        Always

        10 kΩ or higher

      4. Connect the G83 certification ECU (smart key ECU assembly) connector.

    Result

    Proceed to

    OK

    NG

    NG

    REPAIR OR REPLACE HARNESS OR CONNECTOR

    OK
  17. CHECK DOOR CONTROL RECEIVER

    1. B274835C26

      *a

      Component with harness connected

      (Door Control Receiver)

      for 12 Pin Type:

      1. Connect the door control receiver connector.

      2. Measure the resistance according to the value(s) in the table below.

        Standard Resistance

        Tester Connection

        Condition

        Specified Condition

        M11-12 (E) - Body ground

        Always

        Below 1 Ω

    2. B274836C51

      *a

      Component with harness connected

      (Door Control Receiver)

      except 12 Pin Type:

      1. Connect the door control receiver connector.

      2. Measure the resistance according to the value(s) in the table below.

        Standard Resistance

        Tester Connection

        Condition

        Specified Condition

        M10-1 (GND) - Body ground

        Always

        Below 1 Ω

    Result

    Proceed to

    OK

    NG

    NG

    REPLACE DOOR CONTROL RECEIVER

    OK
  18. CHECK CERTIFICATION ECU (SMART KEY ECU ASSEMBLY)

    1. for 12 Pin Type:

      1. B274835C24

        *a

        Component with harness connected

        (Door Control Receiver)

        Measure the voltage according to the value(s) in the table below.

        Standard Voltage

        Tester Connection

        Condition

        Specified Condition

        M11-10 (+5) - M11-12 (E)

        • Procedure

        • Power switch off

        • Electrical key transmitter sub-assembly switch not pressed

        Below 1 V

        • Procedure

        • Power switch off

        • Electrical key transmitter sub-assembly switch pressed

        4.5 to 5.5 V

        M11-6 (CSEL) - M11-12 (E)

        Power switch off and all doors closed

        Below 1 V → 4.4 to 6.5 V → Below 1 V

        M11-1 (IG) - M11-12 (E)

        Power switch on (IG)

        10 to 16 V

    2. except 12 Pin Type:

      1. B274836C58

        *a

        Component with harness connected

        (Door Control Receiver)

        Measure the voltage according to the value(s) in the table below.

        Standard Voltage

        Tester Connection

        Condition

        Specified Condition

        M10-4 (+5) - M10-1 (GND)

        • Procedure

        • Power switch off

        • Electrical key transmitter sub-assembly switch not pressed

        Below 1 V

        • Procedure

        • Power switch off

        • Electrical key transmitter sub-assembly switch pressed

        4.5 to 5.5 V

        M10-2 (CSEL) - M10-1 (GND)

        Power switch off and all doors closed

        Below 1 V → 4.4 to 6.5 V → Below 1 V

    Result

    Proceed to

    OK

    NG

    NG

    REPLACE CERTIFICATION ECU (SMART KEY ECU ASSEMBLY)

    OK
  19. CHECK DOOR CONTROL RECEIVER

    1. for 12 Pin Type:

      1. B274835C25

        *a

        Component with harness connected

        (Door Control Receiver)

        Measure the voltage according to the value(s) in the table below.

        Standard Voltage

        Tester Connection

        Condition

        Specified Condition

        M11-9 (DATA) - M11-12 (E)

        • Procedure

        • All doors closed

        • All doors locked

        • Electrical key transmitter sub-assembly switch pressed

        Below 1 V → 10 to 16 V→ Below 1 V

    2. except 12 Pin Type:

      1. B274836C53

        *a

        Component with harness connected

        (Door Control Receiver)

        Measure the voltage according to the value(s) in the table below.

        Standard Voltage

        Tester Connection

        Condition

        Specified Condition

        M10-5 (DATA) - M10-1 (GND)

        • Procedure

        • All doors closed

        • All doors locked

        • Electrical key transmitter sub-assembly switch pressed

        Below 1 V → 10 to 16 V → Below 1 V

    Result

    Proceed to

    OK

    NG

    NG

    REPLACE DOOR CONTROL RECEIVER

    OK
  20. REPLACE CERTIFICATION ECU (SMART KEY ECU ASSEMBLY)

    1. Replace the certification ECU (smart key ECU assembly) with a new one.

      Tip:

      Refer to the Service Bulletin.

    Result

    Proceed to

    NEXT

    NEXT
  21. CHECK WIRELESS DOOR LOCK CONTROL SYSTEM

    1. Check that the wireless door lock functions operate normally.

      Click here

      OK

      Wireless door lock functions operate normally.

    Result

    Proceed to

    OK

    NG (for LHD)

    NG (for RHD)

    OK

    END (CERTIFICATION ECU [SMART KEY ECU ASSEMBLY] WAS DEFECTIVE)

    NG (for LHD)

    REPLACE MAIN BODY ECU (MULTIPLEX NETWORK BODY ECU)

    NG (for RHD)

    REPLACE MAIN BODY ECU (MULTIPLEX NETWORK BODY ECU)

  22. CHECK ELECTRICAL KEY TRANSMITTER SUB-ASSEMBLY

    1. Check if there are any other registered electrical key transmitter sub-assemblies.

      Result

      Result

      Proceed to

      There are no other registered electrical key transmitter sub-assemblies

      A

      There is another registered electrical key transmitter sub-assemblies

      B

    B

    CHECK WAVE ENVIRONMENTClick here

    A
  23. ELECTRICAL KEY TRANSMITTER SUB-ASSEMBLY REGISTRATION (NEW ELECTRICAL KEY TRANSMITTER SUB-ASSEMBLY)

    1. Register a new electrical key transmitter sub-assembly.

      Tip:

      Refer to the Service Bulletin.

    Result

    Proceed to

    NEXT

    NEXT
  24. CHECK WAVE ENVIRONMENT

    1. Bring another registered electrical key transmitter sub-assembly near the door control receiver and select the failed channel (the channel in which the buzzer did not sound) to recheck the key diagnostic mode.

      Click hereClick here

      Tip:
      • When the electrical key transmitter sub-assembly is brought near the door control receiver, the possibility of wave interference decreases, and it can be determined if wave interference is causing the problem symptom.

      • If the inspection result is that the problem only occurs in certain locations or at certain times of day, the possibility of wave interference is high. Also, added vehicle components may cause wave interference. If installed, remove them and perform the operation check.

      • There may be wave interference if the vehicle is near broadcasting antennas, large video displays, wireless garage door opener systems, wireless security cameras, home security systems, etc. In this case, move the vehicle to a different location and check if there is any improvement.

      • If a tool for checking electric waves, such as a signal strength meter, is available, move around the area while observing both the LF band (used by the vehicle antenna to form the detection area) and RF band (used by the electrical key transmitter sub-assembly for transmission) to check for locations where there is wave interference.

      OK

      Wireless door lock buzzer sounds.

    Result

    Proceed to

    OK

    NG

    OK

    END (ELECTRICAL KEY TRANSMITTER SUB-ASSEMBLY WAS DEFECTIVE)

    NG
  25. CHECK HARNESS AND CONNECTOR (CERTIFICATION ECU - DOOR CONTROL RECEIVER)

    1. for 12 Pin Type:

      1. Disconnect the G83 certification ECU (smart key ECU assembly) connector.

      2. Disconnect the M11 door control receiver connector.

      3. Measure the resistance according to the value(s) in the table below.

        Standard Resistance

        Tester Connection

        Condition

        Specified Condition

        M11-6 (CSEL) - G83-6 (CSEL)

        Always

        Below 1 Ω

        M11-6 (CSEL) or G83-6 (CSEL) - Body ground

        Always

        10 kΩ or higher

      4. Connect the G83 certification ECU (smart key ECU assembly) connector.

    2. except 12 Pin Type:

      1. Disconnect the G83 certification ECU (smart key ECU assembly) connector.

      2. Disconnect the M10 door control receiver connector.

      3. Measure the resistance according to the value(s) in the table below.

        Standard Resistance

        Tester Connection

        Condition

        Specified Condition

        M10-2 (CSEL) - G83-6 (CSEL)

        Always

        Below 1 Ω

        M10-2 (CSEL) or G83-6 (CSEL) - Body ground

        Always

        10 kΩ or higher

      4. Connect the G83 certification ECU (smart key ECU assembly) connector.

    Result

    Proceed to

    OK

    NG

    NG

    REPAIR OR REPLACE HARNESS OR CONNECTOR

    OK
  26. CHECK CERTIFICATION ECU (SMART KEY ECU ASSEMBLY)

    1. for 12 Pin Type:

      1. B274835C28

        *a

        Component with harness connected

        (Door Control Receiver)

        Connect the M11 door control receiver connector.

      2. Measure the voltage according to the value(s) in the table below.

        Standard Voltage

        Tester Connection

        Condition

        Specified Condition

        M11-6 (CSEL) - M11-12 (E)

        Power switch off and all doors closed

        Below 1 V → 4.5 to 6 V → Below 1 V

    2. except 12 Pin Type:

      1. B274836C54

        *a

        Component with harness connected

        (Door Control Receiver)

        Connect the M10 door control receiver connector.

      2. Measure the voltage according to the value(s) in the table below.

        Standard Voltage

        Tester Connection

        Condition

        Specified Condition

        M10-2 (CSEL) - M10-1 (GND)

        Power switch off and all doors closed

        Below 1 V → 4.5 to 6 V → Below 1 V

    Result

    Proceed to

    OK

    NG

    NG

    REPLACE CERTIFICATION ECU (SMART KEY ECU ASSEMBLY)

    OK
  27. CHECK DOOR CONTROL RECEIVER

    1. for 12 Pin Type:

      1. B274835C27

        *a

        Component with harness connected

        (Door Control Receiver)

        Measure the voltage according to the value(s) in the table below.

        Tip:

        Inspection should be performed while the electrical key antenna check in key diagnostic mode is being performed on the failed channel (the channel in which the buzzer did not sound).

        Standard Voltage

        Tester Connection

        Condition

        Specified Condition

        M11-9 (DATA) - M11-12 (E)

        • Procedure

        • All doors closed

        • All doors locked

        • Electrical key transmitter sub-assembly switch pressed*

        Below 1 V → 10 to 16 V → Below 1 V

        *: While the electrical key antennas are being inspected in key diagnostic mode.

        Click hereClick here

    2. except 12 Pin Type:

      1. B274836C53

        *a

        Component with harness connected

        (Door Control Receiver)

        Measure the voltage according to the value(s) in the table below.

        Tip:

        Inspection should be performed while the electrical key antenna check in key diagnostic mode is being performed on the failed channel (the channel in which the buzzer did not sound).

        Standard Voltage

        Tester Connection

        Condition

        Specified Condition

        M10-5 (DATA) - M10-1 (GND)

        • Procedure

        • All doors closed

        • All doors locked

        • Electrical key transmitter sub-assembly switch pressed*

        Below 1 V → 10 to 16 V → Below 1 V

        *: While the electrical key antennas are being inspected in key diagnostic mode.

        Click hereClick here

    Result

    Proceed to

    OK

    NG

    NG

    REPLACE DOOR CONTROL RECEIVER

    OK
  28. REPLACE CERTIFICATION ECU (SMART KEY ECU ASSEMBLY)

    1. Replace the certification ECU (smart key ECU assembly) with a new one.

      Tip:

      Refer to the Service Bulletin.

    Result

    Proceed to

    NEXT

    NEXT
  29. CHECK WIRELESS DOOR LOCK CONTROL SYSTEM

    1. Check that the wireless door lock functions operate normally.

      Click here

      OK

      Wireless door lock functions operate normally.

    Result

    Proceed to

    OK

    NG (for LHD)

    NG (for RHD)

    OK

    END (CERTIFICATION ECU [SMART KEY ECU ASSEMBLY] WAS DEFECTIVE)

    NG (for LHD)

    REPLACE MAIN BODY ECU (MULTIPLEX NETWORK BODY ECU)

    NG (for RHD)

    REPLACE MAIN BODY ECU (MULTIPLEX NETWORK BODY ECU)