REAR VIEW MONITOR SYSTEM Image from Camera for Rear View Monitor is Abnormal

DESCRIPTION


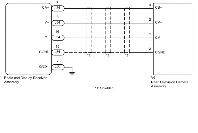
WIRING DIAGRAM

A0059VOE32

PROCEDURE


  1. CHECK HARNESS AND CONNECTOR (RADIO AND DISPLAY RECEIVER ASSEMBLY - REAR TELEVISION CAMERA ASSEMBLY)


    1. Disconnect the L34 radio and display receiver assembly connector.

    2. Disconnect the V6 rear television camera assembly connector.

    3. Measure the resistance according to the value(s) in the table below.

      Standard Resistance
      Tester Connection Condition Specified Condition
      L34-7 (CA+) - V6-4 (CB+) Always Below 1 Ω
      L34-8 (V+) - V6-2 (CV+) Always Below 1 Ω
      L34-15 (CGND) - V6-3 (CGND) Always Below 1 Ω
      L34-16 (V-) - V6-1 (CV-) Always Below 1 Ω
      L34-7 (CA+) - Body ground Always 10 kΩ or higher
      L34-8 (V+) - Body ground Always 10 kΩ or higher
      L34-15 (CGND) - Body ground Always 10 kΩ or higher
      L34-16 (V-) - Body ground Always 10 kΩ or higher

    NG
    OK
  2. INSPECT RADIO AND DISPLAY RECEIVER ASSEMBLY


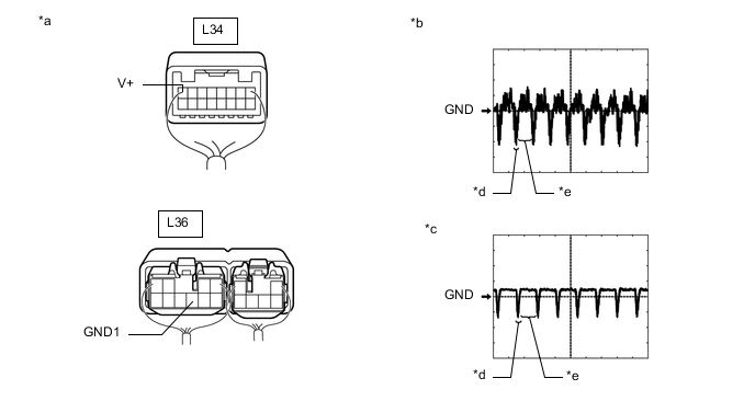
    1. A005DHCE02
      Text in Illustration
      *a

      Component with harness connected

      (Radio and Display Receiver Assembly)

      Reconnect the L34 radio and display receiver assembly connector.

    2. Measure the resistance according to the value(s) in the table below.

      Standard Resistance
      Tester Connection Condition Specified Condition
      L34-15 (CGND) - Body ground Always Below 1 Ω
      L34-16 (V-) - Body ground Always Below 1 Ω
    3. Measure the voltage according to the value(s) in the table below.

      Standard Voltage
      Tester Connection Condition Specified Condition
      L34-7 (CA+) - L34-15 (CGND) Within 60 seconds of turning the power switch on (ACC) 5.5 to 7.05 V

    NG
    OK
  3. INSPECT REAR TELEVISION CAMERA ASSEMBLY


    1. Reconnect the V6 rear television camera assembly connector.

    2. Check the waveform of the rear television camera assembly using an oscilloscope.

      A005E3WE01

      Tech Tips

      A waterproof connector is used for the rear television camera assembly. Therefore, inspect the waveform at the radio and display receiver assembly with the connector connected.

      OK
      Waveform is similar to that shown in the illustration.
      Item Content
      Terminal No. (Symbol) L34-8 (V+) - L36-7 (GND1)
      Tool Setting 200 mV/DIV., 50 μs/DIV.
      Condition Power switch on (READY), reverse (R) selected

      Tech Tips

      The video waveform changes according to the image sent by the rear television camera assembly.

      Text in Illustration
      *a

      Component with harness connected

      (Radio and Display Receiver Assembly)

      *b Waveform 1 (camera lens not covered, displaying an image)
      *c Waveform 2 (camera lens covered, blacking out the screen)
      *d Synchronization Signal
      *e Video Waveform

    OK
    NG