WHEN REMOVING,INSTALLING,REPAIRING OR REPLACING PARTS WHEEL ALIGNMENT STANDARD

Note

If a wheel alignment has been performed, or if suspension or underbody components have been removed/installed or replaced, be sure to perform the following initialization procedure in order for the system to function normally:


  • Perform zero point calibration of the yaw rate and acceleration sensor.


  1. MEASURE VEHICLE HEIGHT

    Note


    • Before inspecting the wheel alignment, adjust the vehicle height to the specified value.

    • Be sure to perform measurement on a level surface.

    • If it is necessary to go under the vehicle for measurement, confirm that the parking brake is applied and the vehicle is secured with chocks.

    • Inspect while the vehicle is unloaded.

    • The standard value shown here is a value that is used for performing a wheel alignment and does not indicate the height of an actual vehicle.


    1. Bounce the vehicle up and down at the corners to stabilize the suspension.

    2. A01O6MQN01

      Measure the vehicle height.


        Measurement Points:

      • A: Ground clearance of front wheel center


      • B: Ground clearance of front lower suspension arm bushing set bolt center


      • C: Ground clearance of rear wheel center


      • D: Ground clearance of rear trailing arm bushing set bolt center

    3. FRONT WHEEL ALIGNMENT


      1. INSPECT CAMBER, CASTER AND STEERING AXIS INCLINATION

        Note

        Inspect while the vehicle is unloaded.


        1. A01O6VFC16
    4. *a Turning Radius Gauge
      *b Camber-caster-kingpin Gauge

Install a camber-caster-kingpin gauge and place the front wheels on the center of a turning radius gauge.

  • Inspect the camber, caster and steering axis inclination.

  • INSPECT TOE-IN

    Note

    Inspect while the vehicle is unloaded.


    1. Bounce the vehicle up and down at the corners to stabilize the suspension.

    2. Release the parking brake and move the shift lever to N.

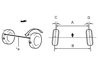
    3. Push the vehicle straight ahead approximately 5 m (16.4 ft.). (Step C)

    4. A01O6UFC01
  • *a Tread Center Mark
    *b Dimension B
    A01O6K4 Front of the Vehicle
  • Put tread center marks on the rearmost points of the front wheels and measure the distance between the marks (dimension B).

  • Slowly push the vehicle straight ahead to cause the front wheels to rotate 180°. Use the front tire valve as a reference point.

    Tech Tips

    Do not allow the wheels to rotate more than 180°. If the wheels rotate more than 180°, perform the procedure from step C again.

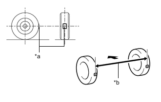
  • A01O6PRC01
    *a Dimension A
    A01O6K4 Front of the Vehicle

    Measure the distance between the tread center marks on the front of the wheels (dimension A).

    Tech Tips

    Measure "B - A" only when "C + D" cannot be measured.

    If the toe-in is not within the specified range, adjust it at the steering rack ends.

  • INSPECT WHEEL ANGLE


    1. A01O6MCC03
  • *a Inside
    *b Outside
    A01O6K4 Front of the Vehicle

    Put tread center marks on the rearmost points of a turning radius gauge.

  • Turn the steering wheel fully to the left and right and measure the turning angle.

    Note

    Inspect while the vehicle is unloaded.


  • REAR WHEEL ALIGNMENT


    1. INSPECT CAMBER

      Note

      Inspect while the vehicle is unloaded.


      1. A01O6OBC10
  • *a Camber-caster-kingpin Gauge

    Install a camber-caster-kingpin gauge.

  • Inspect the camber.

    Tech Tips

    Camber is not adjustable. If the measurement is not within the specified range, inspect the suspension parts for damage and/or wear, and replace them if necessary.

  • INSPECT TOE-IN

    Note

    Inspect while the vehicle is unloaded.


    1. Bounce the vehicle up and down at the corners to stabilize the suspension.

    2. Release the parking brake and move the shift lever to N.

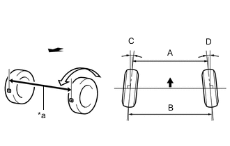
    3. Push the vehicle straight ahead approximately 5 m (16.4 ft.). (Step A)

    4. A01O6UFC02
  • *a Tread Center Mark
    *b Dimension B
    A01O6K4 Front of the Vehicle

    Put tread center marks on the rearmost points of the rear wheels and measure the distance between the marks (dimension B).

  • Slowly push the vehicle straight ahead to cause the rear wheels to rotate 180°. Use the rear tire valve as a reference point.

    Tech Tips

    Do not allow the wheels to rotate more than 180°. If the wheels rotate more than 180°, perform the procedure from step A again.

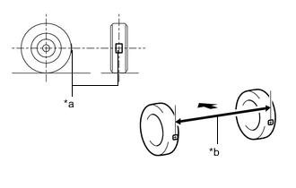
  • A01O6PRC02
    *a Dimension A
    A01O6K4 Front of the Vehicle

    Measure the distance between the tread center marks on the front of the rear wheels (dimension A).

    Tech Tips

    Measure "B - A" only when "C + D" cannot be measured.

    If the toe-in is not within the specified range, adjust it at the toe control link sub-assembly or steering rack ends.