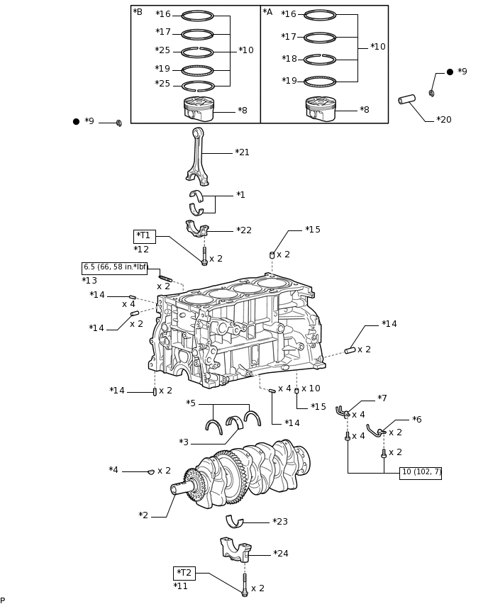
CYLINDER BLOCK COMPONENTS
ILLUSTRATION
*A |
Type A |
*B |
Type B |
*1 |
CONNECTING ROD BEARING |
*2 |
CRANKSHAFT |
*3 |
CRANKSHAFT BEARING |
*4 |
CRANKSHAFT PULLEY KEY |
*5 |
CRANKSHAFT THRUST WASHER |
*6 |
NO. 1 OIL NOZZLE SUB-ASSEMBLY |
*7 |
NO. 2 OIL NOZZLE SUB-ASSEMBLY |
*8 |
PISTON |
*9 |
PISTON PIN HOLE SNAP RING |
*10 |
PISTON RING SET |
*11 |
CRANKSHAFT BEARING CAP SET BOLT |
*12 |
CONNECTING ROD BOLT |
*13 |
STUD BOLT |
*14 |
STRAIGHT PIN |
*15 |
RING PIN |
*16 |
NO. 1 COMPRESSION RING |
*17 |
NO. 2 COMPRESSION RING |
*18 |
OIL RING |
*19 |
OIL RING EXPANDER |
*20 |
PISTON PIN |
*21 |
CONNECTING ROD |
*22 |
CONNECTING ROD CAP |
*23 |
NO. 2 CRANKSHAFT BEARING |
*24 |
CRANKSHAFT BEARING CAP |
*25 |
OIL RING SIDE RAIL |
- |
- |
![]() |
N*m (kgf*cm, ft.*lbf): Specified torque |
● |
Non-reusable part |
*T1 |
1st: 40 (408, 30) 2nd: Turn 90° |
*T2 |
1st: 20 (204, 15) 2nd: 40 (408, 30) 3rd: Turn 90° |
