СИСТЕМА ОСВЕЩЕНИЯ Сигнальная цепь зажигания

Код DTC Наименование DTC
Сигнальная цепь зажигания

ОПИСАНИЕ

Данная цепь определяет состояние замка зажигания (ON (ВКЛ) или OFF (ВЫКЛ)) и передает в соответствующий сигнал в главный ЭБУ кузова (бортовой ЭБУ сети мультиплексной связи).

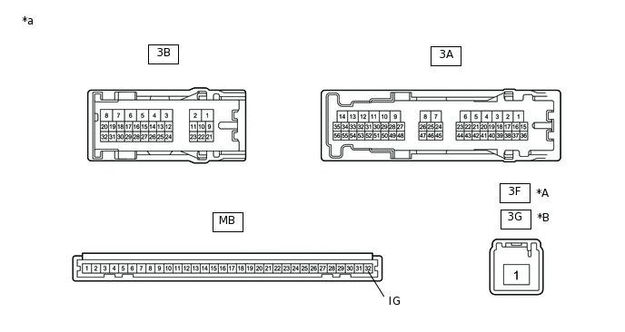
СХЕМА СОЕДИНЕНИЙ

E380181E01

ПРЕДОСТЕРЕЖЕНИЕ / ПРИМЕЧАНИЕ / УКАЗАНИЕ

Note:
  • Перед выполнением последующей процедуры проверки проверьте плавкие предохранители цепей, относящихся к данной системе.

  • В первую очередь, проверьте коды DTC интеллектуальной системы посадки и запуска (функции запуска) и, убедившись в отсутствии неисправности, перейдите к поиску неисправностей.*1

    Нажмите здесьЩелкните по следующей ссылке

  • Перед заменой главного ЭБУ кузова (бортового ЭБУ сети мультиплексной связи) обратитесь к бюллетеню технического обслуживания.*1

  • Главный ЭБУ кузова (бортовой ЭБУ сети мультиплексной связи) получает питание аккумуляторной батареи автомобиля через аккумуляторную батарею системы блокировки дверей. По этой причине перед процедурой диагностики выполните проверку без снятия с автомобиля и убедитесь, что цепь питания главного ЭБУ кузова (бортового ЭБУ сети мультиплексной связи) исправна.*2

    Нажмите здесьЩелкните по следующей ссылке

    • *1: для моделей с интеллектуальной системой посадки и запуска

    • *2: для моделей с батареей системы блокировки дверей

ПОРЯДОК ВЫПОЛНЕНИЯ

  1. СНИМИТЕ ПОКАЗАНИЯ GTS

    1. Подключите GTS к DLC3.

    2. Установите замок зажигания в положение ON (ВКЛ).

    3. Включите GTS.

    4. Войдите в следующие меню: Body Electrical / Main Body / Data List.

    5. Снимите показания с дисплея GTS в режиме DATA LIST.

      Body Electrical > Main Body > Data List

      Информация на дисплее прибора

      Измеряемая величина

      Диапазон

      Нормальное состояние

      Замечание по диагностике

      IG SW

      Сигнал положения ON (ВКЛ) замка зажигания

      OFF (ВЫКЛ) или ON (ВКЛ)

      OFF (ВЫКЛ): Зажигание выключено

      ON (ВКЛ): Зажигание включено

      Когда замок зажигания находится в состоянии ACC, этот параметр также имеет значение "OFF" (ВЫКЛ).

      Body Electrical > Main Body > Data List

      Информация на дисплее прибора

      IG SW

      OK

      Отображаются нормальные состояния, указанные выше.

    Result

    Перейти к

    OK

    НЕ СООТВ.

    OK

    ПЕРЕЙДИТЕ К СЛЕДУЮЩЕЙ ПРЕДПОЛАГАЕМОЙ ЗОНЕ, УКАЗАННОЙ В ТАБЛИЦЕ ПРИЗНАКОВ НЕИСПРАВНОСТЕЙ

    NG
  2. ПРОВЕРЬТЕ ЖГУТ ПРОВОДОВ И РАЗЪЕМ (ЦЕПЬ ПИТАНИЯ)

    1. Отсоедините разъемы 3F*1 или 3G*2 и 3B распределительного блока панели приборов.

    2. Отсоедините разъем K51 главного ЭБУ кузова (бортового ЭБУ сети мультиплексной связи).

    3. Измерьте напряжение в соответствии со значениями, приведенными в таблице.

      Номинальное напряжение

      Подключение диагностического прибора

      Условие

      Заданные условия

      3F-1 - масса*1

      Всегда

      11-14 В

      3G-1 - масса*2

      Всегда

      11-14 В

      • *1: для моделей с левосторонним рулевым управлением

      • *2: для моделей с правосторонним рулевым управлением

    4. Измерьте сопротивление в соответствии со значениями, приведенными в таблице ниже.

      Номинальное сопротивление

      Подключение диагностического прибора

      Условие

      Заданные условия

      3B-3 - масса

      Всегда

      Менее 1 Ом

      K51-19 (GND2) - масса

      Всегда

      Менее 1 Ом

    Результат

    Перейти к

    OK

    НЕ СООТВ.

    НЕ СООТВ.

    ОТРЕМОНТИРУЙТЕ ИЛИ ЗАМЕНИТЕ ЖГУТ ПРОВОДОВ ИЛИ РАЗЪЕМ

    СООТВ
  3. ПРОВЕРЬТЕ РАСПРЕДЕЛИТЕЛЬНЫЙ БЛОК ПАНЕЛИ ПРИБОРОВ В СБОРЕ

    E333577C22

    *A

    Для моделей с левосторонним рулевым управлением

    *B

    Для моделей с правосторонним рулевым управлением

    *a

    Устройство с неподсоединенным жгутом проводов

    (Распределительный блок панели приборов в сборе)

    -

    -

    1. Снимите распределительный блок панели приборов в сборе.

      Нажмите здесьЩелкните по следующей ссылкеЩелкните по следующей ссылке

    2. Снимите главный ЭБУ кузова (бортовой ЭБУ сети мультиплексной связи) с распределительного блока панели приборов в сборе.

      Нажмите здесьЩелкните по следующей ссылкеЩелкните по следующей ссылке

    3. Измерьте сопротивление в соответствии со значениями, приведенными в таблице ниже.

      Номинальное сопротивление

      Table 1. для моделей с левосторонним рулевым управлением.

      Подключение диагностического прибора

      Условие

      Номинальное значение

      3F-1 - MB-32 (IG)

      Аккумуляторная батарея не подсоединена к контактам 3A-17 и 3B-3

      10 кОм или более

      3F-1 - MB-32 (IG)

      Положительный (+) вывод аккумуляторной батареи → 3A-17

      Отрицательный (-) вывод аккумуляторной батареи → 3B-3

      Менее 1 Ом

      Table 2. Для моделей с правосторонним рулевым управлением

      Подключение диагностического прибора

      Условие

      Заданные условия

      3G-1 - MB-32 (IG)

      Аккумуляторная батарея не подсоединена к контактам 3A-17 и 3B-3

      10 кОм или более

      3G-1 - MB-32 (IG)

      Положительный (+) вывод аккумуляторной батареи → 3A-17

      Отрицательный (-) вывод аккумуляторной батареи → 3B-3

      Менее 1 Ом

    Результат

    Перейти к

    OK

    НЕ СООТВ.

    OK

    ЗАМЕНИТЕ ГЛАВНЫЙ ЭБУ КУЗОВА (БОРТОВОЙ ЭБУ СЕТИ МУЛЬТИПЛЕКСНОЙ СВЯЗИ)

    NG

    ЗАМЕНИТЕ РАСПРЕДЕЛИТЕЛЬНЫЙ БЛОК ПАНЕЛИ ПРИБОРОВ В СБОРЕ