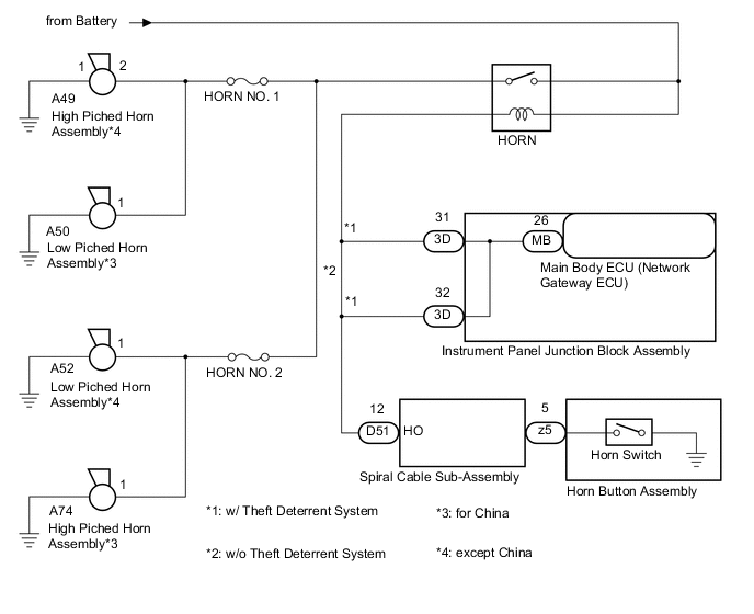
HORN SYSTEM SYSTEM DIAGRAM

A004KIPE02