CYLINDER HEAD REPLACEMENT

PROCEDURE

  1. REPLACE INTAKE VALVE GUIDE BUSH

    1. Heat the cylinder head sub-assembly to approximately 80 to 100°C (176 to 212°F).

    2. Place the cylinder head sub-assembly on wooden blocks.

    3. A194970E01

      Using SST and a hammer, tap out the intake valve guide bush.

      09201-01055

      09950-70010

      09951-07100

    4. Using a caliper gauge, measure the bush bore diameter of the cylinder head sub-assembly.

      Standard bush bore diameter

      10.285 to 10.306 mm (0.405 to 0.406 in.)

      If the bush bore diameter of the cylinder head sub-assembly is between 10.285 and 10.306 mm (0.405 and 0.406 in.), proceed to the next step.

      If the bush bore diameter of the cylinder head sub-assembly is 10.356 mm (0.408 in.) or more, replace the cylinder head sub-assembly.

    5. Select a new intake valve guide bush (STD or O/S 0.05) and measure its diameter.

    6. Machine the bush bore of the cylinder head sub-assembly to the diameter of the selected intake valve guide bush.

      Bush Bore Diameter

      Bush Size

      Specified Condition

      STD

      10.333 to 10.344 mm (0.4068 to 0.4072 in.)

      O/S 0.05

      10.383 to 10.394 mm (0.4088 to 0.4092 in.)

      Standard bush length

      41.3 to 41.7 mm (1.626 to 1.642 in.)

    7. Heat the cylinder head sub-assembly to approximately 80 to 100°C (176 to 212°F).

    8. A194972C14

      *a

      Protrusion Height

      Using SST and a hammer, tap in the selected intake valve guide bush to the standard protrusion height.

      09201-10000

      09201-01050

      09950-70010

      09951-07100

      Standard protrusion height

      14.8 to 15.2 mm (0.583 to 0.598 in.)

    9. A194973

      Using a sharp 5.5 mm reamer, ream the intake valve guide bush to obtain the standard oil clearance between the intake valve guide bush and valve stem.

      Standard oil clearance

      0.025 to 0.060 mm (0.000984 to 0.00236 in.)

  2. REPLACE EXHAUST VALVE GUIDE BUSH

    1. Heat the cylinder head sub-assembly to approximately 80 to 100°C (176 to 212°F).

    2. Place the cylinder head sub-assembly on wooden blocks.

    3. A246228E01

      Using SST and a hammer, tap out the exhaust valve guide bush.

      09201-01055

      09950-70010

      09951-07100

    4. Using a caliper gauge, measure the bush bore diameter of the cylinder head sub-assembly.

      Standard bush bore diameter

      10.285 to 10.306 mm (0.405 to 0.406 in.)

      If the bush bore diameter of the cylinder head sub-assembly is between 10.285 and 10.306 mm (0.405 and 0.406 in.), proceed to the next step.

      If the bush bore diameter of the cylinder head sub-assembly is 10.356 mm (0.408 in.) or more, replace the cylinder head sub-assembly.

    5. Select a new exhaust valve guide bush (STD or O/S 0.05) and measure its diameter.

    6. Machine the bush bore of the cylinder head sub-assembly to the diameter of the selected exhaust valve guide bush.

      Bush Bore Diameter

      Bush Size

      Specified Condition

      STD

      10.333 to 10.344 mm (0.4068 in 0.4072 in.)

      O/S 0.05

      10.383 to 10.394 mm (0.4088 to 0.4092 in.)

      Standard bush length

      46.8 to 47.2 mm (1.843 to 1.858 in.)

    7. Heat the cylinder head sub-assembly to approximately 80 to 100°C (176 to 212°F).

    8. A285337C08

      *a

      Protrusion Height

      Using SST and a hammer, tap in the selected exhaust valve guide bush to the standard protrusion height.

      09201-10000

      09201-01050

      09950-70010

      09951-07100

      Standard protrusion height

      14.2 to 14.6 mm (0.559 to 0.575 in.)

    9. A246230

      Using a sharp 5.5 mm reamer, ream the exhaust valve guide bush to obtain the standard oil clearance between the exhaust valve guide bush and valve stem.

      Standard oil clearance

      0.030 to 0.065 mm (0.00118 to 0.00256 in.)

  3. REPLACE SPARK PLUG TUBE

    Tip:

    When using a new cylinder head sub-assembly, the spark plug tubes must be replaced.

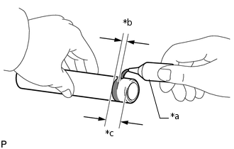
    1. A194988C08

      *a

      Adhesive

      *b

      Application Width

      *c

      Distance

      Apply adhesive onto the shaded area of a new spark plug tube.

      Adhesive

      Toyota Genuine Adhesive 1324, Three Bond 1324 or equivalent.

      Standard application width

      1.0 to 3.0 mm (0.0394 to 0.1181 in.)

      Distance

      1.0 to 7.0 mm (0.0394 to 0.2756 in.)

      Note:
      • Install the spark plug tube within 3 minutes after applying adhesive.

      • Be careful not to deform the spark plug tube.

      • Be careful not to expose the seal to coolant for at least 1 hour after installing it.

    2. A194971C14

      *a

      Protrusion Height

      Using a wooden block and hammer, tap in the spark plug tube to the specified protrusion height.

      Standard protrusion height

      112 mm (4.41 in.)

      Note:

      To avoid tapping in the spark plug tube too far, measure the protrusion height while tapping it.

  4. REPLACE RING PIN

    Note:

    It is not necessary to remove the ring pin unless it is being replaced.

    1. Remove the ring pins.

    2. A194963C06

      *a

      Protrusion Height

      Using a plastic-faced hammer, tap in new ring pins to the cylinder head sub-assembly.

      Standard protrusion height

      6.5 to 7.5 mm (0.256 to 0.295 in.)