СИСТЕМА ОСВЕЩЕНИЯ ОБЩИЕ СВЕДЕНИЯ


  1. ОПИСАНИЕ


    1. Наружное освещение


      1. Система переднего освещения включает в себя следующие устройства:

        A01EZM6E01
        Текст на рисунке
        *A Для моделей с передними противотуманными фарами *B Для моделей с повторителем указателя поворота
        *C Для моделей с указателями поворота на наружных зеркалах - -
        *1 Фара (ближнего/дальнего света) *2 Передние противотуманные фары
        *3 Передний габаритный фонарь *4 Передний указатель поворота
        *5 Повторитель указателя поворота *6 Указатель поворота на наружном зеркале
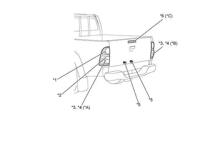
      2. Система заднего освещения включает в себя следующие устройства:

        A01EZFXE01
        Текст на рисунке
        *A Для моделей с левосторонним рулевым управлением и задними противотуманными фонарями *B Для моделей с правосторонним рулевым управлением и задними противотуманными фонарями
        *C Для моделей с центральным стоп-сигналом в сборе - -
        *1 Задний фонарь / стоп-сигнал *2 Задний указатель поворота
        *3 Фонарь заднего хода *4 Задний противотуманный фонарь
        *5 Лампа освещения номерного знака в сборе *6 Центральный стоп-сигнал в сборе
    2. Система подфарников, включаемых при движении в светлое время суток


      1. Эта система обеспечивает автоматическое включение фар ближнего света, передних габаритных фонарей, ламп освещения номерного знака и задних фонарей в дневное время, чтобы автомобиль был четко различим водителями других автомобилей.

    3. Система автоматического управления освещением


      1. Когда переключатель освещения установлен в положение AUTO, датчик автоматического управления освещением определяет уровень окружающей освещенности и автоматически включает и выключает фары, задние фонари, габаритные фонари и лампы освещения номерного знака.

    4. Система автоматического выключения освещения


      1. Эта система автоматически выключает фары, задние фонари и т. д., когда ключ в замке зажигания выключается и открывается дверь водителя.

    5. Ручная система управления уровнем фар


      1. Ручная система управления уровнем фар позволяет отрегулировать направление ближнего света фар по вертикали в соответствии с числом (массой) пассажиров и объемом багажа.

  2. ТЕХНИЧЕСКИЕ ХАРАКТЕРИСТИКИ


    1. Наружное освещение

      Устройства Тип Технические характеристики
      Фара в сборе Фара ближнего света Галогенная лампа / H4 55 Вт
      Фара дальнего света Галогенная лампа / H4 60 Вт
      Передний габаритный фонарь Лампа / W5W 5 Вт
      Передний указатель поворота Лампа / WY21W 21 Вт
      Повторитель указателя поворота*1 Лампа / W5W 5 Вт
      Указатель поворота на наружном зеркале*2 Лампа / WY5W 5 Вт
      Передняя противотуманная фара*3 Лампа / HB4*6, H16*7 51 W*6, 19 W*7
      Задний блок фонарей Задний фонарь / стоп-сигнал Лампа / P21/5W 5 Вт / 21 Вт
      Задний указатель поворота Лампа / PY21W 21 Вт
      Задний противотуманный фонарь*4 Лампа / P21W 21 Вт
      Фонарь заднего хода Лампа / P21W 21 Вт
      Центральный стоп-сигнал в сборе*5 Светодиод (СИД), 6 шт. 1,6 Вт
      Лампа освещения номерного знака в сборе Лампа / W5W 5 Вт

      • *1: для моделей с повторителями указателей поворота

      • *2: для моделей с указателями поворота на наружных зеркалах

      • *3: для моделей с передними противотуманными фарами

      • *4: для моделей с задними противотуманными фонарями

      • *5: для моделей с центральным стоп-сигналом в сборе

      • *6: кроме моделей для Европы

      • *7: для моделей для Европы