CLUTCH PEDAL(for LHD) REMOVAL

PROCEDURE

  1. REMOVE MAIN BODY ECU (INSTRUMENT PANEL JUNCTION BLOCK)

  2. DISCONNECT CONNECTORS

  3. REMOVE CLUTCH PEDAL SWITCH ASSEMBLY

  4. REMOVE NO. 2 CLUTCH PEDAL SWITCH ASSEMBLY

  5. REMOVE CLUTCH MASTER CYLINDER PUSH ROD CLEVIS WITH HOLE PIN

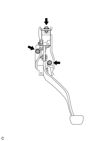
    1. C207390C01

      *A

      for 1ZR-FE, 1ZR-FAE, 1ND-TV, 8NR-FTS

      *B

      for 1NR-FE

      Remove the clip from the clutch master cylinder push rod clevis with hole pin.

    2. Remove the clutch master cylinder push rod clevis with hole pin from the clutch pedal sub-assembly.

  6. REMOVE CLUTCH PEDAL SUPPORT SUB-ASSEMBLY

    1. C319123

      Remove the 2 nuts, bolt and clutch pedal support sub-assembly from the vehicle body.

    2. C319130

      Remove the clip nut from the clutch pedal support sub-assembly.

  7. REMOVE CLUTCH PEDAL STOPPER BOLT

    1. C274642

      Remove the clutch pedal stopper bolt from the clutch pedal support sub-assembly.

  8. REMOVE CLUTCH PEDAL SPRING (for 1NR-FE)

    1. C164519

      Remove the clutch pedal spring from the clutch pedal sub-assembly and clutch pedal support sub-assembly.

  9. REMOVE PEDAL WITH HOOK SPRING (except 1NR-FE)

    1. Mount the clutch pedal sub-assembly in a soft jaw vise.

      Note:

      Be careful not to damage the clutch pedal sub-assembly in the vise.

    2. C274638C01

      *1

      Pedal With Hook Spring

      *2

      Clutch Pedal Spring Holder

      *3

      Turnover Bushing

      While the clutch pedal sub-assembly is fully depressed, remove the pedal with hook spring from the clutch pedal sub-assembly and clutch pedal support sub-assembly.

    3. Remove the clutch pedal spring holder from the clutch pedal support sub-assembly.

    4. Remove the turnover bushing from the clutch pedal sub-assembly.

  10. REMOVE CLUTCH PEDAL SUB-ASSEMBLY

    1. C319124

      Remove the bolt and nut.

    2. Remove the clutch pedal sub-assembly from the clutch pedal support sub-assembly.

  11. REMOVE CLUTCH PEDAL PAD

    1. C224781

      Remove the clutch pedal pad from the clutch pedal sub-assembly.

  12. REMOVE CLUTCH PEDAL BUSHING

    1. C319125

      Remove the 2 clutch pedal bushings from the clutch pedal sub-assembly.

  13. REMOVE NO. 1 CLUTCH PEDAL CUSHION

    1. C319126

      Using needle-nose pliers, remove the 2 No. 1 clutch pedal cushions from the clutch pedal sub-assembly.

  14. REMOVE CLUTCH MASTER CYLINDER PUSH ROD CLEVIS BUSHING

    1. C319127

      Using an 8 mm hexagon wrench and a hammer, remove the clutch master cylinder push rod clevis bushing from the clutch pedal sub-assembly.