УКАЗАНИЯ ПО ВЫПОЛНЕНИЮ РЕМОНТА МЕРЫ ПРЕДОСТОРОЖНОСТИ
ОСНОВНЫЕ УКАЗАНИЯ ПО ВЫПОЛНЕНИЮ РЕМОНТА
УКАЗАНИЯ ПО ВЫПОЛНЕНИЮ РАБОТ
1
Одежда
Всегда носите чистую рабочую одежду.
Также обязательно носите головной убор и защитные ботинки.
2
Защита автомобиля
Перед началом работ приготовьте защитные покрытия для крыльев, сидений и решетки радиатора, а также напольные коврики.
3
Правила техники безопасности
При выполнении работ несколькими лицами следите за безопасностью друг друга.
Если работы выполняются при работающем двигателе, обязательно обеспечьте надлежащий отвод выхлопных газов из мастерской.
При работе с деталями, имеющими высокую температуру, давление, а также вращающимися, движущимися или вибрирующими деталями применяйте соответствующие защитные приспособления и соблюдайте осторожность, чтобы не причинить травм себе и окружающим.
При поддомкрачивании автомобиля установите под заданные точки автомобиля опоры.
При подъеме автомобиля пользуйтесь надлежащими защитными приспособлениями.
4
Подготовка инструментов и измерительных приборов
Перед началом работ подготовьте стеллаж для инструментов, SST, измерительные приборы и оборудование, масло и все необходимые запасные части.
5
Снятие и установка, разборка и сборка
При выполнении диагностики необходимо полное понимание правильных приемов работы и информации о неисправности.
Перед снятием деталей проверьте общее состояние узла, а также убедитесь в отсутствии деформации и повреждений.
Если работа является сложной, делайте заметки. Например, записывайте общее количество снятых электрических соединений, болтов или шлангов. Для обеспечения правильной сборки устройств наносите сборочные метки. При необходимости делайте временные отметки на шлангах и их фитингах.
При необходимости протрите и промойте снятые детали и соберите их после тщательной проверки.
6
Снятые детали
Сложите снятые детали в отдельный ящик, чтобы не перепутать их с новыми деталями и избежать загрязнения новых деталей.
Замена деталей однократного применения – таких, как прокладки, кольцевые уплотнения и самоконтрящиеся гайки, осуществляется в соответствии с инструкциями, приведенными в настоящем руководстве.
Сохраните снятые детали для контроля клиентом, если это потребуется.
7*
Проверки, которые должны быть выполнены после завершения работ
Убедитесь, что снимавшиеся и вновь установленные детали (крышка маслоналивной горловины, щуп проверки уровня, напольный коврик и т.д.) установлены/закреплены надлежащим образом.
Убедитесь, что в моторном отсеке и внутри автомобиля не осталось никаких тканей и инструментов, которые использовались во время работы.
Убедитесь в отсутствии утечек масла.
CAUTION:*: выполняйте перечисленные проверки как следует, невыполнение этих проверок после завершения работ может привести к серьезной травме или несчастному случаю.
ПОДДОМКРАЧИВАНИЕ И УСТАНОВКА АВТОМОБИЛЯ НА ОПОРЫ
При поддомкрачивании и установке автомобиля на опоры соблюдайте осторожность. Автомобиль можно поднимать и устанавливать на опоры, устанавливая домкрат или опоры только в указанных точках.
-
*a
Герметик-фиксатор
ДЕТАЛИ С ПРЕДВАРИТЕЛЬНО НАНЕСЕННЫМ ПОКРЫТИЕМ
Детали с предварительно нанесенным покрытием – это болты и гайки, на которые на заводе наносится фиксатор резьбы.
При затяжке, ослаблении или другом перемещении детали с предварительно нанесенным покрытием ее следует заново покрыть предписанным фиксатором.
При повторном использовании детали с предварительно нанесенным покрытием старое покрытие следует удалить и просушить деталь сжатым воздухом. Затем необходимо нанести новый фиксатор резьбы, соответствующий этой детали.
Некоторые фиксаторы затвердевают медленно. Может потребоваться подождать, пока фиксатор резьбы затвердеет.
ПРОКЛАДКИ
При необходимости нанесите на прокладки герметик для предотвращения утечек.
БОЛТЫ, ГАЙКИ И ВИНТЫ
Соблюдайте все спецификации по моментам затяжки. Всегда используйте динамометрический ключ.
Убедитесь, что при затяжке под головки болтов и гайки не попали посторонние вещества (заусенцы, краска и т.д.).
-
*a
NG
*b
OK
ПРЕДОХРАНИТЕЛИ
При контроле предохранителя проверьте, не разорван ли его провод.
Если провод предохранителя разорван, убедитесь, что в его цепи нет коротких замыканий.
При замене предохранителя следует использовать предохранитель с таким же номинальным током.
Иллюстрация
Схематическое обозначение
Наименование детали
Сокращение


ПРЕДОХРАНИТЕЛЬ
ПРЕДОХРАНИТЕЛЬ


СРЕДНЕАМПЕРНЫЙ ПРЕДОХРАНИТЕЛЬ
M-FUSE


ВЫСОКОАМПЕРНЫЙ ПРЕДОХРАНИТЕЛЬ
H-FUSE


ПЛАВКИЙ ПРЕДОХРАНИТЕЛЬ
FL


РАЗМЫКАТЕЛЬ ЦЕПИ
CB


ПЛАВКИЙ ПРЕДОХРАНИТЕЛЬ
FL
ФИКСАТОРЫ
Методы установки и снятия типичных фиксаторов, используемых для крепления деталей кузова автомобиля, представлены в следующей таблице.
Tip:Если при выполнении работ фиксаторы повредились, обязательно заменяйте их новыми.
Вид (пример)
Снятие/установка

Снимите фиксаторы с помощью инструмента для снятия фиксаторов или плоскогубцев.


Снимите фиксаторы с помощью съемника фиксаторов или отвертки с обернутым защитной клейкой лентой концом.


Снимите фиксаторы с помощью широкого скребка, чтобы не повредить панель.


Снимите фиксаторы, протолкнув центральный штырь и вытащив оболочку.


Снимите фиксаторы, вывинтив центральный штырь и вытащив оболочку.


Снимите фиксаторы, вытащив сначала штырь и затем оболочку с помощью отвертки с обернутым защитной клейкой лентой концом.

ЗАХВАТЫ
Методы установки и снятия типичных захватов, используемых для крепления деталей кузова автомобиля, представлены в следующей таблице.
Tip:Если при выполнении работ захваты повредились, обязательно заменяйте новыми колпачки или крышки с повредившимися захватами.
Вид (пример)
Рисунок / процедуры

С помощью отвертки с обернутым защитной клейкой лентой концом освободите захваты, чтобы снять крышки или накладки.


С помощью отвертки с обернутым защитной клейкой лентой концом освободите захваты, чтобы снять крышки или накладки.


С помощью отвертки с обернутым защитной клейкой лентой концом освободите захваты, чтобы снять крышки или накладки.

ПЕТЛИ, НАПРАВЛЯЮЩИЕ, ЗАЖИМЫ, ШТИФТЫ И ПР.
Методы установки и снятия типичных петель, направляющих, зажимов и штифтов, используемых для крепления деталей кузова автомобиля, представлены в следующей таблице.
Tip:Если при выполнении работ зажимы повредились, обязательно заменяйте новыми колпачки или крышки с повредившимися зажимами.
Вид (пример)
Снятие/установка

Снимите со штифтов для отцепления.


Освободите штифты, потянув их.


Снимите зажимы с помощью плоскогубцев.


Освободите штифты, потянув их.

СНЯТИЕ И УСТАНОВКА ВАКУУМНЫХ ШЛАНГОВ
-
*a
Неправильно
*b
Правильно
Для отсоединения вакуумного шланга его следует тянуть и скручивать с конца. Не тяните за середину шланга, так как это может привести к его повреждению.
-
После отсоединения вакуумного шланга нанесите метки, с помощью которых его можно будет подсоединить вновь.
После завершения выполнения работ, связанных с вакуумными шлангами, дважды проверьте правильность их подсоединения. Правильное размещение показано на этикетке под капотом.
При использовании вакуумных манометров не надевайте шланг с усилием на слишком большой патрубок. Растянутый шланг может пропускать воздух. При необходимости используйте понижающий переходник.
-
-
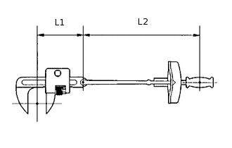
МОМЕНТ ЗАТЯЖКИ ПРИ ИСПОЛЬЗОВАНИИ УДЛИНИТЕЛЯ ДИНАМОМЕТРИЧЕСКОГО КЛЮЧА
-
Если совместно с динамометрическим ключом используется SST или другой удлинительный инструмент, для расчета заданного момента затяжки используете формулу, приведенную ниже.
Формула
T' = (L2/(L1 + L2)) * T
T'
Показание шкалы динамометрического ключа (Н*м (кгс*см, фунт-сила-фут))
T
Момент затяжки (Н*м (кгс*см, фунт-сила-фут))
L1
Длина SST или удлинителя (см (дюймы))
L2
Длина динамометрического ключа (см (дюйм))
Note:Если для затяжки с номинальным моментом, указанным в данном руководстве, вместе с динамометрическим ключом используется удлинитель или SST, фактический момент окажется чрезмерным, и детали будут повреждены.
-
МЕРЫ ПРЕДОСТОРОЖНОСТИ, КОТОРЫЕ НЕОБХОДИМО СОБЛЮДАТЬ ПРИ КОНТРОЛЕ И ОБСЛУЖИВАНИИ ВЫСОКОВОЛЬТНЫХ ЦЕПЕЙ
CAUTION:Данный автомобиль оборудован гибридной системой, которая содержит напряжения до 650 В. В гибридной системе используется высоковольтная аккумуляторная батарея с электролитом, который является сильными щелочным раствором и содержит едкий калий. Для правильного обращения с данной системой обязательно выполняйте все указания данного руководства. Несоблюдение указаний может повлечь серьезную травму или поражение электрическим током.
Для осуществления контроля и обслуживания высоковольтных систем механики должны пройти специальное обучение.
Все высоковольтные жгуты проводов и разъемы окрашены в оранжевый цвет. Высоковольтная аккумуляторная батарея и компоненты высокого напряжения имеют предупредительные знаки "Высокое напряжение". Избегайте прикосновения к этим проводам и узлам по неосторожности.
В случае неисправности жгута проводов или разъема высоковольтной цепи не следует пытаться отремонтировать их. Замените поврежденные или неисправные высоковольтные кабели и разъемы.
Перед началом контроля или обслуживания высоковольтной системы обязательно примите все меры предосторожности. Например, используйте изолирующие перчатки и извлекайте зажим сервисного размыкателя цепи для предотвращения поражения электрическим током. Храните снятый зажим сервисного размыкателя цепи у себя в кармане, чтобы другие механики не смогли случайно установить его во время выполнения работ по обслуживанию автомобиля.
Нажмите здесьClick here
Note:Не включайте питание (READY) при снятом зажиме сервисного размыкателя цепи, если нет соответствующего указания в руководстве по ремонту, так как это может стать причиной неисправности.
После снятия зажима сервисного размыкателя цепи подождите 10 минут перед тем, как прикасаться к высоковольтным разъемам и контактам.
Tip:Для разрядки высоковольтного конденсатора внутри преобразователя-инвертора требуется не менее 10 мин.
Перед использованием изолирующих перчаток обязательно проверьте их на наличие трещин, разрывов и других повреждений следующим образом.
Положите перчатку на боковую поверхность.
2-3 раза заверните манжету.
Сверните отверстие пополам, чтобы закрыть его.
Удостоверьтесь, что нет утечек воздуха.
Во время обслуживания автомобиля не носите металлические предметы - такие, как металлические карандаши или линейки, которые могут случайно упасть и вызвать короткое замыкание.
Перед тем, как прикасаться к открытому высоковольтному контакту, наденьте изолирующие перчатки и удостоверьтесь с помощью тестера, что напряжение на контакте равно 0 В.
-
После отсоединения или открывания высоковольтного контакта или разъема немедленно изолируйте его с помощью изоляционной ленты.
Болты и гайки высоковольтных контактов должны быть затянуты с заданным моментом. К неисправности может привести как недостаточный, так и чрезмерный момент затяжки.
Используйте знак "ОСТОРОЖНО: ВЫСОКОЕ НАПРЯЖЕНИЕ, НЕ ПРИКАСАТЬСЯ", чтобы уведомить других механиков о том, что производится контроль и/или ремонт высоковольтной системы.
По завершении обслуживания высоковольтной системы и перед тем, как устанавливать на место зажим сервисного размыкателя цепи, удостоверьтесь, что вы не оставили внутри деталей или инструментов, высоковольтные контакты надежно затянуты, и разъемы правильно подсоединены.
Выполняя работы с цепями высокого напряжения, используйте или инструмент, обернутый изолентой, или электроизолированный инструмент.
При установке узлов гибридной системы, например, высоковольтной аккумуляторной батареи, проверяйте полярность всех соединений.
МЕРЫ ПРЕДОСТОРОЖНОСТИ, КОТОРЫЕ СЛЕДУЕТ СОБЛЮДАТЬ ПРИ ПРОВЕРКЕ ИЛИ ОБСЛУЖИВАНИИ В МОТОРНОМ ОТСЕКЕ
Автомобиль автоматически включает и выключает двигатель, когда на щитке приборов горит индикатор READY. Во избежание травм убедитесь, что оба индикатора на выключателе питания и индикатор READY на щитке приборов выключены.
-
*A
для моделей с щитком приборов с оригинальной системой подсветки "Optitron"
-
-
*a
MIL
*b
Индикатор READY
*c
Главная контрольная лампа аварийного состояния
*d
Мультиинформационный дисплей
*e
Предупреждение о заряде
-
-
*A
для моделей с щитком приборов с TFT-дисплеем
-
-
*a
MIL
*b
Индикатор READY
*c
Главная контрольная лампа аварийного состояния
*d
Контрольная лампа заряда
*e
Мультиинформационный дисплей
-
-
ДЕЙСТВИЯ, КОТОРЫЕ ДОЛЖНЫ БЫТЬ ВЫПОЛНЕНЫ, КОГДА СВЕТИТСЯ КОНТРОЛЬНАЯ ЛАМПА АВАРИЙНОГО СОСТОЯНИЯ
Если горит одна из контрольных ламп с (2) по (4), подсоедините GTS к разъему DLC3 и проверьте наличие DTC (диагностические коды неисправностей). Затем обратитесь к соответствующим процедурам поиска и устранения неисправностей в данном руководстве, чтобы выполнить контроль и ремонт поврежденных узлов. Также вышеупомянутые действия необходимо выполнить, если индикатор READY не горит при попытке включения питания (READY).
Индикатор
Состояние автомобиля
(1) Лампа READY (готовность к движению)
Светится при включении питания (READY) и указывает, что автомобиль готов к началу движения.
(2) Главная контрольная лампа аварийного состояния
В зависимости от предупреждения главная контрольная лампа аварийного состояния светится или мигает, указывая на предупреждение, которое в настоящее время отображается на мультиинформационном дисплее. В зависимости от предупреждения также может включаться зуммер.
В случае любой неисправности системы управления гибридной системой или системы аккумуляторной батареи гибридной системы главная контрольная лампа аварийного состояния горит или мигает, звучит зуммер, и на мультиинформационном дисплее отображается сообщение "Hybrid System Malfunction" (Неисправность гибридной системы).
(3) MIL
Светится при неисправности системы управления двигателем.
(4) Контрольная лампа заряда
(для моделей с щитком приборов с оригинальной системой подсветки "Optitron")
Отображается при неисправности системы зарядки.
(Если эта лампа горит одновременно с главной контрольной лампой аварийного состояния, обязательно проверьте наличие DTC (диагностические коды неисправности).)
(4) Контрольная лампа заряда
(для моделей с щитком приборов с TFT-дисплеем)
Светится при неисправности системы зарядки.
(Если эта лампа горит одновременно с главной контрольной лампой аварийного состояния, обязательно проверьте наличие DTC (диагностические коды неисправности).)
ДЕЙСТВИЯ, КОТОРЫЕ ДОЛЖНЫ БЫТЬ ВЫПОЛНЕНЫ ПРИ РАЗРЯДЕ АККУМУЛЯТОРНЫХ БАТАРЕЙ
Tip:В этом автомобиле используются вспомогательная аккумуляторная батарея 12 В и высоковольтная аккумуляторная батарея 288 В. Поэтому при разряде аккумуляторных батарей следует использовать один из 2 методов подзарядки.
Данную процедуру следует выполнять при полном разряде вспомогательной аккумуляторной батареи.
Tip:На полный разряд вспомогательной батареи указывают следующие проблемы.
При включенном питании (IG) индикация на панели приборов отсутствует.
Не запускается гибридная система.
Фары не светятся должным образом.
Звуковой сигнал слабый.
Note:Запрещается использовать быстродействующее зарядное устройство.
Tip:Запрещается использовать вывод для запуска от внешнего источника для эвакуации автомобиля с разряженной аккумуляторной батареей.
Включите стояночный тормоз.
Выключите питание и удалите ключ из области действия в салоне.
Снимите крышку распределительного блока и блока реле моторного отсека.
-
С помощью проводов для запуска двигателя от внешнего источника соедините вспомогательную аккумуляторную батарею на 12 В аварийного автомобиля ко вспомогательной аккумуляторной батарее заглохшего автомобиля, как показано на рисунке.
Tip:Вывод для запуска от внешнего источника находится в моторном отсеке.
Порядок соединения
Место соединения
1
Положительный вывод для запуска от внешнего источника заглохшего автомобиля
2
Положительный вывод вспомогательной аккумуляторной батареи аварийного автомобиля
3
Отрицательный вывод вспомогательной аккумуляторной батареи аварийного автомобиля
4
Положение на заглохшем автомобиле показано на рисунке
Запустите двигатель аварийного автомобиля и доведите его обороты до частоты немного выше обычной.
Включите питание (READY).
Note:Сразу после запуска гибридной системы необходимо отсоединить провода для запуска от внешнего источника в порядке, обратном порядку подсоединения. Не оставляйте провода для запуска двигателя от внешнего источника подсоединенными, так как они не предназначены для подзарядки.
Если гибридная система не запускается, а на мультиинформационном дисплее отображается сообщение "Hybrid Battery Low Shift Out of N to Recharge" (Низкий заряд аккумуляторной батареи гибридной системы, переведите рычаг переключения передач в любое положение, кроме N, и перезарядите) или "Hybrid Battery Low Hybrid System Stopped Shift to P and Restart" (Низкий заряд аккумуляторной батареи гибридной системы, гибридная система прекратила работу, переведите рычаг переключения передач в положение Р и запустите систему еще раз), высоковольтная аккумуляторная батарея может быть разряжена.
При разряде высоковольтной аккумуляторной батареи:
Зарядите высоковольтную аккумуляторную батарею с помощью зарядного устройства гибридной системы.
Нажмите здесьClick here
Tip:Выполняйте эту операцию при полном разряде или низком заряде высоковольтной аккумуляторной батареи, или если отображается предупреждение о разряде тяговой аккумуляторной батареи, и в ЭБУ гибридной системы сохраняется DTC P3000-388 или 389.
ДЕЙСТВИЯ, КОТОРЫЕ ДОЛЖНЫ БЫТЬ ВЫПОЛНЕНЫ, ЕСЛИ АВТОМОБИЛЬ ПОВРЕЖДЕН В РЕЗУЛЬТАТЕ СТОЛКНОВЕНИЯ
CAUTION:Данный автомобиль оборудован гибридной системой, которая содержит напряжения до 650 В. В гибридной системе используется высоковольтная аккумуляторная батарея с электролитом, который является сильными щелочным раствором и содержит едкий калий. Для правильного обращения с данной системой обязательно выполняйте все указания данного руководства. Несоблюдение указаний может повлечь серьезную травму или поражение электрическим током.
Средства, которые должны быть подготовлены на месте аварии
Защитная одежда (изолирующие перчатки, резиновые перчатки, защитные очки и защитные ботинки)
Насыщенный раствор борной кислоты, 20 л (21,1 кварты США, 17,6 английской кварты) (возьмите 800 г (1,76 фунта) порошка борной кислоты, насыпьте его в емкость и растворите в воде)
Красная лакмусовая бумага
Огнетушитель ABC (эффективен для тушения как возгораний нефтепродуктов, так и электрических пожаров)
Ветошь или кусок ткани (для удаления нейтрализованного электролита)
Изоляционная лента (для изоляции кабелей)
Электрический диагностический прибор
Меры, которые должны быть приняты на месте аварии
CAUTION:Не прикасайтесь к неизолированным кабелям, на которых может быть высокое напряжение. Если касание кабеля неизбежно, или возможен непреднамеренный контакт, надевайте электроизолирующие перчатки и изолируйте кабель с помощью изоляционной ленты.
Если автомобиль горит, потушите пожар с помощью огнетушителя ABC. Тушение пожара с помощью лишь незначительного количества воды может представлять опасность и не дать требуемого эффекта. Используйте значительное количество воды или дождитесь пожарных.
Осмотрите высоковольтную аккумуляторную батарею и прилегающие участки на наличие утечек электролита. Избегайте контакта с вытекшей жидкостью, поскольку это может быть очень сильный щелочной электролит.
Если автомобиль погружен в воду, работать с ним разрешается только после того, как его вытащат из воды.
Проверьте участки рядом с высоковольтной аккумуляторной батареей на наличие утечек электролита.
CAUTION:Избегайте контакта с вытекшей жидкостью, поскольку это может быть очень сильный щелочной электролит. Наденьте резиновые перчатки и очки, нейтрализуйте жидкость при помощи насыщенного раствора борной кислоты, а затем приложите к жидкости красную лакмусовую бумагу. Удостоверьтесь, что бумага не изменяет цвет на синий. Вытрите нейтрализованный электролит, используя ветошь или кусок ткани.
Если электролит попал на кожу, смойте его с помощью насыщенного раствора борной кислоты или большого количества воды. Если электролит попал на предмет одежды, немедленно снимите его.
Если электролит попал в глаза, громко попросите о помощи. Не трите глаза. Немедленно промойте их большим количеством воды и обратитесь за медицинской помощью.
Если возможно повреждение любых высоковольтных узлов или кабелей, отключите высоковольтную цепь, как указано ниже.
CAUTION:Работайте в электроизолирующих перчатках, защитных очках и защитных ботинках.
*1
Задний тяговый электродвигатель с трансмиссией в сборе
*2
РАСПРЕДЕЛИТЕЛЬНЫЙ БЛОК И БЛОК РЕЛЕ МОТОРНОГО ОТСЕКА В СБОРЕ
*3
ПРЕОБРАЗОВАТЕЛЬ-ИНВЕРТОР В СБОРЕ
*4
КОМПРЕССОР С ЭЛЕКТРОДВИГАТЕЛЕМ В СБОРЕ
*5
ГИБРИДНАЯ ТРАНСМИССИЯ В СБОРЕ
*6
ВЫСОКОВОЛЬТНАЯ АККУМУЛЯТОРНАЯ БАТАРЕЯ
*7
КАБЕЛЬ ВЫСОКОГО НАПРЯЖЕНИЯ ПОД ПОЛОМ
*8
ВСПОМОГАТЕЛЬНАЯ АККУМУЛЯТОРНАЯ БАТАРЕЯ
-
*1
Блок реле и распределительный блок моторного отсека в сборе
*2
Предохранитель IG2-MAIN
Выключите питание.
Tip:Если выключение питания невозможно, извлеките предохранитель IG2-MAIN из блока реле и распределительного блока моторного отсека. Затем убедитесь, что лампа READY не горит.
Отсоедините провод от отрицательного (-) вывода вспомогательной аккумуляторной батареи.
Наденьте электроизолирующие перчатки и снимите зажим сервисного размыкателя цепи.
Note:Не включайте питание (READY) при снятом зажиме сервисного размыкателя цепи, если нет соответствующего указания в руководстве по ремонту, так как это может стать причиной неисправности.
Перемещение поврежденного автомобиля
Note:При буксировке автомобиля см. раздел "Меры предосторожности в отношении буксировки полноприводных автомобилей с электроприводом".
Если выполняется любое из следующих условий, отбуксируйте автомобиль с помощью тягача.
Повреждены любые высоковольтные компоненты или кабели.
Повреждены узлы, обеспечивающие движение, гибридная трансмиссия или топливная система.
Горит главная контрольная лампа аварийного состояния.
Лампа READY не загорается при попытке включения питания (READY).
CAUTION:Перед началом буксировки автомобиля с помощью тягача отсоедините провод от отрицательного (-) вывода вспомогательной аккумуляторной батареи и снимите зажим сервисного размыкателя цепи.
Note:Выполните следующую процедуру, если главная контрольная лампа аварийного состояния загорается, либо если присутствуют ненормальные шумы, необычные запахи или сильные вибрации при движении.
Припаркуйте автомобиль в безопасном месте.
Включите стояночный тормоз и переместите рычаг переключения передач в положение P.
Выключите питание и отсоедините провод от отрицательного (-) вывода вспомогательной аккумуляторной батареи.
Наденьте электроизолирующие перчатки и снимите зажим сервисного размыкателя цепи.
Меры, которые должны быть приняты после перемещения поврежденного автомобиля.
Процедура
Если на дороге остались следы жидкости, это может быть утечка сильного щелочного электролита.
Наденьте резиновые перчатки и очки, нейтрализуйте электролит при помощи насыщенного раствора борной кислоты, а затем приложите к жидкости красную лакмусовую бумагу. Удостоверьтесь, что бумага не изменяет цвет на синий. Вытрите нейтрализованную жидкость, используя ветошь или кусок ткани.
Средства, которые должны быть подготовлены (при ремонте поврежденного автомобиля)
Защитная одежда (изолирующие перчатки, резиновые перчатки, защитные очки и защитные ботинки)
Насыщенный раствор борной кислоты, 20 л (21,1 кварты США, 17,6 английской кварты) (возьмите 800 г (1,76 фунта) порошка борной кислоты, насыпьте его в емкость и растворите в воде)
Красная лакмусовая бумага
Ветошь или кусок ткани (для удаления нейтрализованного электролита)
Изоляционная лента (для изоляции кабелей)
Электрический диагностический прибор
Меры предосторожности, которые следует соблюдать при обслуживании поврежденного автомобиля
CAUTION:Для обеспечения безопасности всегда следуйте инструкциям.
Надевайте изолирующие или резиновые перчатки, защитные очки и защитные ботинки.
Проверьте высоковольтную аккумуляторную батарею и прилегающие участки на наличие утечек электролита.
CAUTION:Избегайте контакта с вытекшей жидкостью, поскольку это может быть очень сильный щелочной электролит. Наденьте резиновые перчатки и очки, нейтрализуйте жидкость при помощи насыщенного раствора борной кислоты, а затем приложите к жидкости красную лакмусовую бумагу. Удостоверьтесь, что бумага не изменяет цвет на синий. Вытрите нейтрализованный электролит, используя ветошь или кусок ткани.
Если электролит попал на кожу, смойте его с помощью насыщенного раствора борной кислоты или большого количества воды. Если электролит попал на предмет одежды, немедленно снимите его.
Если электролит попал в глаза, громко попросите о помощи. Не трите глаза. Немедленно промойте их большим количеством воды и обратитесь за медицинской помощью.
Не прикасайтесь к неизолированным кабелям, на которых может быть высокое напряжение. Если к кабелю необходимо прикасаться, или случайный контакт неизбежен, примите следующие меры: 1) наденьте электроизолирующие перчатки и защитные очки; 2) с помощью электрического диагностического прибора измерьте напряжение между кабелем и массой; 3) изолируйте кабель с помощью изоляционной ленты.
Если возможно повреждение любых высоковольтных компонентов или кабелей, отключите высоковольтную цепь, как указано ниже.
CAUTION:Не прикасайтесь к неизолированным кабелям, на которых может быть высокое напряжение. Если касание кабеля неизбежно, или возможен непреднамеренный контакт, надевайте электроизолирующие перчатки и изолируйте кабель с помощью изоляционной ленты.
-
*1
Блок реле и распределительный блок моторного отсека в сборе
*2
Предохранитель IG2-MAIN
Выключите питание.
Tip:Если выключение питания невозможно, извлеките предохранитель IG2-MAIN из блока реле и распределительного блока моторного отсека. Затем убедитесь, что лампа READY не горит.
Отсоедините провод от отрицательного (-) вывода вспомогательной аккумуляторной батареи.
Наденьте электроизолирующие перчатки и снимите зажим сервисного размыкателя цепи.
Note:Не включайте питание (READY) при снятом зажиме сервисного размыкателя цепи, если нет соответствующего указания в руководстве по ремонту, так как это может стать причиной неисправности.
Меры предосторожности, которые должны быть приняты при утилизации высоковольтной аккумуляторной батареи
При утилизации высоковольтной аккумуляторной батареи возвращайте ее через уполномоченного сборщика, который в состоянии распорядиться ею безопасным образом. Если высоковольтная аккумуляторная батарея возвращена согласно указаниям производителя, она будет утилизирована должным и безопасным образом уполномоченным сборщиком.
CAUTION:Неправильная утилизация или простое выбрасывание высоковольтной аккумуляторной батареи может привести к травмам - таким, как поражение электрическим током. По этой причине возвращайте все высоковольтные аккумуляторные батареи через уполномоченного сборщика.
После снятия высоковольтной аккумуляторной батареи храните ее вдали от воды. Вода может вызвать нагрев высоковольтной аккумуляторной батареи, приводящий к пожару.
Меры предосторожности, которые следует соблюдать при буксировке
Буксируйте поврежденный автомобиль с передними и задними колесами, поднятыми над поверхностью земли.
CAUTION:Буксировка поврежденного автомобиля с колесами, находящимися на поверхности земли, вызовет выработку электроэнергии электродвигателем. В зависимости от характера повреждения эта электроэнергия может стать причиной пожара.
Буксировка с 4 колесами на грунте
CAUTION:Если требуется отбуксировать поврежденный автомобиль с помощью троса или цепи, когда все 4 колеса находятся на грунте, не превышайте скорость 30 км/час (18 миль в час) и ограничьте расстояние буксировки, а затем перевозите автомобиль на грузовике.
Обязательно включите питание (IG) и переведите рычаг переключения передач в положение N.
Не выключайте питание. Выключение питания может вызвать срабатывание механизма блокировки рулевого управления, приводящее к опасной ситуации или несчастному случаю.
В случае любых отклонений от нормы во время буксировки поврежденного автомобиля немедленно прекратите буксировку.
ДЛЯ АВТОМОБИЛЕЙ, ОБОРУДОВАННЫХ ДОПОЛНИТЕЛЬНОЙ СИСТЕМОЙ (ПАССИВНОЙ) БЕЗОПАСНОСТИ И ПРЕДНАТЯЖИТЕЛЕМ РЕМНЯ БЕЗОПАСНОСТИ
Автомобиль оборудован дополнительной системой (пассивной) безопасности (системой SRS).
CAUTION:Перед выполнением развертывания каких-либо деталей системы SRS с целью утилизации внимательно изучите все действующие экологические нормы и правила работы с опасными материалами и обеспечьте их соблюдение. Эта операция может считаться работой с опасными материалами.
Неправильное выполнение операций обслуживания может вызвать неожиданное срабатывание SRS во время обслуживания и привести к серьезным травмам. Кроме того, ошибки при обслуживании системы SRS могут привести к тому, что в аварийной ситуации она не сработает надлежащим образом. Перед началом обслуживания (включая снятие или установку деталей, проверку или замену) внимательно изучите следующий раздел.
ОБЩЕЕ ЗАМЕЧАНИЕ
Признаки неисправностей системы SRS трудно определить, поэтому наиболее важным источником информации при поиске и устранении ее неисправностей являются диагностические коды неисправностей (DTC). Прежде чем отсоединить вспомогательную аккумуляторную батарею при диагностике системы SRS, обязательно проверьте коды DTC.
Начинать выполнение работ следует не ранее, чем через 90 секунд после выключения двигателя и отсоединения провода от отрицательного вывода (-) вспомогательной аккумуляторной батареи.
Система SRS имеет собственный вспомогательный источник питания. Если начать работы до истечения 90 с после выключения питания и отсоединения провода от отрицательного (-) вывода вспомогательной аккумуляторной батареи, SRS может сработать.
При отсоединении провода от отрицательного вывода (-) вспомогательной аккумуляторной батареи происходит удаление данных из памяти часов и аудиосистемы. Перед началом работ запишите настройки всех систем с памятью. По завершении работ восстановите прежние настройки часов и аудиосистемы.
CAUTION:Запрещается использовать вспомогательный источник питания (вспомогательную аккумуляторную батарею или иное устройство), чтобы предотвратить удаление данных из памяти системы. Питание вспомогательного источника может случайно попасть на систему SRS, в результате чего она может сработать.
После незначительных аварий, при которых SRS не сработала, перед дальнейшей эксплуатацией автомобиля необходимо проверить накладку рулевого колеса, переднюю подушку безопасности пассажира, подушку безопасности для защиты коленей, боковые подушки безопасности сидений, подушку безопасности в подушке сиденья, подушки безопасности занавесочного типа и ремни безопасности с катушками и преднатяжителями в сборе.
Никогда не используйте детали SRS от другого автомобиля. Для замены используйте только новые детали.
Перед ремонтом снимите датчики системы SRS, если во время ремонта они могут подвергнуться ударам.
Никогда не разбирайте и не пытайтесь ремонтировать какие-либо блоки или детали системы SRS.
Накладку рулевого колеса
Переднюю подушку безопасности пассажира
Подушку безопасности для защиты коленей
Подушка безопасности в подушке сиденья системы SRS в сборе
Боковую подушку безопасности сидений в сборе
Подушку безопасности занавесочного типа
Ремень безопасности с катушкой и преднатяжителем в сборе
Замените центральный блок управления системы SRS или детали системы SRS в следующих случаях: 1) повреждения в результате падения; 2) наличие трещин, заусенцев или иных дефектов на корпусе, кронштейне или разъеме.
Не подвергайте датчики и детали системы SRS прямому воздействию горячего воздуха или пламени.
Для поиска неисправностей электрических цепей используйте вольтметр/омметр с высоким импедансом (не менее 10 кОм).
Информационные этикетки наклеены на соответствующие детали системы SRS. Следуйте инструкциям на этикетках.
По завершении работ с системой SRS проверьте контрольную лампу аварийного состояния SRS.
ВИТОЙ КАБЕЛЬ
Рулевое колесо должно устанавливаться на рулевую колонку таким образом, чтобы витой кабель находился в нейтральном положении. В противном случае возможно повреждение кабеля и другие проблемы. Обратитесь к предписанному порядку установки рулевого колеса.
Нажмите здесьClick here
НАКЛАДКА РУЛЕВОГО КОЛЕСА
Всегда располагайте снятую с автомобиля или новую накладку рулевого колеса развертывающейся стороной вверх. Расположение накладки рулевого колеса развертывающейся поверхностью вниз может повлечь серьезную травму в случае развертывания подушки безопасности. Помимо этого, никогда не кладите никакие предметы на поверхность накладки рулевого колеса.
Никогда не измеряйте сопротивление патрона подушки безопасности. Это может привести к развертыванию подушки и, как следствие, к серьезной травме.
Не допускайте попадания на накладку рулевого колеса смазки и моющих средств.
Накладку рулевого колеса следует хранить в местах с невысокой влажностью, где температура окружающего воздуха ниже 93°C (199°F), и отсутствуют электрические помехи.
Перед выполнением электросварочных работ в каком-либо месте автомобиля необходимо отсоединить разъемы центрального блока системы SRS. В этих разъемах имеются закорачивающие пружины. Это позволяет снизить вероятность развертывания подушки безопасности вследствие пропускания тока через цепь пиропатрона.
Перед сдачей автомобиля в лом или утилизацией накладки рулевого колеса необходимо развернуть подушку безопасности с помощью SST. Это следует выполнять в безопасном месте, удаленном от источников электрических помех.
Нажмите здесьClick here
ПЕРЕДНЯЯ ПОДУШКА БЕЗОПАСНОСТИ ПАССАЖИРА В СБОРЕ
Снятую с автомобиля или новую переднюю подушку безопасности пассажира следует хранить в таком положении, чтобы развертывающаяся сторона была направлена вверх. Запрещается располагать подушку безопасности развертываемой стороной вниз, так как это может привести к серьезным травмам при развертывании подушки безопасности.
Никогда не измеряйте сопротивление патрона подушки безопасности. Это может привести к развертыванию подушки и, как следствие, к серьезной травме.
Не допускайте попадания смазки и любых моющих веществ на переднюю подушку безопасности пассажира.
Подушки безопасности переднего пассажира в сборе следует хранить в местах с невысокой влажностью, где температура окружающего воздуха ниже 93°C (199°F), и отсутствуют электрические помехи.
Перед выполнением электросварочных работ в каком-либо месте автомобиля необходимо отсоединить разъемы центрального блока системы SRS. В этих разъемах имеются закорачивающие пружины. Это позволяет снизить вероятность развертывания подушки безопасности вследствие пропускания тока через цепь пиропатрона.
Перед сдачей автомобиля в лом или утилизацией передней подушки безопасности пассажира в сборе необходимо развернуть подушку с помощью SST. Это следует выполнять в безопасном месте, удаленном от источников электрических помех.
Нажмите здесьClick here
ПОДУШКА БЕЗОПАСНОСТИ ДЛЯ ЗАЩИТЫ КОЛЕНЕЙ В СБОРЕ
Снятую с автомобиля или новую подушку для защиты коленей в сборе следует располагать так, чтобы ее развертывающаяся сторона была направлена вверх. Запрещается располагать подушку безопасности развертываемой стороной вниз, так как это может привести к серьезным травмам при развертывании подушки безопасности.
Никогда не измеряйте сопротивление патрона подушки безопасности. Это может привести к развертыванию подушки и, как следствие, к серьезной травме.
Не допускайте попадания смазки и любых моющих веществ на подушку безопасности для защиты коленей.
Подушки безопасности для защиты коленей в сборе следует хранить в местах с невысокой влажностью, где температура окружающего воздуха ниже 93°C (199°F), и отсутствуют электрические помехи.
Перед выполнением электросварочных работ в каком-либо месте автомобиля необходимо отсоединить разъемы центрального блока системы SRS. В этих разъемах имеются закорачивающие пружины. Это позволяет снизить вероятность развертывания подушки безопасности вследствие пропускания тока через цепь пиропатрона.
Перед сдачей автомобиля в лом или утилизацией подушки безопасности для защиты коленей в сборе необходимо развернуть подушку с помощью SST. Это следует выполнять в безопасном месте, удаленном от источников электрических помех.
Нажмите здесьClick here
ПОДУШКА БЕЗОПАСНОСТИ В ПОДУШКЕ СИДЕНЬЯ СИСТЕМЫ SRS В СБОРЕ
Снятую с автомобиля или новую подушку безопасности в подушке сиденья системы SRS в сборе следует всегда располагать так, чтобы она разворачивалась вверх.
Никогда не измеряйте сопротивление патрона подушки безопасности. Это может привести к развертыванию подушки и, как следствие, к серьезной травме.
Не допускайте попадания консистентной смазки или моющих веществ какого-либо типа на подушку безопасности в подушке сиденья системы SRS в сборе.
Подушки безопасности сидений в сборе следует хранить в местах с невысокой влажностью, где температура окружающего воздуха ниже 93°C (199°F), и отсутствуют электрические помехи.
Перед выполнением электросварочных работ в каком-либо месте автомобиля необходимо отсоединить разъемы центрального блока системы SRS. В этих разъемах имеются закорачивающие пружины. Это позволяет снизить вероятность развертывания подушки безопасности вследствие пропускания тока через цепь пиропатрона.
Перед сдачей автомобиля в лом или утилизацией подушки безопасности системы SRS в подушке сиденья необходимо развернуть подушку с помощью SST. Это следует выполнять в безопасном месте, удаленном от источников электрических помех.
Нажмите здесьClick here
БОКОВАЯ ПОДУШКА БЕЗОПАСНОСТИ СИДЕНИЙ В СБОРЕ
Снятую с автомобиля или новую боковую подушку сидений в сборе следует располагать так, чтобы она разворачивалась вверх.
Никогда не измеряйте сопротивление патрона подушки безопасности. Это может привести к развертыванию подушки и, как следствие, к серьезной травме.
Не допускайте попадания смазки и любых моющих веществ на боковую подушку сидений в сборе.
Боковые подушки безопасности сидений в сборе следует хранить в местах с невысокой влажностью, где температура окружающего воздуха ниже 93°C (199°F), и отсутствуют электрические помехи.
Перед выполнением электросварочных работ в каком-либо месте автомобиля необходимо отсоединить разъемы центрального блока системы SRS. В этих разъемах имеются закорачивающие пружины. Это позволяет снизить вероятность развертывания подушки безопасности вследствие пропускания тока через цепь пиропатрона.
Перед сдачей автомобиля в лом или утилизацией боковой подушки безопасности сидений в сборе необходимо развернуть подушку с помощью SST. Это следует выполнять в безопасном месте, удаленном от источников электрических помех.
Передняя сторона: Нажмите здесьClick here
Задняя сторона: Нажмите здесьClick here
ПОДУШКА БЕЗОПАСНОСТИ ЗАНАВЕСОЧНОГО ТИПА В СБОРЕ
Всегда укладывайте снятую или новую подушку безопасности занавесочного типа в чистый полиэтиленовый пакет и храните ее в безопасном месте.
CAUTION:После использования полиэтиленовый пакет должен быть утилизирован.
Note:Никогда не разбирайте подушку безопасности занавесочного типа.
Никогда не измеряйте сопротивление патрона подушки безопасности. Это может привести к развертыванию подушки и, как следствие, к серьезной травме.
Не допускайте попадания смазки и любых моющих веществ на подушку безопасности занавесочного типа.
Подушки безопасности занавесочного типа в сборе следует хранить в местах с невысокой влажностью, где температура окружающего воздуха ниже 93°C (199°F), и отсутствуют электрические помехи.
Перед выполнением электросварочных работ в каком-либо месте автомобиля необходимо отсоединить разъемы центрального блока системы SRS. В этих разъемах имеются закорачивающие пружины. Это позволяет снизить вероятность развертывания подушки безопасности вследствие пропускания тока через цепь пиропатрона.
Перед сдачей автомобиля в лом или утилизацией подушки безопасности занавесочного типа в сборе необходимо развернуть подушку с помощью SST. Это следует выполнять в безопасном месте, удаленном от источников электрических помех.
Нажмите здесьClick here
РЕМЕНЬ С КАТУШКОЙ И ПРЕДНАТЯЖИТЕЛЕМ В СБОРЕ (ПРЕДНАТЯЖИТЕЛЬ РЕМНЯ БЕЗОПАСНОСТИ)
Никогда не измеряйте сопротивление ремня с катушкой и преднатяжителем в сборе. Это может вызвать срабатывание ремня с катушкой и преднатяжителем в сборе и, как следствие, привести к серьезной травме.
Никогда не разбирайте ремень в катушкой и преднатяжителем в сборе.
Никогда не устанавливайте ремень с катушкой и преднатяжителем в сборе на другой автомобиль.
Ремень с катушкой и преднатяжителем в сборе следует хранить в месте с невысокой влажностью, где температура окружающего воздуха не превышает 80°C (176°F), и отсутствуют электрические помехи.
Перед выполнением электросварочных работ в каком-либо месте автомобиля необходимо отсоединить разъемы центрального блока системы SRS. В этих разъемах имеются закорачивающие пружины. Это позволяет снизить вероятность развертывания подушки безопасности вследствие пропускания тока через цепь пиропатрона.
Перед утилизацией автомобиля или ремня с катушкой и преднатяжителем в сборе необходимо вызвать срабатывание преднатяжителя. Активацию преднатяжителя ремня безопасности в сборе следует проводить в безопасном месте, удаленном от источников электрических помех.
Передняя сторона: Нажмите здесьClick here
Задняя сторона: Нажмите здесьClick here
После активации преднатяжителя ремень с катушкой и преднатяжителем в сборе имеет высокую температуру, поэтому перед утилизацией необходимо дать ему остыть. Никогда не используйте воду для охлаждения ремня с катушкой и преднатяжителем в сборе.
Не допускайте попадания консистентной смазки, моющих веществ, масла и воды на ремень с катушкой и преднатяжителем в сборе.
ЦЕНТРАЛЬНЫЙ БЛОК УПРАВЛЕНИЯ СИСТЕМЫ SRS
Не допускается повторное использование центрального блока управления системы SRS автомобиля, участвовавшего в столкновении, в результате которого сработала система SRS.
Разъемы центрального блока управления системы SRS должны подсоединяться и отсоединяться, только если блок установлен в автомобиль. Если при подсоединении или отсоединении разъемов центральный блок управления системы SRS окажется снятым, возможно срабатывание системы SRS.
Даже если требуется просто ослабить болты центрального блока управления системы SRS, выполнение работ следует начинать, по крайней мере, через 90 с после выключения питания и отсоединения провода от отрицательного (-) вывода вспомогательной аккумуляторной батареи.
ЖГУТ ПРОВОДОВ И РАЗЪЕМ
Все разъемы данной системы окрашены в стандартный желтый цвет. Если в жгуте проводов SRS имеется обрыв, или поврежден разъем, жгут проводов необходимо заменить.
ЭЛЕКТРОННОЕ УПРАВЛЕНИЕ
*1
Провод
*2
Отрицательный (-) вывод вспомогательной аккумуляторной батареи
Note:После подсоединения провода к отрицательному (-) выводу аккумуляторной батареи требуется инициализация некоторых систем.
После выключения питания радиоприемник в сборе сохраняет различные данные и настройки. Поэтому после выключения зажигания обязательно подождите не менее 60*1 или 90*2 секунд, прежде чем отсоединять провод от отрицательного (-) вывода аккумуляторной батареи. (для моделей с аудиовизуальной системой)
После выключения питания радиоприемник в сборе сохраняет различные данные и настройки. Поэтому после выключения зажигания обязательно подождите не менее 60 с, прежде чем отсоединять провод от отрицательного (-) вывода аккумуляторной батареи. (для моделей с системой навигации)
*1: для 12,3-дюймового дисплея
*2: для 8-дюймового дисплея
ОТСОЕДИНЕНИЕ ПРОВОДА ОТ ОТРИЦАТЕЛЬНОГО (-) ВЫВОДА ВСПОМОГАТЕЛЬНОЙ АККУМУЛЯТОРНОЙ БАТАРЕИ И ПОДСОЕДИНЕНИЕ ЕГО ОБРАТНО
Прежде чем выполнять работы с электрическими узлами, отсоедините провод от отрицательного (-) вывода вспомогательной аккумуляторной батареи, чтобы не допустить повреждения электрической системы или ее компонентов.
Перед отсоединением провода установите выключатель питания и переключатель света фар в положение OFF (ВЫКЛ), а затем полностью отверните гайку провода. При выполнении данных операций не следует перекручивать или поддевать кабель. После этого отсоедините провод.
При отсоединении провода от отрицательного вывода (-) вспомогательной аккумуляторной батареи происходит сброс настроек часов, радиоприемника, аудиосистемы, кодов DTC и прочих данных. Перед отсоединением провода запишите все необходимые данные.
-
*a
Неправильно
РАБОТА С ЭЛЕКТРОННЫМИ ДЕТАЛЯМИ
Крышку или корпус ЭБУ разрешается открывать только в исключительных случаях. При прикосновении к выводам микросхемы она может выйти из строя из-за разряда статического электричества.
При отсоединении разъемов электронных узлов не тяните за провода. Тяните за сам разъем.
Не допускайте падения электронных компонентов - таких, как датчики или реле. В случае падения этих компонентов на твердую поверхность их следует заменить.
При очистке компонентов двигателя паром защищайте электронные компоненты, воздушный фильтр и компоненты снижения содержания в выхлопе токсичных газов от воды.
Не пользуйтесь для снятия и установки датчиков температуры и тепловых выключателей гайковертами.
При измерении сопротивления между контактами разъема жгута проводов щупы диагностического прибора следует вставлять осторожно, чтобы не погнуть контакты.
РАЗБОРКА И СБОРКА УЗЛОВ ТОПЛИВНОЙ СИСТЕМЫ
МЕСТО ДЛЯ РАЗБОРКИ И СБОРКИ УЗЛОВ ТОПЛИВНОЙ СИСТЕМЫ
Работы следует выполнять в помещении с хорошей вентиляцией, в котором отсутствуют сварочные аппараты, шлифовальные машины, сверлильные станки, электродвигатели, печи и любые другие источники воспламенения.
Никогда не проводите работы в яме или рядом с ямой, так как в таких местах будут скапливаться пары топлива.
РАЗБОРКА И СБОРКА УЗЛОВ ТОПЛИВНОЙ СИСТЕМЫ
Прежде чем приступить к работе, приготовьте огнетушитель.
Для снятия статического электричества следует соединить устройство для слива топлива и автомобиль заземляющим проводом; не распыляйте в окружающей зоне воду. При выполнении работ в этой зоне будьте осторожны, так как поверхность пола станет скользкой. Не смывайте пролитый бензин водой, так как это может привести к распространению бензина и создать опасность пожара.
По возможности старайтесь не использовать электродвигатели, осветительные приборы и прочее электрооборудование, которое может создавать искры или нагреваться до высокой температуры.
Не используйте металлические молотки, так как они могут создавать искры.
Ткань со следами топлива следует утилизировать отдельно в огнестойком контейнере.
РАЗБОРКА И СБОРКА ДЕТАЛЕЙ ВПУСКНОЙ СИСТЕМЫ ДВИГАТЕЛЯ
-
Попадание металлических частиц в детали системы забора воздуха может привести к повреждению двигателя.
При снятии и установке деталей системы впуска закрывайте отверстия снятых деталей и двигателя. Используйте для этого клейкую ленту или иные подходящие материалы.
При установке деталей системы впуска следите за тем, чтобы в двигатель и устанавливаемые детали не попали металлические частицы.
-
ОБРАЩЕНИЕ С ХОМУТАМИ ШЛАНГОВ
*1
След от хомута
*2
Пружинный хомут
Перед снятием шланга отметьте положение хомута, чтобы его можно было установить в прежнее положение.
Деформированные или зазубренные хомуты следует заменить.
При повторном использовании шланга хомут следует установить на место, где остался его след.
Возможно, потребуется немного раздвинуть концы пружинного хомута после установки, нажав на них в направлениях, указанных на рисунке стрелками.
ДЛЯ АВТОМОБИЛЕЙ, ОБОРУДОВАННЫХ СИСТЕМОЙ МОБИЛЬНОЙ СВЯЗИ
Антенну устанавливайте как можно дальше от ЭБУ и датчиков электронной системы автомобиля.
Антенный шнур и антенну следует прокладывать на расстоянии не менее 20 см (7,87 дюйма) от ЭБУ и датчиков электронной системы автомобиля. Подробные сведения о расположении ЭБУ и датчиков можно найти в разделе, в котором описываются соответствующие узлы.
Располагайте антенну и шнур как можно дальше от другой проводки. Это позволит предотвратить взаимное влияние оборудования системы связи и оборудования автомобиля.
Проверьте регулировки антенны и шнура.
Не устанавливайте мощные системы мобильной связи.
ПРОВЕРКА И ОБСЛУЖИВАНИЕ ФАР
-
*a
Включение на 3 мин и более в закрытом состоянии запрещается
Когда фары включены, не накрывайте их более, чем на 3 минуты.
Note:Поскольку наружный рассеиватель фары изготовлен из синтетической смолы, длительное накрывание фары может привести к деформации фары в результате перегрева.
-
ДЛЯ СИСТЕМЫ СТОЯНОЧНОГО ТОРМОЗА С ЭЛЕКТРОПРИВОДОМ
Меры предосторожности выполнении работ на автомобиле.
Если автомобиль наклоняется для выполнения работ после, того как был запаркован на ровной поверхности, тормозное усилие стояночного тормоза может быть недостаточным. Убедитесь, что выключатель стояночного тормоза с электроприводом (комбинированный переключатель в сборе) переводится в положение блокировки 2 раза (2 операции блокировки).
Tip:Система стояночного тормоза с электроприводом определяет величину усилия, примененного для включения стояночного тормоза, в зависимости от угла наклона, обнаруженного датчиком замедления (датчиком рысканья).
Если выключатель стояночного тормоза с электроприводом (комбинированный переключатель в сборе) переводится в положение блокировки 2 раза (2 операции блокировки), прилагается максимальное тормозное усилие.
СПОСОБ ПРИНУДИТЕЛЬНОГО ОТПУСКАНИЯ СТОЯНОЧНОГО ТОРМОЗА
Метод принудительного растормаживания стояночного тормоза: Нажмите здесьClick here
ДЛЯ АВТОМОБИЛЕЙ, ОСНАЩЕННЫХ АНТИПРОБУКСОВОЧНОЙ СИСТЕМОЙ (TRC) И СИСТЕМОЙ КУРСОВОЙ УСТОЙЧИВОСТИ (VSC)
ЗАМЕЧАНИЯ ПО ПРОВЕДЕНИЮ ИСПЫТАНИЙ С ИСПОЛЬЗОВАНИЕМ ТОРМОЗНОГО СТЕНДА С БЕГОВЫМИ БАРАБАНАМИ
Перед использованием тормозного стенда с 2 беговыми барабанами, например, стенда проверки спидометра, комбинированного стенда для проверки спидометра и тормозов или динамометрического стенда, а также перед поддомкрачиванием и прокручиванием передних колес обязательно выполните описанную ниже процедуру для входа в режим проверки и запретите работу систем TRC и VSC.
Нажмите здесьClick here
Note:При испытании автомобиля в нормальном режиме на стенде системы TRC и VSC могут вызвать сход автомобиля со стенда.
Убедитесь, что на мультиинформационном дисплее отображается сообщение "2WD MAINTENANCE MODE".
В целях безопасности закрепите автомобиль с помощью блокировочных цепей.
Обязательно выйдите из режима проверки после завершения проверки на тормозном стенде с 2 беговыми барабанами.
После выполнения проверки не приводите автомобиль в движение, не отключив режим проверки.
Tip:В режиме проверки работа систем TRC и VSC запрещена, на мультиинформационном дисплее отображается сообщение TRC OFF и горит контрольная лампа VSC OFF.
Система выходит из режима проверки при выключении питания. Поэтому если требуется произвести проверку после выключения питания, выполните процедуру снова, чтобы войти в режим проверки.
ЗАМЕЧАНИЯ ПО ВЫПОЛНЕНИЮ РАБОТ, ОТНОСЯЩИХСЯ К СИСТЕМЕ VSC
После снятия и установки детали, относящиеся к системе VSC, нуждаются в регулировке. Поэтому их следует снимать только при необходимости.
При проведении работ, относящихся к системе VSC, необходимо строго соблюдать указания по подготовке и порядок выполнения.
Если требуется снять или заменить детали, относящиеся к системе VSC, сначала отсоедините провод от отрицательного (-) вывода вспомогательной аккумуляторной батареи.
ПРИ ПРОВЕРКЕ АВТОМОБИЛЕЙ
Note:Если автомобиль движется в режиме проверки, например, при испытании спидометра, может регистрироваться код DTC. Поэтому при включении контрольной лампы после выключения режима проверки следует проверить наличие кодов DTC с помощью GTS и удалить их.
СОСТОЯНИЕ АВТОМОБИЛЯ
Перед включением режима проверки выключите систему кондиционирования, произведите запуск гибридной системы, когда рычаг переключения передач находится в положении P, и удостоверьтесь, что двигатель останавливается через несколько секунд после запуска (проверка прогрева двигателя).
Включите соответствующий режим проверки и проверьте автомобиль.
Нажмите здесьClick here
Tip:Предусмотрены различные типы режима проверки. Один называется режимом обслуживания, а другой – сертификации. В приведенной ниже таблице указаны режимы, соответствующие каждому виду проверки.
Проверяемый компонент
Режим
Проверка движения автомобиля по прямой (проверка заноса)
Режим обслуживания с приводом на одну ось, режим обслуживания с постоянным полным приводом или нормальный режим
Проверка тормозной силы
Нормальный режим
Проверка спидометра
Режим обслуживания с приводом на одну ось или режим обслуживания с постоянным полным приводом
Проверка отработавших газов (холостой ход)
Режим обслуживания с приводом на одну ось, режим обслуживания с постоянным полным приводом или нормальный режим
Проверка фар
Режим обслуживания с приводом на одну ось, режим обслуживания с постоянным полным приводом или нормальный режим
Немедленно по завершении проверки выйдите из режима проверки.
Note:Вождение автомобиля в режиме проверки может привести к повреждению гибридной трансмиссии.
ПРИ ИСПОЛЬЗОВАНИИ СТЕНДА ДЛЯ КОНТРОЛЯ ТОРМОЗОВ
Tip:При проверке на стенде для контроля тормозов возможно снижение тормозного усилия на задних колесах. Когда скорость автомобиля составляет 0 км/час (0 миль в час), система управления тормозами ограничивает давление жидкости в рабочих тормозных цилиндрах задних колес уровнем около 50% от нормального давления тормозной жидкости во время движения, чтобы сократить расход энергии.
Note:Запрещается использовать высокоскоростной стенд для контроля тормозов.
Скорость автомобиля должна быть ниже 0,5 км/час (0,3 мили в час).
Соблюдайте все процедуры и правила техники безопасности, изложенные в руководстве оператора стенда для контроля тормозов.
Установите проверяемые колеса (передние или задние) на барабаны.
Запустите гибридную систему, чтобы усилитель тормозной системы мог работать обычным образом.
Установите рычаг переключения передач в положение N.
Приведите в действие тормоза, чтобы выполнить испытание.
ПРИ ИСПОЛЬЗОВАНИИ СТЕНДА ПРОВЕРКИ СПИДОМЕТРА
CAUTION:Обязательно проводите испытания в режиме проверки с приводом на одну ось.
Note:На стенде проверки спидометра не следует выполнять быстрый старт или резкое ускорение. При выполнении быстрого старта или резкого ускорения на стенде проверки спидометра гибридная трансмиссия в блоке с главной передачей может получить повреждения.
Медленно нажмите педаль акселератора и постепенно разгоните автомобиль, после чего проведите измерение.
По завершении измерений постепенно замедлите автомобиль с помощью тормозов.
ПРИ ИСПОЛЬЗОВАНИИ ДИНАМОМЕТРИЧЕСКОГО СТЕНДА
CAUTION:Испытание должно проводиться в режиме обслуживания.
Note:Резкое ускорение или замедление автомобиля на динамометрическом стенде под минимальной нагрузкой может привести к повреждению гибридной трансмиссии.
Перед началом испытаний обязательно устанавливайте соответствующую нагрузку.
ПРИ ИСПОЛЬЗОВАНИИ СТЕНДА ДЛЯ БАЛАНСИРОВКИ КОЛЕС БЕЗ СНЯТИЯ С АВТОМОБИЛЯ
Note:Испытание должно проводиться в режиме обслуживания привода на одну ось.
Запустите гибридную систему и постепенно разгоните автомобиль с рычагом переключения передач в положении D.
Не следует резко увеличивать или уменьшать скорость автомобиля.
Замедление должно производиться путем плавного нажатия на тормоз.
Убедитесь, что на одной линии с вращающимися колесами нет людей.
Измерения следует производить быстро.
Убедитесь, что автомобиль полностью обездвижен.
Соблюдайте все процедуры и правила техники безопасности, изложенные в руководстве оператора устройства балансировки колес.
Поднимите автомобиль, чтобы все 4 колеса оторвались от грунта.
Подоприте автомобиль опорами на подходящей высоте. Убедитесь, что автомобиль не наклоняется в какую-либо сторону, и шины полностью оторвались от пола.
Установите модуль измерения вибрации на проверяемое колесо*.
Tip:*: Различные устройства балансировки колес без снятия с автомобиля имеют разные требования к установке модулей измерения вибрации. Эти требования указаны в руководстве оператора устройства балансировки колес.
Отпустите стояночный тормоз.
Убедитесь, что при повороте каждого колеса рукой нет усилия прихвата.
Установите устройство балансировки колес на место.
При измерении балансировки колес для их вращения следует использовать как гибридную систему, так и приводной ролик устройства балансировки колес.
МЕРЫ ПРЕДОСТОРОЖНОСТИ В ОТНОШЕНИИ БУКСИРОВКИ ПОЛНОПРИВОДНЫХ АВТОМОБИЛЕЙ С ЭЛЕКТРОПРИВОДОМ
Буксировку автомобиля производите одним из способов, описанных ниже.
В случае неисправности шасси или трансмиссии автомобиля используйте способ 1 (на грузовике с платформой).
Note:Прочие способы буксировки недопустимы.
*1: Если наклон автомобиля производится после стоянки на горизонтальной поверхности, тормозное усилие может быть недостаточным, поскольку стояночный тормоз с электроприводом определяет требуемое тормозное усилие, автоматически определяя уклон дороги.
Tip:*2: Когда выключатель стояночного тормоза с электроприводом (интегрированная панель управления в сборе) вытягивается 2 раза (стояночный тормоз задействуется 2 раза), система применяет максимальное тормозное усилие.
Если эвакуатор недоступен, в экстренных случаях автомобиль можно временно отбуксировать с помощью троса или цепи, закрепленной в кольце(ах) для аварийной буксировки. Это следует предпринимать только на дорогах с твердым покрытием, на минимально возможных дистанциях и на скоростях не более 30 км/час (18 миль в час).
В автомобиле должен быть водитель для рулевого управления и управления тормозами. Колеса, трансмиссия, оси, рулевое управление и тормоза должны быть в исправном состоянии.
Note:В случае превышения указанных выше скорости или расстояния буксировки или при буксировке в направлении, противоположном нормальному направлению хода автомобиля, при нахождении на земле любого количества колес возможно повреждение ходовой части.
Порядок аварийной буксировки
Включите питание (IG).
Нажмите на педаль тормоза и переведите рычаг переключения передач в положение N.
Отпустите стояночный тормоз.
Медленно отпустите педаль тормоза.
Note:При буксировке автомобиля требуется чрезвычайная осторожность. Избегайте резкого трогания с места и беспорядочных маневров, которые могут создать чрезмерную нагрузку на кольцо для аварийной буксировки, тросы и цепи.
Если гибридная система выключена, усиление тормозов и рулевого управления не будет работать, в результате чего управление рулем и тормозами будет тяжелее.
Не выключайте питание. Выключение питания может вызвать срабатывание механизма блокировки рулевого управления, приводящее к опасной ситуации или несчастному случаю.
Никогда не применяйте приведенные ниже способы буксировки, т. к. они небезопасны и могут привести к повреждению автомобиля.
Никогда не буксируйте автомобиль только с 2 колесами на поверхности.
Note:Буксировка автомобиля с двумя колесами на земле может привести к перегреву и повреждению ходовой части или к соскакиванию колес с тележек.
Никогда не прибегайте к буксировке автомобиля посредством строповки с передней или задней стороны.
Note:Если используется буксир со стропами, возможно повреждение кузова автомобиля.
ФУНКЦИЯ УВЕДОМЛЕНИЯ (ДЛЯ СИСТЕМЫ ОБРАБОТКИ И ПЕРЕДАЧИ ИНФОРМАЦИИ (для моделей с приемопередатчиком системы обработки и передачи информации с поддержкой G-BOOK))
Note:Прежде чем выполнять проверки (например, проверку с имитацией условий возникновения неисправности или дорожное испытание) или ремонтные работы, которые могут вызвать отображение предупреждающих сообщений или регистрацию кодов DTC, необходимо перейти в режим ограничения предупреждающих уведомлений, чтобы центр G-BOOK не воспринимал предупреждения как реальные сообщения.
В режим ограничения предупреждающих уведомлений можно войти с помощью GTS или сенсорного пульта дистанционного управления.
Tip:Функция уведомления передает сигнал включения предупреждающего сообщения, поступивший от щитка приборов по шине CAN, в центр G-BOOK, используя устройство G-BOOK, если предупреждающее сообщение отображается из-за неисправности.
Включите режим ограничения предупреждающих уведомлений
Tip:Для отмены режима ограничения предупреждающих уведомлений выключите питание и включите его (IG), чтобы открылся экран служебного режима, и отмените режим ограничения предупреждающих уведомлений.
Включите режим ограничения предупреждающих уведомлений (с использованием GTS)
Подключите GTS к DLC3.
Запустите двигатель.
Включите GTS.
Войдите в следующие меню: Powertrain / Engine and ECT / Trouble Codes.
Включите режим ограничения предупреждающих уведомлений (с использованием сенсорного пульта дистанционного управления)
Перейдите в режим диагностики системы навигации.
Нажмите здесьClick here
СТРОГИЙ ЗАПРЕТ РУЧНОГО ВЫЗОВА ЭКСТРЕННОЙ ПОМОЩИ С ПОМОЩЬЮ УСЛУГИ ВЫЗОВА ЭКСТРЕННОЙ ПОМОЩИ (ДЛЯ СИСТЕМЫ ОБРАБОТКИ И ПЕРЕДАЧИ ИНФОРМАЦИИ) (для моделей с приемопередатчиком системы обработки и передачи информации с поддержкой G-BOOK)
Не прибегайте к вызову экстренной помощи при отсутствии аварийной ситуации. При выполнении проверки используйте ручную проверку обслуживания.
Note:Если обращение в центр G-BOOK через систему вызова экстренной помощи производится не в аварийной ситуации, будет создаваться ненужная нагрузка на центр G-BOOK. Это может привести к задержке реакции центра G-BOOK на другие вызовы экстренной помощи.
Если в результате случайного нажатия переключателя вызова экстренной помощи на место отправлены аварийно-спасательные автомобили, вам может быть предъявлен счет за их выезд, либо вы можете быть наказаны согласно местному законодательству.
При случайном вызове экстренной помощи:
Обратитесь в центр G-BOOK и объясните, что вызов сделан по ошибке.
Вызов экстренной помощи невозможно отменить или завершить из автомобиля. Остановить или завершить вызов экстренной помощи может только центр G-BOOK.
Если не удается проинформировать центр G-BOOK об ошибочном вызове, центр сообщит о нем органам власти, аварийно-спасательным службам и дилерам в соответствии со своими соглашениями. В результате могут быть отправлены аварийно-спасательные автомобили.
ФУНКЦИЯ УВЕДОМЛЕНИЯ (для моделей с приемопередатчиком системы обработки и передачи информации с поддержкой G-BOOK)
Когда срабатывает противоугонная система, центр G-BOOK связывается по телефону с клиентом.
Note:При обслуживании автомобиля примите меры, чтобы автомобиль не попадал в условия, которые могут стать причиной получения телефонного вызова от оператора G-BOOK.
Перед выполнением проверок и ремонтных работ, способных привести в действие функцию уведомления о срабатывании сигнализации, обязательно уведомляйте клиента о том, что он может получить телефонный вызов от оператора G-BOOK.
Tip:Уведомления о срабатывании сигнализации можно отменить на экране многофункционального дисплея.
СТРОГИЙ ЗАПРЕТ РУЧНОГО ВЫЗОВА ЭКСТРЕННОЙ ПОМОЩИ С ПОМОЩЬЮ УСЛУГИ ВЫЗОВА ЭКСТРЕННОЙ ПОМОЩИ (для моделей с приемопередатчиком системы обработки и передачи информации без поддержки G-BOOK)
Не прибегайте к вызову экстренной помощи при отсутствии аварийной ситуации. При выполнении проверки используйте ручную проверку обслуживания.
Note:Если услуга вызова экстренной помощи используется для соединения с пунктом PSAP при отсутствии аварийной ситуации, будет создаваться ненужная нагрузка на пункты PSAP. Это может привести к задержке реакции пункта PSAP на другие вызовы экстренной помощи.
Если в результате случайного нажатия переключателя вызова экстренной помощи на место отправлены аварийно-спасательные автомобили, вам может быть предъявлен счет за их выезд, либо вы можете быть наказаны согласно местному законодательству.
При случайном вызове экстренной помощи:
Обратитесь в пункт PSAP и объясните, что вызов сделан по ошибке.
Вызов экстренной помощи невозможно отменить или завершить из автомобиля. Остановить или завершить вызов экстренной помощи может только пункт PSAP.
Если не удается проинформировать PSAP об ошибочном вызове, центр сообщит о нем органам власти, аварийно-спасательным службам и дилерам в соответствии со своими соглашениями. В результате могут быть отправлены аварийно-спасательные автомобили.
ДЛЯ МОДЕЛЕЙ С КАТАЛИТИЧЕСКИМ НЕЙТРАЛИЗАТОРОМ ОТРАБОТАВШИХ ГАЗОВ
CAUTION:При попадании в нейтрализатор большого количества несгоревшего бензина или паров бензина может произойти перегрев нейтрализатора и возникнуть опасность пожара. Во избежание этого соблюдайте следующие меры предосторожности.
Используйте только неэтилированный бензин.
По возможности избегайте проверок "искры" на массу.
Выполняйте проверку "искры" на массу только в случае крайней необходимости. Проводите это испытание как можно быстрее.
Без соответствующих указаний ни в коем случае не допускайте работы двигателя вхолостую на предельных оборотах.
Не выполняйте длительных измерений компрессии двигателя. Проверка компрессии двигателя должна производиться как можно быстрее.
Не включайте двигатель при практически пустом топливном баке. Это может привести к пропускам зажигания и дополнительной нагрузке на нейтрализатор.