СИСТЕМА ОСЕЙ


  1. ОПИСАНИЕ


    1. Передний мост


      1. Используется цельный двухрядный конический роликовый подшипник.

      2. Ротор датчика располагается во внутреннем кольце подшипника.

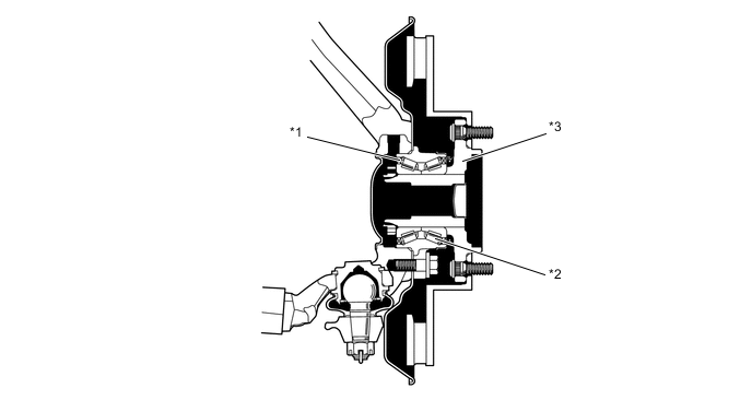
        Figure 1. Модели PreRunner с приводом на одну ось

        B002MRWC01
        *1 Ротор датчика *2 Двухрядный конический роликовый подшипник
        *3 Ступица переднего колеса в сборе - -

        Figure 2. Для моделей с полным приводом

        B002MUCC01
        *1 Ротор датчика *2 Двухрядный конический роликовый подшипник
        *3 Ступица переднего колеса в сборе - -
    2. Задний мост


      1. Используется цельный двухрядный радиально-упорный роликовый подшипник.

      2. Ротор датчика располагается во внутреннем кольце подшипника.

        Figure 3. Модели, произведенные компанией Arab American Vehicle Co. (AAV)

        B002NAAC01
        *1 Ротор датчика *2 Корпус задней полуоси в сборе
        *3 Вал задней полуоси *4 Двухрядный конический роликовый подшипник

        Figure 4. Кроме моделей изготовления AAV

        B002MWRC01
        *1 Ротор датчика *2 Корпус задней полуоси в сборе
        *3 Вал задней полуоси *4 Двухрядный конический роликовый подшипник