ПЕРЕДНЯЯ ПОДВЕСКА


  1. КОНСТРУКЦИЯ


    1. Для обеспечения плавности хода и комфорта используется раздельная конструкция передней опоры подвески.

    2. Благодаря оптимизации жесткости резиновой части опоры передней подвески в сборе снижается вибрация на неровных дорогах при сохранении реакции рулевого управления и достижении отличной управляемости и комфорта при движении.

    3. Уретановый передний буфер хода сжатия используется для достижения нелинейных характеристик демпфирующего усилия, который сокращает ударные нагрузки, генерируемые при достижении подвеской полного хода, обеспечивая как жесткость на скручивание при прохождении поворотов, так и более комфортное движение.

      A01IE0FC02
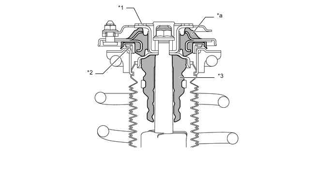
      *1 Опора передней подвески в сборе *2 Опорный подшипник раскоса
      *3 Передний буфер хода сжатия - -
      *a Резиновая часть - -
    4. Раздельная конструкция


      1. Нагрузка от амортизатора в сборе и переднего буфера хода сжатия передается на кузов автомобиля через резиновую часть опоры передней подвески в сборе.

      2. Нагрузка от передней цилиндрической винтовой пружины передается на кузов автомобиля через металлическую часть подшипника крепления раскоса и опоры передней подвески в сборе.

      3. Нагрузка от переднего амортизатора в сборе и переднего буфера хода сжатия, а также нагрузка от передней цилиндрической винтовой пружины демпфируются раздельно, что обеспечивает великолепную бесшумность и комфорт при движении.

        A01IDBQC01
        *1 Опора передней подвески в сборе - -
        *a Усилие, действующее на передний амортизатор в сборе *b Усилие, действующее на переднюю цилиндрическую винтовую пружину
        *c Усилие, воздействующее на буфер хода сжатия передней пружины - -