ДАТЧИК ДАВЛЕНИЯ СИСТЕМЫ КОНДИЦИОНИРОВАНИЯ ПРОВЕРКА БЕЗ СНЯТИЯ С АВТОМОБИЛЯ

ПОРЯДОК ВЫПОЛНЕНИЯ

  1. ПРОВЕРЬТЕ ДАТЧИК ДАВЛЕНИЯ СИСТЕМЫ КОНДИЦИОНИРОВАНИЯ

    1. I110353C03

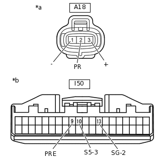
      *a

      Устройство с неподсоединенным жгутом проводов

      (датчик давления системы кондиционирования)

      *b

      Устройство с отсоединенным жгутом проводов

      (блок управления системой кондиционирования)

      Проверьте жгут проводов.

      1. Отсоедините разъем A18 датчика давления системы кондиционирования.

      2. Отсоедините разъем I50 блока управления системой кондиционирования.

      3. Измерьте сопротивление в соответствии со значениями, приведенными в таблице.

        Номинальное сопротивление

        Подключение диагностического прибора

        Условие

        Номинальное значение

        A18-1 (-) - I50-13 (SG-2)

        Всегда

        Менее 1 Ом

        A18-2 (PR) - I50-9 (PRE)

        Всегда

        Менее 1 Ом

        A18-3 (+) - I50-10 (S5-3)

        Всегда

        Менее 1 Ом

        A18-1 (-) - масса

        Всегда

        10 кОм или более

        A18-2 (PR) - масса

        Всегда

        10 кОм или более

        A18-3 (+) - масса

        Всегда

        10 кОм или более

        Если сопротивление не соответствует требованиям, замените жгут проводов.

      4. E202734C28

        *a

        Устройство с подсоединенным жгутом проводов

        (блок управления системой кондиционирования)

        Подсоедините разъем I50 блока управления системой кондиционирования.

      5. Включите зажигание (IG).

      6. Измерьте напряжение в соответствии со значениями, приведенными в таблице.

        Номинальное напряжение

        Подключение диагностического прибора

        Условие

        Номинальное значение

        A18-3 (+) - масса

        Питание включено (IG)

        4,75 - 5,25 В

        Если напряжение не соответствует требованиям, отремонтируйте жгут проводов или замените блок управления системой кондиционирования в сборе.

    2. Проверьте датчик давления системы кондиционирования.

      1. Подсоедините разъем к датчику давления системы кондиционирования.

      2. Установите манометрический коллектор.

      3. Прогрейте двигатель.

      4. Установите выключатель системы кондиционирования в положение ON (ВКЛ).

      5. E285437C09

        *a

        Устройство с подсоединенным жгутом проводов

        (блок управления системой кондиционирования)

        Измерьте напряжение в соответствии со значениями, приведенными в таблице.

        Tip:

        Проверку следует выполнять с обратной стороны разъема, не отсоединяя его от блока управления системой кондиционирования.

        Номинальное напряжение

        Подключение диагностического прибора

        Условие

        Номинальное значение

        I50-9 (PRE) - I50-13 (SG-2)

        Давление хладагента: Нормальное давление (ниже 3025 кПа (30,8 кгс/см2, 439фунтовна кв. дюйм) и более 176 кПа (1,8 кгс/см2, 26фунтовна кв. дюйм)

        0,74 - 4,71 В

        Если напряжение не отвечает требованиям, замените датчик давления системы кондиционирования.