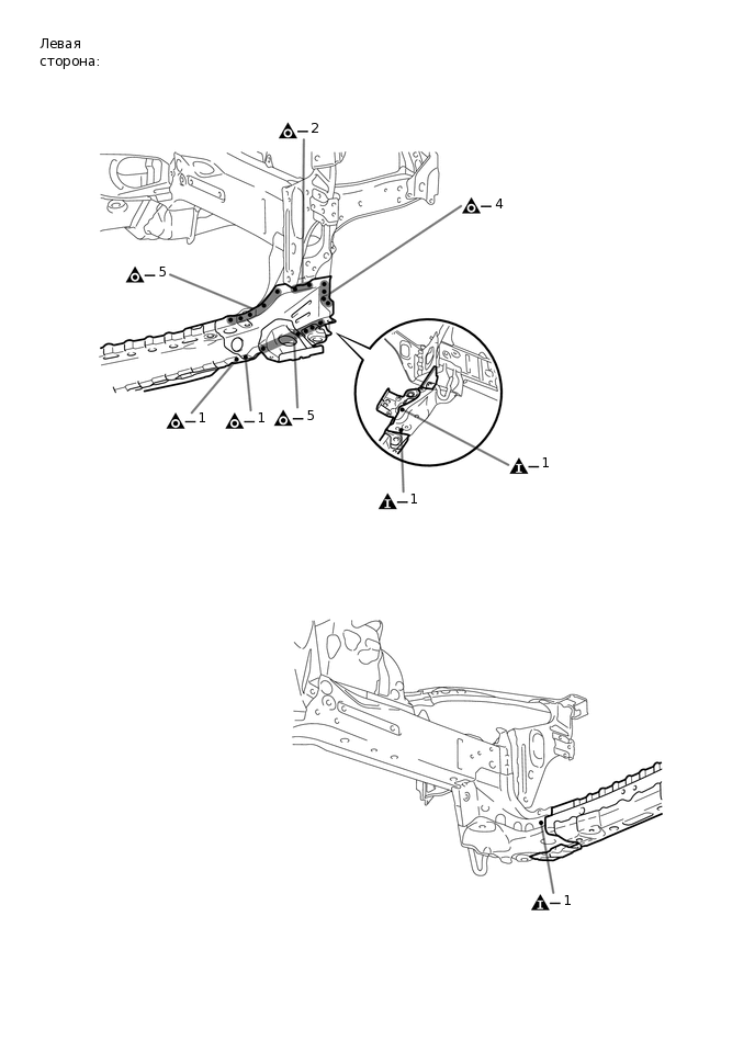
НИЖНИЙ КРОНШТЕЙН РАДИАТОРА ЗАМЕНА УЗЛОВ
СНЯТИЕ
Значения символов

Точки сварки при снятии

Точки сварки при снятии
УСТАНОВКА
Значения символов

Сварка электрозаклепкой

Сварка электрозаклепкой
ТОЧКА СНЯТИЯ
*1: Болты.
ТОЧКА УСТАНОВКИ
Проверьте сопряжение новых деталей с прилегающими деталями кузова перед сваркой. От того, насколько правильно сопрягаются детали друг с другом, будет зависеть после сборки внешний вид узла и всего автомобиля.
Установите не закрепляя новые детали и измерьте необходимые размеры в соответствии со схемой измерений (См. размеры кузова.)
*1: болты.
После нанесения верхнего слоя покрытия нанесите антикоррозийное средство на сварные точки несущих рабочую нагрузку швов замкнутого профиля с внутренней стороны панели.