AUDIO AND VISUAL SYSTEM


  1. OUTLINE


    1. Audio Head Unit


      1. The audio head unit has been made Digital Audio Broadcast (DAB) ready through the addition of an accessory external tuner.*


        • *: Models for Europe

      2. Discs with the marks shown below can be played.

        A004GS3
    2. Speaker System


      1. The speaker system is available with 6 speakers, respectively.

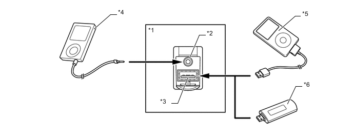
    3. No.1 Stereo Jack Adapter Assembly


      1. An AUX port provided to enable playing music data that is stored on portable audio devices.

      2. A USB port provided to enable playing music data that is stored on a USB memory stick or an iPod.

        Tech Tips

        1. USB and iPod operation functions may not operate in certain conditions or with certain models.

        2. iPod is a trademark of Apple Inc. that has been registered in the U.S.A. and other countries.

        A004GLDE03
        Text in Illustration
        *1 No.1 Stereo Jack Adapter Assembly *2 AUX Port
        *3 USB Port *4 Portable Audio
        *5 iPod *6 USB Memory Stick
  2. SPECIFICATION


    1. Audio Head Unit

      Audio Head Unit Design Specification Destination
      Radio Receiver Assembly A004GN4
      • AM/FM Tuner

      • CD Player

      • CD-TEXT Display Function

      • MP3 and WMA Playback Function

      • DAB Ready

      • iPod Player Interface

      • USB Memory Interface

      • Stereo Jack Adapter (USB and AUX Port)

      • 6-speaker System

      • Manufacturer: Fujitsu Ten

      Europe
      A004GPG
      A004GXU
      • AM/FM Tuner

      • CD Player

      • CD-TEXT Display Function

      • MP3 and WMA Playback Function

      • iPod Player Interface

      • USB Memory Interface

      • Stereo Jack Adapter (USB and AUX Port)

      • 6-speaker System

      • Manufacturer: Fujitsu Ten

      China
      A004GXU
      • AM/FM Tuner

      • CD Player

      • CD-TEXT Display Function

      • MP3 and WMA Playback Function

      • iPod Player Interface

      • USB Memory Interface

      • Stereo Jack Adapter (USB and AUX Port)

      • 6-speaker System

      • Manufacturer: Fujitsu Ten

      General
      A004GQ3
      A004GQ3
      • AM/FM Tuner

      • CD Player

      • CD-TEXT Display Function

      • MP3 and WMA Playback Function

      • iPod Player Interface

      • USB Memory Interface

      • Stereo Jack Adapter (USB and AUX Port)

      • 6-speaker System

      • Manufacturer: Fujitsu Ten

      Australia
    2. 6-speaker System

      A004GLBE02
      Location Speaker Type Caliber Impedance Input Range
      *1 Front Tweeter x 2 25 mm (1.0 in.) 4 Ω 2 W
      *2 Front Speaker x 2 160 mm (6.3 in.) 4 Ω 20 W
      *3 Rear Speaker x 2 65 mm (2.6 in.) 6 Ω 10 W