ПРАВАЯ ПОДУШКА БЕЗОПАСНОСТИ ЗАНАВЕСОЧНОГО ТИПА В СБОРЕ (для моделей без заднего сиденья № 2) СНЯТИЕ С ЭКСПЛУАТАЦИИ

ПРЕДОСТЕРЕЖЕНИЕ / ПРИМЕЧАНИЕ / УКАЗАНИЕ

CAUTION:

Перед выполнением развертывания каких-либо деталей системы SRS с целью утилизации внимательно изучите все действующие экологические нормы и правила работы с опасными материалами и обеспечьте их соблюдение. Эта операция может считаться обращением с опасными материалами.

ПОРЯДОК ВЫПОЛНЕНИЯ

  1. МЕРЫ ПРЕДОСТОРОЖНОСТИ

    CAUTION:
    • Подушка безопасности или преднатяжитель ремня безопасности может случайно сработать от разряда статического электричества. Во избежание подобной ситуации перед выполнением данной процедуры необходимо прикоснуться голой рукой к металлическому предмету.

    • B394913

      Запрещается утилизация подушки безопасности занавесочного типа в сборе с неразвернутой подушкой безопасности.

    • Подушка безопасности при развертывании издает громкий хлопок, поэтому работы следует проводить на открытом пространстве, чтобы не причинять неудобства жителям близлежащих домов.

      B401137
    • Для активации подушки безопасности всегда применяйте предназначенный для этого SST (приспособление для срабатывания подушек безопасности SRS). Все операции следует выполнять в безопасном месте, удаленном от источников электрических помех.

    • При развертывании подушки безопасности занавесочного типа следует находиться от нее на расстоянии не менее 10 м (32,8 фута).

    • Подушка безопасности занавесочного типа при развертывании сильно нагревается. Не касайтесь ее как минимум в течение 30 минут после развертывания.

    • Для работы с развернутой подушкой безопасности занавесочного типа в сборе обязательно надевайте специальные перчатки и защитные очки.

    • Не допускайте попадания воды на подушку безопасности занавесочного типа в сборе после развертывания подушки.

    • По завершении работ всегда мойте руки водой.

    Tip:

    При сдаче в лом автомобиля, оснащенного системой SRS, или снятии с эксплуатации подушки безопасности занавесочного типа сначала разверните подушку безопасности в соответствии с описанной ниже процедурой. При обнаружении неисправностей, связанных со срабатыванием подушки безопасности, обращайтесь в Отдел технического обслуживания фирмы-дистрибьютора.

  2. УТИЛИЗАЦИЯ ПОДУШКИ БЕЗОПАСНОСТИ ЗАНАВЕСОЧНОГО ТИПА В СБОРЕ (если она установлена в автомобиле)

    Note:
    • При утилизации подушки безопасности занавесочного типа не разворачивайте ее в автомобиле клиента.

    • При развертывании подушки безопасности обязательно соблюдайте приведенные ниже инструкции.

    Tip:

    Подготовьте аккумуляторную батарею как источник питания для развертывания подушки безопасности.

    1. C110371N08

      Проверьте работоспособность SST.

      Нажмите здесьClick hereClick here

      09082-00700

    2. См. раздел "Меры предосторожности".

      Нажмите здесьClick hereClick hereClick here

    3. Отсоедините провод от отрицательного (-) вывода аккумуляторной батареи.

      B394718
      CAUTION:

      После отсоединения провода от отрицательного (-) вывода аккумуляторной батареи подождите не менее 90 с, чтобы предотвратить срабатывание системы SRS.

    4. Снимите обивку крыши в сборе.

      Нажмите здесьClick hereClick here

    5. Отсоедините разъем подушки безопасности занавесочного типа.

      1. Отверткой с обернутым клейкой лентой концом отсоедините разъем подушки безопасности.

        Note:

        При разъединении разъемов подушки безопасности будьте осторожны, чтобы не повредить жгут проводов подушки безопасности.

    6. Установите SST.

      B399562
      CAUTION:

      Убедитесь, что крепление подушки безопасности занавесочного типа в сборе не ослаблено.

      1. B420071N01

        После соединения SST между собой подключите их к подушке безопасности занавесочного типа в сборе.

        09082-00700

        09082-00802

        09082-10801

        09082-20801

        Note:

        Во избежание повреждения разъема SST или жгута проводов не закрывайте дополнительный замок парного замка.

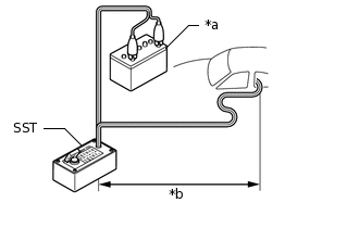
      2. C202800C05

        *a

        Battery

        *b

        10 м (32,8 фута) или более

        Переместите SST на расстояние не менее 10 м (32,8 фута) от заднего бокового окна автомобиля.

      3. Жгут проводов SST должен обеспечивать достаточное расстояние до заднего бокового окна. Закройте все двери и окна автомобиля.

        Note:

        Соблюдайте осторожность, чтобы не повредить жгут проводов SST.

      4. Подсоедините красный зажим SST к положительному (+) выводу аккумуляторной батареи, а черный – к отрицательному (-) выводу.

    7. Разверните подушку безопасности.

      1. Никто не должен находиться внутри автомобиля и на расстоянии до 10 м (32,8 фута) от него.

      2. Нажмите на активационный выключатель SST, чтобы развернуть подушку безопасности.

        CAUTION:
        • B400936

          Перед развертыванием убедитесь, что внутри автомобиля или рядом с ним нет людей.

        • B394931

          Подушка безопасности занавесочного типа при развертывании сильно нагревается. Не касайтесь ее как минимум в течение 30 минут после развертывания.

        • B395360

          Для работы с развернутой подушкой безопасности занавесочного типа в сборе обязательно надевайте специальные перчатки и защитные очки.

        • B394934

          Не допускайте попадания воды на подушку безопасности занавесочного типа в сборе после развертывания подушки.

        • По завершении работ всегда мойте руки водой.

        Tip:

        Подушка безопасности развертывается в момент загорания светодиодного индикатора выключателя SST.

  3. УТИЛИЗАЦИЯ ПОДУШКИ БЕЗОПАСНОСТИ ЗАНАВЕСОЧНОГО ТИПА В СБОРЕ (если она не установлена в автомобиле)

    Note:

    При развертывании подушки безопасности обязательно соблюдайте приведенные ниже инструкции.

    Tip:

    Подготовьте аккумуляторную батарею как источник питания для развертывания подушки безопасности.

    1. C110371N08

      Проверьте работоспособность SST.

      Нажмите здесьClick hereClick here

      09082-00700

    2. Снимите подушку безопасности занавесочного типа в сборе.

      Нажмите здесьClick hereClick here

      B394718
      CAUTION:
      • При снятии подушки безопасности занавесочного типа в сборе работы следует начинать не ранее, чем через 90 с после выключения зажигания и отсоединения провода от отрицательного (-) вывода аккумуляторной батареи.

      • B417759C03
        V100155

        Сторона разворачивания

        При помещении подушки безопасности занавесочного типа в сборе на хранение ее следует укладывать поверхностью, в направление которой происходит развертывание, вверх.

    3. B279804

      Срежьте развернутую часть подушки безопасности занавесочного типа.

    4. B104882C16

      *a

      Диаметр провода

      *b

      Площадь поперечного сечения провода без изоляции

      При помощи скрученного провода привяжите подушку безопасности занавесочного типа к ненужной шине.

      Провод

      Площадь поперечного сечения провода без изоляции

      1,25 мм2 (0,0019 дюйма2) или более

      CAUTION:

      При использовании для фиксации подушки безопасности занавесочного типа слишком тонкого провода или альтернативного приспособления при развертывании подушки безопасности фиксирующее приспособление может разорваться. Используйте только специальные автомобильные провода сечением не менее 1,25 мм 2 (0,0019 дюйма2).

      Tip:

      Формула расчета площади поперечного сечения жилы:

      Площадь сечения = 3,14 x (диаметр)2 разделить на 4

      1. B279805C01

        *a

        Ширина

        *b

        Внутренний диаметр

        Поместите в шину подушку безопасности занавесочного типа в сборе, как показано на рисунке.

        Минимальный размер шины

        Ширина

        185 мм (7,28 дюйма)

        Внутренний диаметр

        360 мм (1,18 фута)

        CAUTION:

        Провода должны быть плотно натянуты. Если намотать провода слабо, во время развертывания подушка безопасности занавесочного типа может оторваться.

        Note:

        Поскольку при развертывании подушки безопасности шина может быть повреждена, используйте ненужную шину.

    5. Установите SST.

      1. B345257N01

        После соединения SST между собой подключите их к подушке безопасности занавесочного типа в сборе.

        09082-00802

        09082-10801

        09082-20801

    6. Установите шины.

      B399334
      CAUTION:

      Не размещайте подушку безопасности занавесочного типа таким образом, чтобы при ее развертывании усилие направлялось в землю.

      1. B289033C03

        *a

        Шины (2 или более)

        *b

        Внутренний диаметр

        *c

        Ширина

        Под шину, к которой привязана левая подушка безопасности занавесочного типа, подложите, как минимум, 2 шины.

        Минимальный размер шины

        Ширина

        185 мм (7,28 дюйма)

        Внутренний диаметр

        360 мм (1,18 фута)

        Note:

        Не размещайте разъем SST под шиной, так как это может привести к его повреждению.

      2. На шину, к которой привязана подушка безопасности занавесочного типа, положите, как минимум, 2 шины. В верхней шине должен быть установлен диск.

        Note:

        Поскольку при развертывании подушки безопасности шины и диски могут получить повреждения, используйте ненужные шины и диски.

      3. C223306

        Свяжите шины между собой с помощью двух проводов.

        CAUTION:

        Провода должны быть плотно натянуты. Слабина проводов приводит к расцеплению шин при развертывании подушки безопасности.

    7. Установите SST.

      1. B279808C03

        *1

        Подушка безопасности занавесочного типа в сборе

        *a

        Battery

        *b

        10 м (32,8 фута) или более

        Подсоедините разъем SST.

        09082-00700

        Note:

        Во избежание повреждения разъема SST или жгута проводов не закрывайте дополнительный замок парного замка. Кроме того, обеспечьте небольшое провисание жгута проводов SST внутри покрышки

      2. Переместите SST на расстояние не менее 10 м (32,8 фута) от подушки безопасности, привязанной к шине.

    8. Разверните подушку безопасности.

      1. Подсоедините красный зажим SST к положительному (+) выводу аккумуляторной батареи, а черный – к отрицательному (-) выводу.

      2. Проверьте, чтобы никто не находился в радиусе 10 м (32,8 фута) от шины, которой привязана подушка безопасности занавесочного типа.

      3. Нажмите на активационный выключатель SST, чтобы развернуть подушку безопасности.

        B401767
        CAUTION:

        При развертывании подушки безопасности рядом с ней не должно быть людей.

        Tip:

        Подушка безопасности развертывается в момент загорания светодиодного индикатора выключателя SST.

    9. Отправьте подушку безопасности занавесочного типа в сборе на утилизацию.

      CAUTION:
      • B399336

        Подушка безопасности занавесочного типа при развертывании сильно нагревается. Не касайтесь ее как минимум в течение 30 минут после развертывания.

      • B399333

        Для работы с развернутой подушкой безопасности занавесочного типа в сборе обязательно надевайте специальные перчатки и защитные очки.

      • B399337

        Не допускайте попадания воды на подушку безопасности занавесочного типа в сборе после развертывания подушки.

      • По завершении работ всегда мойте руки водой.

      1. Снимите подушку безопасности занавесочного типа с шины.

      2. Уложите подушку безопасности занавесочного типа в полиэтиленовый пакет, надежно завяжите его и утилизируйте в соответствии с местными нормами.