БЛОК ДВИГАТЕЛЯ ПОВТОРНАЯ СБОРКА
ПОРЯДОК ВЫПОЛНЕНИЯ
УСТАНОВИТЕ СОЕДИНИТЕЛЬНОЕ КОЛЬЦО КАРТЕРА С РЕБРАМИ ЖЕСТКОСТИ
*a
Высота выступания
Note:Снимать соединительные кольца нужно только для их замены.
С помощью пластмассового молотка запрессуйте до упора 2 новых соединительных кольца.
Номинальная высота выступа
4,3 - 5,3 мм (0,169 - 0,209 дюйма)
ВВЕРНИТЕ РЕЗЬБОВУЮ ШПИЛЬКУ КАРТЕРА С РЕБРАМИ ЖЕСТКОСТИ
Note:Если шпилька деформирована или повреждена ее резьба, замените шпильку.
С помощью торцевого ключа "TORX" Е5 и E8 вверните шпильки.
*a
Передняя сторона
*b
Нижняя сторона
*c
20 мм (0,787 дюйма)
*d
35 мм (1,38 дюйма)
*e
13 мм (0,512 дюйма)
*f
8,5 мм (0,335 дюйма)
*g
18 мм (0,709 дюйма)
*h
8,0 мм (0,315 дюйма)
Для шпильки A
9,5 Н*м
97 кгс*см
84 фунт-сила-дюйма
Для шпильки B
4,0 Н*м
41 кгс*см
35 фунт-сила-дюймов
УСТАНОВИТЕ РЕЗЬБОВУЮ ШПИЛЬКУ БЛОКА ЦИЛИНДРОВ
-
*a
46 мм (1,81 дюйма)
*b
19 мм (0,748 дюйма)
*c
67 мм (2,64 дюйма)
С помощью торцевого ключа "TORX" E10 вверните резьбовые шпильки.
15 Н*м
153 кгс*см
11 фунт-сила-футов
-
*a
14 мм (0,551 дюйма)
*b
13 мм (0,512 дюйма)
*c
29 мм (1,14 дюйма)
Для моделей с системой РОГ:
С помощью торцевого ключа "TORX" Е8 вверните резьбовую шпильку.
9,5 Н*м
97 кгс*см
84 фунт-сила-дюйма
Tip:Шпильку можно устанавливать в A или B.
-
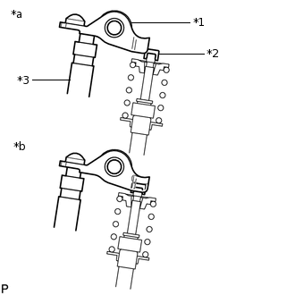
УСТАНОВИТЕ БАЛАНСИРОВОЧНЫЙ УЗЕЛ ДВИГАТЕЛЯ В СБОРЕ
-
*1
Крышка демпфера уравновешивающего вала
*2
Ведомая шестерня уравновешивающего вала
*a
Метка совмещения
Убедитесь, что метки на крышке демпфера уравновешивающего вала и на ведомой шестерне уравновешивающего вала совмещены.
Если метки не совмещены, повторно совместите их.
-
*1
Крышка демпфера уравновешивающего вала
*2
Ведомая шестерня уравновешивающего вала
*a
Метка совмещения
Поместите гаечный ключ на заднюю часть уравновешивающего вала № 2 с вырезом и зафиксируйте вал на месте.
Поверните ведомую шестерню уравновешивающего вала № 1 против часовой стрелки до совмещения метки на ведомой шестерне уравновешивающего вала с меткой на крышке демпфера уравновешивающего вала.
-
-
Установите балансировочный узел двигателя на картер с ребрами жесткости, закрепите его 3 болтами и затяните болты в последовательности, показанной на рисунке.
24 Н*м
245 кгс*см
18 фунт-сила-футов
-
УСТАНОВИТЕ КАРТЕР С РЕБРАМИ ЖЕСТКОСТИ В СБОРЕ
-
*1
Шпонка коленчатого вала
Проверните коленчатый вал по часовой стрелке так, чтобы шпонка коленчатого вала была расположена под углом 270° относительно нижней точки, как показано на рисунке.
-
*a
Герметик
*b
2,5 - 3,5 мм (0,0984 - 0,138 дюйма)
*c
7,0 - 9,0 мм (0,276 - 0,354 дюйма)

Картер с ребрами жесткости

Блок цилиндров
Нанесите герметик в местах, показанных на рисунке.
Герметик
Фирменный герметик Seal Packing Black от компании Toyota, Three bond 1207B или аналогичный
Номинальные размеры уплотнения
Область
Заданные условия
Зона, отмеченная непрерывной линией
2,5 - 3,5 мм (0,0984 - 0,138 дюйма)
Зона, отмеченная пунктирной линией
Ширина 7,0 - 9,0 мм (0,276 - 0,354 дюйма), толщина 2,5 - 3,5 мм (0,0984 - 0,138 дюйма)
Длина A участка нанесения
28 мм (1,10 дюйма)
Note:Удалите все масло с контактной поверхности.
После нанесения герметика в течение 3 мин установите картер с ребрами жесткости и в течение 15 мин затяните болты и гайки.
Не заливайте масло в течение, как минимум, 4 часов после установки.
Не запускайте двигатель в течение 4 часов после установки.
-
*a
Вырез
Убедитесь, что задние вырезы расположены, как показано на рисунке.
Очистите болты и их установочные отверстия.
Нанесите герметик не менее чем на 3 витка резьбы на конце болта A.
Герметик
Фирменный герметик 1344 от компании Toyota, Three Bond 1344 или аналогичный
-
*a
Тип болта
*b
Порядок затяжки
Временно установите картер с ребрами жесткости и закрепите его 11 болтами.
Длина болта
Параметр / Устройство
Номинальное значение
Болт A
65 мм (2,56 дюйма)
Болт B
35 мм (1,38 дюйма)
Болт C
125 мм (4,92 дюйма)
Болт D
165 мм (6,50 дюйма)
Tip:Нанесите герметик на болт A перед его вворачиванием.
Для установки картера с ребрами жесткости затяните 11 болтов в последовательности, показанной на рисунке
Для болта A
24 Н*м
245 кгс*см
18 фунт-сила-футов
Кроме болта A
43 Н*м
438 кгс*см
32 фунт-сила-фута
-
УСТАНОВИТЕ ОТРАЖАТЕЛЬ МАСЛЯНОГО ПОДДОНА № 1
-
Установите отражатель поддона картера № 1 и равномерно в несколько этапов затяните 5 болтов в последовательности, показанной на рисунке.
10 Н*м
102 кгс*см
7 фунт-сила-футов
-
УСТАНОВИТЕ МАСЛОПРИЕМНИК С СЕТЧАТЫМ ФИЛЬТРОМ В СБОРЕ
-
*a
Выступание
Нанесите тонкий слой моторного масла на новую прокладку.
Совместите выступ прокладки с вырезом сетчатого масляного фильтра и установите прокладку на сетчатый масляный фильтр.
Установите сетчатый масляный фильтр и закрепите его 3 болтами, затянув их в несколько этапов в последовательности, показанной на рисунке.
9,0 Н*м
92 кгс*см
80 фунт-сила-дюймов
-
УСТАНОВИТЕ МАСЛЯНЫЙ ПОДДОН В СБОРЕ
-
*a
Герметик Seal Packing
Нанесите герметик в виде сплошного валика, как показано на рисунке.
Герметик
Фирменный герметик Seal Packing Black от компании Toyota, Three bond 1207B или аналогичный
Номинальный диаметр уплотнения
2,5 - 3,5 мм (0,0984 - 0,138 дюйма)
Note:Удалите все масло с контактной поверхности.
После нанесения герметика в течение 3 минут установите масляный поддон в сборе и в течение 10 минут затяните болты и гайки.
Не заливайте масло в течение, как минимум, 4 часов после установки.
Не запускайте двигатель в течение 4 часов после установки.
-
Установите поддон картера и закрепите его 11 болтами и 2 гайками, затянув их в несколько этапов в последовательности, показанной на рисунке.
10 Н*м
102 кгс*см
7 фунт-сила-футов
Tip:Болт A и гайка A затягиваются дважды.
-
УСТАНОВИТЕ ФИЛЬТРУЮЩИЙ ЭЛЕМЕНТ МАСЛЯНОГО ФИЛЬТРА
Нажмите здесьClick here
УСТАНОВИТЕ ЗАДНИЙ САЛЬНИК КОЛЕНЧАТОГО ВАЛА
Нажмите здесьClick here
УСТАНОВИТЕ РАСПОРНУЮ ДЕТАЛЬ ВОДЯНОЙ РУБАШКИ БЛОКА ЦИЛИНДРОВ
Установите распорную деталь водяной рубашки блока цилиндров на блок цилиндров.
УСТАНОВИТЕ ПРОКЛАДКУ ГОЛОВКИ БЛОКА ЦИЛИНДРОВ
Нажмите здесьClick hereClick here
УСТАНОВИТЕ ГОЛОВКУ БЛОКА ЦИЛИНДРОВ В СБОРЕ
Нажмите здесьClick hereClick here
УСТАНОВИТЕ РЕГУЛИРОВОЧНОЕ СОЕДИНИТЕЛЬНОЕ КОЛЬЦО КРЫШКИ ПОДШИПНИКА РАСПРЕДВАЛА
*a
Высота выступания
Note:Снимать соединительные кольца нужно только для их замены.
Используя молоток с пластмассовым покрытием, вбейте 10 новых соединительных колец в кожух распредвала.
Номинальная высота выступа
2,7 - 3,3 мм (0,106 - 0,130 дюйма)
УСТАНОВИТЕ СТОПОРНЫЙ ШТИФТ КОЖУХА РАСПРЕДВАЛА В СБОРЕ
*a
Высота выступания
Note:Снимать стопорные штифты нужно только для их замены.
Используя молоток с пластмассовым покрытием, вбейте 2 новых стопорных штифта в кожух распредвала.
Номинальная высота выступа
5,0 - 7,0 мм (0,197 - 0,276 дюйма)
ЗАВЕРНИТЕ РЕЗЬБОВУЮ ШПИЛЬКУ КОЖУХА РАСПРЕДВАЛА
Note:Если шпилька деформирована или повреждена ее резьба, замените шпильку.
Нанесите герметик-фиксатор на резьбу для шпильки в кожухе распредвала.
Фиксатор
Фирменный герметик 1324 от компании Toyota, Three Bond 1324 или аналогичный.
-
*a
20 мм (0,787 дюйма)
*b
35 мм (1,38 дюйма)
*c
13 мм (0,512 дюйма)
С помощью торцевого ключа "TORX" Е8 вверните резьбовую шпильку.
9,0 Н*м
92 кгс*см
80 фунт-сила-дюймов
УСТАНОВИТЕ ПОДШИПНИК РАСПРЕДВАЛА № 1
-
*a
Штангенциркуль
Очистите подшипник распредвала № 1.
Установите подшипник распредвала в крышку подшипника распредвала № 1.
С помощью штангенциркуля измерьте расстояние между кромкой крышки подшипника распредвала и кромкой подшипника распредвала.
Размер A - B или B - A
0-0,7 мм (0-0,0276 дюйма)
-
УСТАНОВИТЕ ПОДШИПНИК РАСПРЕДВАЛА № 2
-
*a
Штангенциркуль
Очистите подшипник распредвала № 2.
Установите подшипник распредвала в кожух распредвала.
С помощью штангенциркуля измерьте расстояние между кромкой кожуха распредвала и кромкой подшипника распредвала.
Номинальное расстояние
1,15 - 1,85 мм (0,0453 - 0,0728 дюйма)
-
УСТАНОВИТЕ ФИЛЬТР ГИДРАВЛИЧЕСКОГО КЛАПАНА ИЗМЕНЕНИЯ ФАЗ
Установите фильтр гидравлического клапана измерения фаз на крышку подшипника распредвала № 1.
УСТАНОВИТЕ РАСПРЕДВАЛ № 2
Очистите шейки распредвала, кожух распредвала, и крышки подшипников распредвала.
Нанесите тонкий слой моторного масла на шейку распредвала, крышки подшипников распредвала и кожух распредвала.
Установите распредвал № 2 в кожух распредвала.
ПРОВЕРЬТЕ ЗУБЧАТОЕ КОЛЕСО РАСПРЕДВАЛА В СБОРЕ
Нажмите здесьClick here
УСТАНОВИТЕ РАСПРЕДВАЛ
Очистите шейки распредвала, кожух распредвала, и крышки подшипников распредвала.
Нанесите тонкий слой моторного масла на шейку распредвала, крышки подшипников распредвала и кожух распредвала.
Установите распредвал в кожух распредвала.
УСТАНОВИТЕ КРЫШКУ ПОДШИПНИКА РАСПРЕДВАЛА
-
Проверьте метки и номера на крышках подшипников распредвала и установите их в правильное положение и в нужном направлении.
-
Заверните 11 болтов крышек подшипников в последовательности, показанной на рисунке.
16 Н*м
163 кгс*см
12 фунт-сила-футов
Note:После установки крышек подшипников убедитесь, что распредвал вращается плавно.
-
УСТАНОВИТЕ КОЛПАК ШТОКА КЛАПАНА
Нанесите тонкий слой моторного масла на торцы штока клапана.
Установите 16 колпачков штоков клапанов на головку блока цилиндров.
Note:Будьте осторожны, чтобы не уронить колпаки штоков клапанов в головку блока цилиндров.
УСТАНОВИТЕ МЕХАНИЗМ РЕГУЛИРОВКИ ЗАЗОРА В ПРИВОДЕ КЛАПАНОВ В СБОРЕ
Перед установкой проверьте механизм регулировки зазора.
Нажмите здесьClick here
Установите 16 механизмов регулировки зазора в приводе клапана на головку блока цилиндров.
Note:Устанавливайте механизм регулировки зазора в приводе клапана на то же место, откуда он снимался.
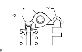
УСТАНОВИТЕ РЫЧАГ ПРИВОДА КЛАПАНА № 1 В СБОРЕ
-
*1
Рычаг привода клапана № 1
*2
Механизм регулировки зазора в приводе клапана в сборе
*3
Колпак штока клапана
Нанесите слой моторного масла на выступ механизма регулировки зазора в приводе клапана и торцы колпаков штока клапана.
Установите 16 рычагов привода клапанов № 1, как показано на рисунке.
-
УСТАНОВИТЕ КОЖУХ РАСПРЕДВАЛА В СБОРЕ
-
*1
Рычаг привода клапана № 1
*2
Колпак штока клапана
*3
Механизм регулировки зазора в приводе клапана в сборе
*a
НЕПРАВИЛЬНО
*b
ПРАВИЛЬНО
Убедитесь, что коромысла привода клапана № 1 установлены так, как показано на рисунке.
-
*a
Герметик
*b
Пунктирная линия
*c
Канавка
*d
2,5 - 3,5 мм (0,0984 - 0,138 дюйма)
*e
3,5 - 4,0 мм (0,138 - 0,157 дюйма)
Нанесите герметик в местах, показанных на рисунке.
Герметик
Фирменный герметик Seal Packing Black от компании Toyota, Three bond 1207B или аналогичный
Нанесите герметик, как описано ниже.
Участок
Диаметр валика герметика
Место нанесения
Зона, отмеченная непрерывной линией
3,0 - 4,0 мм (0,118 - 0,157 дюйма)
Расстояние от края кожуха распредвала до центра зоны нанесения герметика: 3,5 - 4,0 мм (0,138 - 0,157 дюйма)
Пунктирная линия
Расстояние от наружного края канавки до центра зоны нанесения герметика: 2,5 - 3,5 мм (0,0984 - 0,138 дюйма)
Note:Удалите все масло с контактной поверхности.
После нанесения герметика в течение 3 минут установите кожух распредвала и в течение 15 минут затяните болты.
-
*a
Примерно 17°
*b
Приблизительно 2°
*c
Штифт
Расположите штифт распредвала и распредвал № 2, как показано на рисунке.
-
Установите кожух распредвала и затяните 20 болтов крышек подшипников в порядке, показанном на рисунке.
27 Н*м
275 кгс*см
20 фунт-сила-футов
Note:Не заливайте масло в течение, как минимум, 4 часов после установки.
Не запускайте двигатель в течение 4 часов после установки.
Тщательно сотрите весь избыточный герметик.
-
УСТАНОВИТЕ ЗУБЧАТОЕ КОЛЕСО РАСПРЕДВАЛА В СБОРЕ
-
*a
Отверстие под штифт
*b
Метка совмещения
Проверьте положение зубчатого колеса распредвала.
Если зубчатое колесо распредвала не установлено в положение опережения, освободите стопорный штифт и заново установите зубчатое колесо распредвала (см. процедуру "Установите зубчатое колесо распредвала в сборе").
-
*1
Штифт
*a
Отверстие под штифт
Совместите штифт распредвала с отверстием под штифт в зубчатом колесе распредвала и установите зубчатое колесо на распредвал.
-
*1
Зубчатое колесо распредвала в сборе
*a
НЕПРАВИЛЬНО
*b
ПРАВИЛЬНО
*c
Зазор
*d
Отсутствие зазора
*e
Фланец распредвала
Убедитесь в отсутствии зазора между фланцем зубчатого колеса распредвала в сборе и распредвалом.
-
*a
Удерживайте

Поверните
Удерживая гаечным ключом шестигранную часть распредвала, вверните болт.
85 Н*м
867 кгс*см
63 фунт-сила-фута
Note:Соблюдайте осторожность, чтобы не повредить кожух распредвала в сборе или трубку свечного колодца гаечным ключом.
Не разбирайте зубчатое колесо распредвала в сборе.
-
УСТАНОВИТЕ ЗВЕЗДОЧКУ РАСПРЕДВАЛА
-
*a
Удерживайте

Поверните
Удерживая гаечным ключом распредвал № 2 за шестигранную часть, установите ведущую звездочку распредвала и закрепите ее болтом.
85 Н*м
867 кгс*см
63 фунт-сила-фута
Note:Соблюдайте осторожность, чтобы не повредить кожух распредвала в сборе или трубку свечного колодца гаечным ключом.
-
УСТАНОВИТЕ ВЕДУЩУЮ ЗВЕЗДОЧКУ ЦЕПИ ГРМ НА КОЛЕНЧАТОМ ВАЛУ
Установите ведущую звездочку цепи газораспределительного механизма на коленчатый вал.
ЗАЛЕЙТЕ МОТОРНОЕ МАСЛО
-
Залейте 50 куб. см (3,1 куб. дюйма) моторного масла в масляное отверстие, показанное на рисунке.
Note:Если механизмы регулировки зазора в приводе клапанов в сборе снимались, необходимо добавить масло.
Убедитесь, что камера низкого давления и масляные каналы механизмов регулировки зазора заполнены моторным маслом.
-
УСТАНОВИТЕ ПОРШЕНЬ ЦИЛИНДРА № 1 В ВМТ ТАКТА СЖАТИЯ
-
*1
Установочная шпонка шкива коленчатого вала
Временно установите болт ведущего колеса привода газораспределения.
Проверните коленчатый вал на 40° против часовой стрелки, чтобы установочная шпонка шкива коленчатого вала располагалась, как показано на рисунке.
-
*a
Примерно 7°
*b
Примерно 32°
*c
Установочная метка
Убедитесь, что синхронизирующие метки на зубчатых колесах распредвалов установлены в положениях, показанных на рисунке.
Tip:Точка "A" на рисунке не является синхронизирующей меткой.
Снимите болт ведущего колеса привода газораспределения.
-
УСТАНОВИТЕ УСПОКОИТЕЛЬ ЦЕПИ № 1
-
Установите успокоитель цепи № 1 и закрепите его 2 болтами в порядке, показанном на рисунке.
21 Н*м
214 кгс*см
15 фунт-сила-футов
-
УСТАНОВИТЕ ЦЕПЬ В СБОРЕ
Поместите цепь на зубчатое колесо распредвала, ведущую звездочку распредвала и ведущую звездочку цепи ГРМ на коленчатом валу.
Tip:Убедитесь, что пластина цепи с отметкой направлена от двигателя.
Устанавливать цепь на зубья зубчатого колеса и звездочек не требуется.
-
*a
Пластина с меткой
*b
Установочная метка
Совместите пластину цепи с отметкой (желтой или золотистой) с синхронизирующей меткой зубчатого колеса распредвала, как показано на рисунке, и установите цепь на зубчатое колесо распредвала.
-
*a
Пластина с меткой
*b
Установочная метка
Совместите пластину цепи с отметкой (розовой или золотистой) с синхронизирующей меткой ведущей звездочки цепи ГРМ на коленчатом валу, как показано на рисунке, и установите цепь на ведущую звездочку цепи ГРМ на коленчатом валу.
-
Закрепите цепь, связав ее шнуром над ведущей звездочкой цепи ГРМ на коленчатом валу.
-
*a
Пластина с меткой
*b
Установочная метка
Используя шестигранный участок распредвала впускных клапанов, проверните распредвал впускных клапанов против часовой стрелки гаечным ключом, совместите синхронизирующую метку зубчатого колеса распредвала с пластиной цепи с отметкой (желтой или золотистой) и установите цепь на зубчатое колесо распредвала.
Tip:Удерживайте распредвал на месте гаечным ключом до установки натяжителя цепи.
-
Удалите шнур, завязанный над ведущей звездочкой цепи ГРМ на коленчатом валу, проверните коленчатый вал по часовой стрелке и ослабьте цепь настолько, чтобы можно было установить башмак натяжителя цепи.
Note:Убедитесь, что цепь зафиксирована.
УСТАНОВИТЕ БАШМАК НАТЯЖИТЕЛЯ ЦЕПИ
Установите башмак натяжителя цепи и закрепите его болтом.
21 Н*м
214 кгс*см
15 фунт-сила-футов
УСТАНОВИТЕ НАТЯЖИТЕЛЬ ЦЕПИ № 1 В СБОРЕ
Установите новую прокладку и натяжитель цепи № 1, закрепив его 2 болтами.
10 Н*м
102 кгс*см
7 фунт-сила-футов
Извлеките штифт из стопорной пластины.
УСТАНОВИТЕ НАПРАВЛЯЮЩУЮ ЦЕПНОГО ПРИВОДА ГАЗОРАСПРЕДЕЛИТЕЛЬНОГО МЕХАНИЗМА
Установите направляющую цепного привода ГРМ и закрепите его болтом.
21 Н*м
214 кгс*см
15 фунт-сила-футов
ПРОВЕРЬТЕ ПОРШЕНЬ ЦИЛИНДРА № 1 В ВМТ ТАКТА СЖАТИЯ
Временно установите болт ведущего колеса привода газораспределения.
Поверните коленчатый вал по часовой стрелке так, чтобы совместить синхронизирующие метки на ведущая звездочка цепи ГРМ на коленчатом валу, зубчатом колесе распредвала и зубчатом колесе распредвала, как показано на рисунке.
*1
Установочная шпонка шкива коленчатого вала
-
-
*a
Примерно 7°
*b
Примерно 32°
*c
Установочная метка
-
-
Tip:Точка "A" на рисунке не является синхронизирующей меткой.
Снимите болт ведущего колеса привода газораспределения.
УСТАНОВИТЕ ПЛАСТИНУ КРЫШКИ ЦЕПНОГО ПРИВОДА ГАЗОРАСПРЕДЕЛИТЕЛЬНОГО МЕХАНИЗМА
Установите новую прокладку и пластину крышки цепного привода газораспределительного механизма и закрепите их 4 болтами.
10 Н*м
102 кгс*см
7 фунт-сила-футов
УСТАНОВИТЕ ПРОБКУ КРЫШКИ ЦЕПНОГО ПРИВОДА ГАЗОРАСПРЕДЕЛИТЕЛЬНОГО МЕХАНИЗМА
С помощью шестигранной головки на 14 мм установите новую прокладку и пробку крышки цепного привода газораспределительного механизма.
30 Н*м
306 кгс*см
22 фунт-сила-фута
УСТАНОВИТЕ КРЫШКУ ЦЕПНОГО ПРИВОДА ГАЗОРАСПРЕДЕЛИТЕЛЬНОГО МЕХАНИЗМА В СБОРЕ
Нажмите здесьClick here
УСТАНОВИТЕ ШПИЛЬКУ ПРАВОГО КРОНШТЕЙНА ОПОРЫ ДВИГАТЕЛЯ
Note:Если шпилька деформирована или повреждена ее резьба, замените шпильку.
-
*a
34 мм (1,34 дюйма).
*b
25 мм (0,984 дюйма)
*c
76 мм (2,99 дюйма)
С помощью торцевого ключа "TORX" Е8 вверните резьбовую шпильку.
15 Н*м
153 кгс*см
11 фунт-сила-футов
-
УСТАНОВИТЕ ПРАВЫЙ КРОНШТЕЙН ОПОРЫ ДВИГАТЕЛЯ
-
Временно закрепите кронштейн правой опоры двигателя 4 болтами.
Затяните 4 болта в порядке, указанном на рисунке.
Для болтов 1, 2 и 3
55 Н*м
561 кгс*см
41 фунт-сила-фут
для болта 4
21 Н*м
214 кгс*см
15 фунт-сила-фута
Note:После нанесения герметика на крышку цепного привода газораспределительного механизма установите в течение 10 минут кронштейн правой опоры двигателя.
-
УСТАНОВИТЕ САЛЬНИК КРЫШКИ ЦЕПНОГО ПРИВОДА ГАЗОРАСПРЕДЕЛИТЕЛЬНОГО МЕХАНИЗМА
Нажмите здесьClick here
УСТАНОВИТЕ ПРОКЛАДКУ ТРУБКИ СВЕЧНОГО КОЛОДЦА
-
*1
Прокладка трубки свечного колодца
*2
Крышка головки блока цилиндров
*a
1,0 мм (0,0394 дюйма) или менее
Установите 4 новые прокладки трубок свечных колодцев на крышку головки блока цилиндров в сборе.
Note:Не допускайте попадания на кромку посторонних предметов.
Не устанавливайте сальник под углом.
После запрессовки прокладки трубки свечного колодца убедитесь, что прокладка выступает не более чем на 1,0 мм (0,0394 дюйма) от крышки головки блока цилиндров.
-
УСТАНОВИТЕ КРЫШКУ ГОЛОВКИ БЛОКА ЦИЛИНДРОВ В СБОРЕ
Нанесите тонкий слой моторного масла на 2 новых прокладки.
-
Установите прокладку на крышку подшипников распредвала № 2.
Установите прокладки на крышку подшипников распредвала № 1.
Установите новую прокладку крышки головки блока цилиндров на крышку головки блока цилиндров в сборе.
Note:Удалите все масло с контактной поверхности.
-
*1
Крышка цепного привода газораспределительного механизма в сборе
*2
Кожух распредвала в сборе
*a
Герметик Seal Packing
Нанесите герметик, как показано на рисунке.
Герметик
Фирменный герметик Seal Packing Black от компании Toyota, Three bond 1207B или аналогичный
Номинальный диаметр уплотнения
3,0 - 6,0 мм (0,118 - 0,236 дюйма)
Ширина A участка нанесения
5,0 мм (0,197 дюйма)
Note:Удалите все масло с контактной поверхности.
После нанесения герметика в течение 3 минут установите крышку головки блока цилиндров в сборе и в течение 15 минут затяните болты.
-
*1
Уплотнительная шайба
*a
Штифт A
*b
Штифт B
Совместите крышку головки блока цилиндров с выступом A. Затем совместите крышку головки блока цилиндров с выступом B и установите крышку головки блока цилиндров.
Установите 3 новые уплотнительные шайбы, вверните 16 болтов и затяните их в порядке, показанном на рисунке.
12 Н*м
122 кгс*см
9 фунт-сила-футов
Note:Не добавляйте масло в течение, как минимум, 4 часов после установки.
Не запускайте двигатель в течение 4 часов после установки.
УСТАНОВИТЕ ШКИВ КОЛЕНЧАТОГО ВАЛА В СБОРЕ
-
*a
Удерживайте

Указатель поворота
Совместите установочную шпонку шкива со шпоночной канавкой шкива коленчатого вала.
Используя SST, зафиксируйте шкив коленчатого вала и вверните болт шкива.
09213-54015
09330-00021
260 Н*м
2651 кгс*см
192 фунт-сила-фута
Tip:Каталожный номер болта крепления для SST (приспособление для блокировки шкива коленчатого вала): 91551-80650 (количество: 2)
-
УСТАНОВИТЕ КОРПУС СЕПАРАТОРА
Нанесите тонкий слой моторного масла на новую прокладку.
Установите прокладку на корпус маслоотделителя.
Установите корпус сепаратора и закрепите его 2 болтами.
10 Н*м
102 кгс*см
7 фунт-сила-футов
УСТАНОВИТЕ КОРПУС СИСТЕМЫ ПРИНУДИТЕЛЬНОЙ ВЕНТИЛЯЦИИ КАРТЕРА
-
*a
Герметик Seal Packing
Нанесите герметик в виде сплошного валика, как показано на рисунке.
Герметик
Фирменный герметик Seal Packing Black от компании Toyota, Three bond 1207B или аналогичный
Номинальный диаметр уплотнения
2,5 - 3,5 мм (0,0984 - 0,138 дюйма)
Note:Удалите все масло с контактной поверхности.
После нанесения герметика в течение 3 минут установите вентиляционный системы принудительной вентиляции картера и в течение 15 минут затяните болты и гайки.
-
Установите кожух системы принудительной вентиляции картера и закрепите его 8 болтами и 2 гайками в порядке, показанном на рисунке.
21 Н*м
214 кгс*см
15 фунт-сила-фута
Tip:Болт A затягивается дважды.
-
УСТАНОВИТЕ КЛАПАН ПРИНУДИТЕЛЬНОЙ ВЕНТИЛЯЦИИ КАРТЕРА
Нажмите здесьClick here
УСТАНОВИТЕ ДАТЧИК ПОЛОЖЕНИЯ КОЛЕНЧАТОГО ВАЛА
Нажмите здесьClick here
УСТАНОВИТЕ КРЫШКУ МАСЛОНАЛИВНОЙ ГОРЛОВИНЫ В СБОРЕ
Установите прокладку на крышку маслоналивной горловины в сборе.
Установите крышку маслоналивной горловины в сборе на крышку головки блока цилиндров в сборе.
УСТАНОВИТЕ ДАТЧИК ПОЛОЖЕНИЯ РАСПРЕДВАЛА
Нажмите здесьClick here
УСТАНОВИТЕ ГИДРАВЛИЧЕСКИЙ КЛАПАН ИЗМЕНЕНИЯ ФАЗ В СБОРЕ
Нажмите здесьClick here
УСТАНОВИТЕ КОНТАКТНЫЙ ДАТЧИК ДАВЛЕНИЯ МОТОРНОГО МАСЛА
Нажмите здесьClick here
УСТАНОВИТЕ ДАТЧИК ТЕМПЕРАТУРЫ ОХЛАЖДАЮЩЕЙ ЖИДКОСТИ
Нажмите здесьClick hereClick here
УСТАНОВИТЕ ДАТЧИК ДЕТОНАЦИИ
Нажмите здесьClick hereClick here
УСТАНОВИТЕ СВЕЧУ ЗАЖИГАНИЯ
Нажмите здесьClick hereClick here
УСТАНОВИТЕ ШАРНИР КРЫШКИ ДВИГАТЕЛЯ
Установите 3 шарнира крышки двигателя.
10 Н*м
102 кгс*см
7 фунт-сила-футов