ANTI-LOCK BRAKE SYSTEM TC and CG Terminal Circuit

DTC Code DTC Name
TC and CG Terminal Circuit

DESCRIPTION

Connecting terminals TC and CG of the DLC3 causes the ECU to display DTCs by blinking the ABS warning light.

WIRING DIAGRAM

C270527E53

CAUTION / NOTICE / HINT

Tip:

When the indicator light continues to blink, a ground short in the wiring of terminal TC of the DLC3 or an internal ground short in one or more ECUs is suspected.

PROCEDURE

  1. CHECK CAN COMMUNICATION SYSTEM

    1. Check if CAN communication system DTCs are output.

      Click hereClick here

      Result

      Result

      Proceed to

      DTCs are not output.

      A

      DTCs are output.

      B

    B

    INSPECT CAN COMMUNICATION SYSTEM

    A
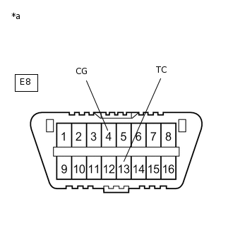
  2. INSPECT DLC3

    1. C269872C33

      *a

      Front view of DLC3

      Turn the ignition switch to ON.

    2. Measure the voltage according to the value(s) in the table below.

      Standard Voltage

      Tester Connection

      Condition

      Specified Condition

      E8-13 (TC) - E8-4 (CG)

      Ignition switch ON

      11 to 14 V

      Result

      Proceed to

      OK

      NG

    NG

    CHECK HARNESS AND CONNECTOR (TC of DLC3 - ECM)Click here

    OK
  3. REPLACE ECM

    C269872C33

    *a

    Front view of DLC3

    1. Turn the ignition switch off.

    2. Replace the ECM.

      Click here

    3. Using SST, connect terminals TC and CG of the DLC3.

    4. Check that the ABS warning light is blinking.

      OK

      The ABS warning light is blinking.

      Tip:

      If troubleshooting has been carried out according to Problem Symptoms Table, refer back to the table and proceed to the next step before replacing parts.

      Click here

    09843-18040

    Result

    Proceed to

    OK

    NG

    OK

    END

    NG

    REPLACE BRAKE ACTUATOR ASSEMBLY

  4. CHECK HARNESS AND CONNECTOR (TC of DLC3 - ECM)

    1. Turn the ignition switch off.

    2. Disconnect the A34 ECM connector.

    3. Measure the resistance according to the value(s) in the table below.

      Standard Resistance

      Tester Connection

      Condition

      Specified Condition

      E8-13 (TC) - A34-57 (TC)

      Always

      Below 1 Ω

      E8-13 (TC) or A34-57 (TC) - Body ground

      Always

      10 kΩ or higher

    Result

    Proceed to

    OK

    NG

    NG

    REPAIR OR REPLACE HARNESS OR CONNECTOR

    OK
  5. CHECK HARNESS AND CONNECTOR (CG of DLC3 - BODY GROUND)

    1. C269872C34

      *a

      Front view of DLC3

      Measure the resistance according to the value(s) in the table below.

      Standard Resistance

      Tester Connection

      Condition

      Specified Condition

      E8-4 (CG) - Body ground

      Always

      Below 1 Ω

    Result

    Proceed to

    OK

    NG

    NG

    REPAIR OR REPLACE HARNESS OR CONNECTOR

    OK
  6. REPLACE ECM

    C269872C33

    *a

    Front view of DLC3

    1. Replace the ECM.

      Click here

    2. Using SST, connect terminals TC and CG of the DLC3.

    3. Check that the ABS warning light is blinking.

      OK

      The ABS warning light is blinking.

      Tip:

      If troubleshooting has been carried out according to Problem Symptoms Table, refer back to the table and proceed to the next step before replacing parts.

      Click here

    09843-18040

    Result

    Proceed to

    OK

    NG

    OK

    END

    NG

    REPLACE BRAKE ACTUATOR ASSEMBLY