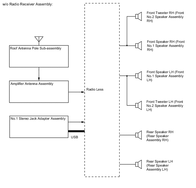
AUDIO AND VISUAL SYSTEM

A004GK4E02
A004GLNE02