СИСТЕМА ПЕРЕДАЧИ ДАННЫХ CAN Проверьте линию шины 5 на короткое замыкание на GND

Код DTC Наименование DTC
Проверьте линию шины 5 на короткое замыкание на GND

ОПИСАНИЕ

Между одним из проводов шины CAN и GND может быть короткое замыкание, если между контактом 15 (CA5H) ЭБУ центрального сетевого шлюза (ЭБУ сетевого шлюза) и контактом 4 (CG) разъема DLC3 или между контактом 16 (CA5L) ЭБУ центрального сетевого шлюза (ЭБУ сетевого шлюза) и контактом 4 (CG) разъема DLC3 сопротивление отсутствует.

Признак

Неисправный участок

Отсутствует сопротивление между контактом 15 (CA5H) ЭБУ центрального сетевого шлюза и контактом 4 (CG) DLC3, или контактом 16 (CA5L) ЭБУ центрального сетевого шлюза и контактом 4 (CG) DLC3.

  • Короткое замыкание на массу в главной шине CAN

  • Короткое замыкание на массу во вспомогательной шине CAN

  • ЭБУ центрального сетевого шлюза (ЭБУ сетевого шлюза)

  • ЭБУ левой фары в сборе

    (для моделей с автоматической системой управления уровнем фар)

  • ЭБУ правой фары в сборе

    (для моделей с автоматической системой управления уровнем фар)

  • ЭБУ электропривода наружного зеркала в сборе (со стороны водителя)

    (для моделей с системой запоминания положения сиденья)

  • ЭБУ электропривода наружного зеркала в сборе (со стороны переднего пассажира)

    (для моделей с системой запоминания положения сиденья)

  • ЭБУ управления положением правого сиденья

    (для моделей с системой запоминания положения сиденья)

  • Мультиплексный ЭБУ регулировки наклона и телескопического изменения высоты

    (для моделей с электроприводами регулировки наклона и телескопического изменения высоты)

  • Блок управления системой кондиционирования

  • ЭБУ сертификации (ЭБУ электронного ключа)

    (для моделей с интеллектуальной системой посадки и запуска)

  • Главный ЭБУ кузова (ЭБУ сети мультиплексной связи кузова)

  • Щиток приборов в сборе

  • Зеркало щитка приборов в сборе

    (для моделей с системой блока индикации на ветровом стекле)

  • Разъем распределительного блока шины CAN № 3

  • Разъем распределительного блока № 1

  • Разъем распределительного блока № 2

  • Разъем распределительного блока № 5

    (для моделей с правосторонним рулевым управлением)

  • Разъем распределительного блока № 6

    (для моделей с левосторонним рулевым управлением)

СХЕМА ЭЛЕКТРИЧЕСКИХ СОЕДИНЕНИЙ

C382086E04
C382087E04

ПРЕДОСТЕРЕЖЕНИЕ / ПРИМЕЧАНИЕ / УКАЗАНИЕ

CAUTION:

Во время поездки в проверочном режиме соблюдайте все ограничения скорости и правила дорожного движения.

Note:
  • Так как порядок проведения диагностики важен для получения корректных результатов, начните поиск неисправностей с раздела "Порядок поиска неисправностей", если выводятся коды DTC, связанные с системой передачей данных CAN.

    Нажмите здесьЩелкните по следующей ссылке

  • Перед измерением сопротивления шины CAN, выключите зажигание и оставьте автомобиль в покое на 1 минуту или более, не приводя в действие ключ, любые другие переключатели и не открывая/закрывая двери. После этого, отсоедините провод от отрицательного (-) вывода аккумуляторной батареи и перед измерением сопротивления оставьте автомобиль в покое на 1 минуту или более.

  • После выключения двигателя следует подождать некоторое время, прежде чем отсоединять провод от отрицательного (–) вывода аккумуляторной батареи. Поэтому, прежде чем приступать к этой работе, обязательно ознакомьтесь с примечанием относительно отсоединения провода от отрицательного (-) вывода аккумуляторной батареи.

    Нажмите здесьЩелкните по следующей ссылке

  • После ремонта выполните процедуру проверки кодов DTC и убедитесь, что коды DTC не выводятся снова.

    Процедура проверки кодов DTC: Включите зажигание и подождите не менее 1 мин. Затем включите предполагаемую неисправную систему и совершите поездку на автомобиле со скоростью не менее 60 км/час (37 миль в час) в течение не менее 5 минут.

  • После ремонта выполните проверку шины CAN и убедитесь, что все ЭБУ и датчики, подсоединенные к системе передачи данных CAN, отображаются как нормальные.

    Нажмите здесьЩелкните по следующей ссылке

  • Перед заменой главного ЭБУ кузова (бортового ЭБУ сети мультиплексной связи) или ЭБУ сертификации (ЭБУ электронного ключа зажигания в сборе) обратитесь к бюллетеню технического обслуживания.

Tip:
  • Перед отсоединением связанных компонентов для проверки нажмите на корпус каждого разъема, чтобы убедиться, что разъем не ослаблен и не отсоединен.

  • Если разъем отсоединен, убедитесь, что контакты и корпус разъема не имеют трещин, не деформированы и не подверглись коррозии.

ПОРЯДОК ВЫПОЛНЕНИЯ

  1. ПРОВЕРЬТЕ ШИНУ CAN НА КОРОТКОЕ ЗАМЫКАНИЕ НА GND (РАСПРЕДЕЛИТЕЛЬНЫЙ БЛОК № 3)

    1. Отсоедините провод от отрицательного (-) вывода аккумуляторной батареи.

    2. Отсоедините разъем K126 распределительного блока шины CAN № 3.

    3. Измерьте сопротивление в соответствии со значениями, приведенными в таблице ниже.

      C372663C99

      *1

      DLC3

      -

      -

      *a

      Вид спереди разъема со стороны жгута проводов:

      (к разъему распределительного блока шины CAN № 3)

      *b

      к разъему распределительного блока № 1

      *c

      к ЭБУ сертификации (ЭБУ электронного ключа зажигания в сборе)

      (для моделей с интеллектуальной системой посадки и запуска)

      *d

      К щитку приборов в сборе

      *e

      К главному ЭБУ кузова (бортовому ЭБУ сети мультиплексной связи)

      *f

      К блоку управления системой кондиционирования

      *g

      к ЭБУ левой фары в сборе

      (для моделей с автоматической системой управления уровнем фар)

      *h

      к зеркалу щитка приборов в сборе

      (для моделей с системой блока индикации на ветровом стекле)

      *i

      к мультиплексному ЭБУ регулировки наклона и телескопического изменения высоты

      (для моделей с электроприводами регулировки наклона и телескопического изменения высоты)

      -

      -

      Номинальное сопротивление

      Подключение диагностического прибора

      Условие

      Заданные условия

      Куда подсоединить

      K126-3 (CANH) - K68-4 (CG)

      Провод отсоединен от отрицательного (-) вывода аккумуляторной батареи

      200 Ом или более

      Разъем распределительного блока № 1

      K126-14 (CANL) - K68-4 (CG)

      K126-4 (CANH) - K68-4 (CG)

      Провод отсоединен от отрицательного (-) вывода аккумуляторной батареи

      200 Ом или более

      ЭБУ сертификации (ЭБУ электронного ключа зажигания в сборе)*1

      K126-15 (CANL) - K68-4 (CG)

      K126-5 (CANH) - K68-4 (CG)

      Провод отсоединен от отрицательного (-) вывода аккумуляторной батареи

      200 Ом или более

      Щиток приборов в сборе

      K126-16 (CANL) - K68-4 (CG)

      K126-6 (CANH) - K68-4 (CG)

      Провод отсоединен от отрицательного (-) вывода аккумуляторной батареи

      200 Ом или более

      Главный ЭБУ кузова (ЭБУ сети мультиплексной связи кузова)

      K126-17 (CANL) - K68-4 (CG)

      K126-7 (CANH) - K68-4 (CG)

      Провод отсоединен от отрицательного (-) вывода аккумуляторной батареи

      200 Ом или более

      Блок управления системой кондиционирования

      K126-18 (CANL) - K68-4 (CG)

      K126-8 (CANH) - K68-4 (CG)

      Провод отсоединен от отрицательного (-) вывода аккумуляторной батареи

      200 Ом или более

      ЭБУ левой фары в сборе*2

      K126-19 (CANL) - K68-4 (CG)

      K126-9 (CANH) - K68-4 (CG)

      Провод отсоединен от отрицательного (-) вывода аккумуляторной батареи

      200 Ом или более

      Зеркало щитка приборов в сборе*3

      K126-20 (CANL) - K68-4 (CG)

      K126-10 (CANH) - K68-4 (CG)

      Провод отсоединен от отрицательного (-) вывода аккумуляторной батареи

      200 Ом или более

      Мультиплексный ЭБУ регулировки наклона и телескопического изменения высоты*4

      K126-21 (CANL) - K68-4 (CG)

      • *1: для моделей с интеллектуальной системой посадки и запуска

      • *2: для моделей с автоматической системой управления уровнем фар

      • *3: для моделей с системой блока индикации на ветровом стекле

      • *4: для моделей с электроприводами регулировки наклона и телескопического изменения высоты

    Результат

    Result

    Перейти к

    OK

    A

    NG (линия к разъему распределительного блока № 1)

    B

    NG (линия к ЭБУ или датчику)

    C

    A

    ЗАМЕНИТЕ РАЗЪЕМ РАСПРЕДЕЛИТЕЛЬНОГО БЛОКА ШИНЫ CAN № 3

    C

    ПРОВЕРЬТЕ ШИНУ CAN НА КОРОТКОЕ ЗАМЫКАНИЕ НА GND (ЭБУ ИЛИ ДАТЧИК)Щелкните по следующей ссылке

    B
  2. ПРОВЕРЬТЕ ШИНУ CAN НА КОРОТКОЕ ЗАМЫКАНИЕ НА GND (РАСПРЕДЕЛИТЕЛЬНЫЙ БЛОК № 1)

    1. Отсоедините разъем R94 распределительного блока № 1.

    2. Измерьте сопротивление в соответствии со значениями, приведенными в таблице ниже.

      C382111C28

      *1

      DLC3

      -

      -

      *a

      Вид спереди разъема со стороны жгута проводов:

      (к разъему распределительного блока № 1)

      *b

      К ЭБУ электропривода наружного зеркала в сборе (со стороны переднего пассажира)

      (для моделей с системой запоминания положения сиденья)

      *c

      к разъему № 3 распределительного блока шины CAN

      *d

      к разъему распределительного блока № 5

      (для моделей с правосторонним рулевым управлением)

      *e

      к разъему распределительного блока № 6

      (для моделей с левосторонним рулевым управлением)

      -

      -

      Номинальное сопротивление

      Подключение диагностического прибора

      Условие

      Заданные условия

      Куда подсоединить

      R94-1 (CANH) - K68-4 (CG)

      Провод отсоединен от отрицательного (-) вывода аккумуляторной батареи

      200 Ом или более

      ЭБУ электропривода наружного зеркала в сборе (со стороны переднего пассажира)*1

      R94-12 (CANL) - K68-4 (CG)

      R94-3 (CANH) - K68-4 (CG)

      Провод отсоединен от отрицательного (-) вывода аккумуляторной батареи

      200 Ом или более

      Разъем распределительного блока шины CAN № 3

      R94-14 (CANL) - K68-4 (CG)

      R94-4 (CANH) - K68-4 (CG)

      Провод отсоединен от отрицательного (-) вывода аккумуляторной батареи

      200 Ом или более

      Распределительный блок № 5*2

      R94-15 (CANL) - K68-4 (CG)

      R94-4 (CANH) - K68-4 (CG)

      Провод отсоединен от отрицательного (-) вывода аккумуляторной батареи

      200 Ом или более

      Разъем распределительного блока № 6*3

      R94-15 (CANL) - K68-4 (CG)

      • *1: для моделей с системой запоминания положения сиденья

      • *2: для моделей с правосторонним рулевым управлением

      • *3: для моделей с левосторонним рулевым управлением

    Результат

    Result

    Перейти к

    OK

    А

    NG (линия к разъему распределительного блока шины CAN № 3)

    B

    NG (линия к разъему распределительного блока № 5 (для моделей с правосторонним рулевым управлением))

    C

    NG (линия к разъему распределительного блока № 6 (для моделей с левосторонним рулевым управлением))

    D

    NG (линия к ЭБУ или датчику)

    E

    A

    ЗАМЕНИТЕ РАЗЪЕМ РАСПРЕДЕЛИТЕЛЬНОГО БЛОКА № 1

    B

    ОТРЕМОНТИРУЙТЕ ИЛИ ЗАМЕНИТЕ ГЛАВНУЮ ШИНУ ИЛИ РАЗЪЕМ ГЛАВНОЙ ШИНЫ CAN (РАЗЪЕМ РАСПРЕДЕЛИТЕЛЬНОГО БЛОКА ШИНЫ CAN № 1 - РАЗЪЕМ РАСПРЕДЕЛИТЕЛЬНОГО БЛОКА ШИНЫ CAN № 3)

    D

    ПРОВЕРЬТЕ ШИНУ CAN НА КОРОТКОЕ ЗАМЫКАНИЕ НА GND (ОТСУТСТВУЕТ. 6 РАЗЪЕМ РАСПРЕДЕЛИТЕЛЬНОГО БЛОКА)Щелкните по следующей ссылке

    E

    ПРОВЕРЬТЕ ШИНУ CAN НА КОРОТКОЕ ЗАМЫКАНИЕ НА GND (ЭБУ ИЛИ ДАТЧИК)Щелкните по следующей ссылке

    C
  3. ПРОВЕРЬТЕ ШИНУ CAN НА КОРОТКОЕ ЗАМЫКАНИЕ НА GND (РАСПРЕДЕЛИТЕЛЬНЫЙ БЛОК № 5)

    1. Отсоедините разъем R100 распределительного блока № 5.

    2. Измерьте сопротивление в соответствии со значениями, приведенными в таблице ниже.

      C382111C30

      *1

      DLC3

      -

      -

      *a

      Вид спереди разъема со стороны жгута проводов:

      (к разъему распределительного блока № 5)

      *b

      к разъему распределительного блока № 2

      *c

      к разъему распределительного блока № 1

      *d

      К ЭБУ управления положением правого сиденья в сборе

      (для моделей с системой запоминания положения сиденья)

      Номинальное сопротивление

      Подключение диагностического прибора

      Условие

      Заданные условия

      Куда подсоединить

      R100-5 (CANH) - K68-4 (CG)

      Провод отсоединен от отрицательного (-) вывода аккумуляторной батареи

      200 Ом или более

      Разъем распределительного блока № 2

      R100-16 (CANL) - K68-4 (CG)

      R100-6 (CANH) - K68-4 (CG)

      Провод отсоединен от отрицательного (-) вывода аккумуляторной батареи

      200 Ом или более

      Разъем распределительного блока № 1

      R100-17 (CANL) - K68-4 (CG)

      R100-7 (CANH) - K68-4 (CG)

      Провод отсоединен от отрицательного (-) вывода аккумуляторной батареи

      200 Ом или более

      Правый ЭБУ управления положением*

      R100-18 (CANL) - K68-4 (CG)

      • *: для моделей с системой запоминания положения сиденья

    Result

    Result

    Перейти к

    OK

    A

    NG (линия к разъему распределительного блока № 1)

    B

    NG (линия к разъему распределительного блока № 2)

    C

    NG (линия к ЭБУ или датчику)

    D

    A

    ЗАМЕНИТЕ РАЗЪЕМ РАСПРЕДЕЛИТЕЛЬНОГО БЛОКА № 5

    B

    ОТРЕМОНТИРУЙТЕ ИЛИ ЗАМЕНИТЕ ГЛАВНУЮ ШИНУ ИЛИ РАЗЪЕМ ГЛАВНОЙ ШИНЫ CAN (РАЗЪЕМ РАСПРЕДЕЛИТЕЛЬНОГО БЛОКА ШИНЫ CAN № 5 - РАЗЪЕМ РАСПРЕДЕЛИТЕЛЬНОГО БЛОКА ШИНЫ CAN № 1)

    C

    ПРОВЕРЬТЕ ШИНУ CAN НА КОРОТКОЕ ЗАМЫКАНИЕ НА GND (ОТСУТСТВУЕТ. 2 РАЗЪЕМ РАСПРЕДЕЛИТЕЛЬНОГО БЛОКА)Щелкните по следующей ссылке

    D

    ПРОВЕРЬТЕ ШИНУ CAN НА КОРОТКОЕ ЗАМЫКАНИЕ НА GND (ЭБУ ИЛИ ДАТЧИК)Щелкните по следующей ссылке

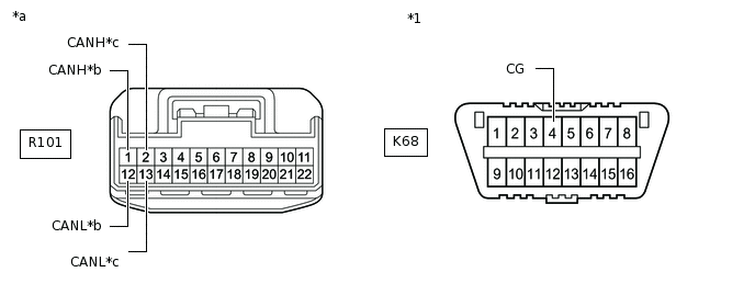
  4. ПРОВЕРЬТЕ ШИНУ CAN НА КОРОТКОЕ ЗАМЫКАНИЕ НА GND (РАСПРЕДЕЛИТЕЛЬНЫЙ БЛОК № 6)

    1. Отсоедините разъем R101 распределительного блока № 6.

    2. Измерьте сопротивление в соответствии со значениями, приведенными в таблице ниже.

      C382111C32

      *1

      DLC3

      -

      -

      *a

      Вид спереди разъема со стороны жгута проводов:

      (к разъему распределительного блока № 6)

      *b

      к разъему распределительного блока № 2

      *c

      к разъему распределительного блока № 1

      -

      -

      Номинальное сопротивление

      Подключение диагностического прибора

      Условие

      Заданные условия

      Куда подсоединить

      R101-1 (CANH) - K68-4 (CG)

      Провод отсоединен от отрицательного (-) вывода аккумуляторной батареи

      200 Ом или более

      Разъем распределительного блока № 2

      R101-12 (CANL) - K68-4 (CG)

      R101-2 (CANH) - K68-4 (CG)

      Провод отсоединен от отрицательного (-) вывода аккумуляторной батареи

      200 Ом или более

      Разъем распределительного блока № 1

      R101-13 (CANL) - K68-4 (CG)

    Результат

    Result

    Перейти к

    OK

    A

    NG (линия к разъему распределительного блока № 1)

    B

    NG (линия к разъему распределительного блока № 2)

    C

    A

    ЗАМЕНИТЕ РАЗЪЕМ РАСПРЕДЕЛИТЕЛЬНОГО БЛОКА № 6

    B

    ОТРЕМОНТИРУЙТЕ ИЛИ ЗАМЕНИТЕ ГЛАВНУЮ ШИНУ ИЛИ РАЗЪЕМ ГЛАВНОЙ ШИНЫ CAN (РАЗЪЕМ РАСПРЕДЕЛИТЕЛЬНОГО БЛОКА ШИНЫ CAN № 6 - РАЗЪЕМ РАСПРЕДЕЛИТЕЛЬНОГО БЛОКА ШИНЫ CAN № 1)

    C
  5. ПРОВЕРЬТЕ ШИНУ CAN НА КОРОТКОЕ ЗАМЫКАНИЕ НА GND (РАСПРЕДЕЛИТЕЛЬНЫЙ БЛОК № 2)

    1. Отсоедините разъем R97 распределительного блока № 2.

    2. Измерьте сопротивление в соответствии со значениями, приведенными в таблице ниже.

      C382111C34

      *1

      DLC3

      -

      -

      *a

      Вид спереди разъема со стороны жгута проводов:

      (к разъему распределительного блока № 2)

      *b

      к ЭБУ центрального сетевого шлюза (ЭБУ сетевого шлюза)

      *c

      к разъему распределительного блока № 5

      (для моделей с правосторонним рулевым управлением)

      *d

      к разъему распределительного блока № 6

      (для моделей с левосторонним рулевым управлением)

      *e

      К ЭБУ электропривода наружного зеркала в сборе (со стороны водителя)

      (для моделей с системой запоминания положения сиденья)

      *f

      к ЭБУ правой фары в сборе

      (для моделей с автоматической системой управления уровнем фар)

      Номинальное сопротивление

      Подключение диагностического прибора

      Условие

      Заданные условия

      Куда подсоединить

      R97-1 (CANH) - K68-4 (CG)

      Провод отсоединен от отрицательного (-) вывода аккумуляторной батареи

      200 Ом или более

      ЭБУ центрального сетевого шлюза (ЭБУ сетевого шлюза)

      R97-12 (CANL) - K68-4 (CG)

      R97-2 (CANH) - K68-4 (CG)

      Провод отсоединен от отрицательного (-) вывода аккумуляторной батареи

      200 Ом или более

      Разъем распределительного блока № 5*1

      R97-13 (CANL) - K68-4 (CG)

      R97-2 (CANH) - K68-4 (CG)

      Провод отсоединен от отрицательного (-) вывода аккумуляторной батареи

      200 Ом или более

      Распределительный блок № 6*2

      R97-13 (CANL) - K68-4 (CG)

      R97-3 (CANH) - K68-4 (CG)

      Провод отсоединен от отрицательного (-) вывода аккумуляторной батареи

      200 Ом или более

      ЭБУ электропривода наружного зеркала в сборе (со стороны водителя)*3

      R97-14 (CANL) - K68-4 (CG)

      R97-5 (CANH) - K68-4 (CG)

      Провод отсоединен от отрицательного (-) вывода аккумуляторной батареи

      200 Ом или более

      ЭБУ правой фары в сборе*4

      R97-16 (CANL) - K68-4 (CG)

      • *1: для моделей с правосторонним рулевым управлением

      • *2: для моделей с левосторонним рулевым управлением

      • *3: для моделей с системой запоминания положения сиденья

      • *4: для моделей с автоматической системой управления уровнем фар

    Результат

    Result

    Перейти к

    OK

    A

    NG (линия к разъему распределительного блока № 5 (для моделей с правосторонним рулевым управлением))

    B

    NG (линия к разъему распределительного блока № 6 (для моделей с левосторонним рулевым управлением))

    C

    NG (линия к ЭБУ центрального сетевого шлюза (ЭБУ сетевого шлюза))

    D

    NG (линия к ЭБУ или датчику)

    E

    A

    ЗАМЕНИТЕ РАЗЪЕМ РАСПРЕДЕЛИТЕЛЬНОГО БЛОКА № 2

    B

    ОТРЕМОНТИРУЙТЕ ИЛИ ЗАМЕНИТЕ ГЛАВНУЮ ШИНУ ИЛИ РАЗЪЕМ ГЛАВНОЙ ШИНЫ CAN (РАЗЪЕМ РАСПРЕДЕЛИТЕЛЬНОГО БЛОКА ШИНЫ CAN № 2 - РАЗЪЕМ РАСПРЕДЕЛИТЕЛЬНОГО БЛОКА ШИНЫ CAN № 5)

    C

    ОТРЕМОНТИРУЙТЕ ИЛИ ЗАМЕНИТЕ ГЛАВНУЮ ШИНУ ИЛИ РАЗЪЕМ ГЛАВНОЙ ШИНЫ CAN (РАЗЪЕМ РАСПРЕДЕЛИТЕЛЬНОГО БЛОКА ШИНЫ CAN № 2 - РАЗЪЕМ РАСПРЕДЕЛИТЕЛЬНОГО БЛОКА ШИНЫ CAN № 6)

    E

    ПРОВЕРЬТЕ ШИНУ CAN НА КОРОТКОЕ ЗАМЫКАНИЕ НА GND (ЭБУ ИЛИ ДАТЧИК)Щелкните по следующей ссылке

    D
  6. ПРОВЕРЬТЕ ШИНУ CAN НА КОРОТКОЕ ЗАМЫКАНИЕ НА GND (РАЗЪЕМ РАСПРЕДЕЛИТЕЛЬНОГО БЛОКА № 2 - ЭБУ ЦЕНТРАЛЬНОГО СЕТЕВОГО ШЛЮЗА (ЭБУ СЕТЕВОГО ШЛЮЗА))

    1. Отсоедините разъем K76 ЭБУ центрального сетевого шлюза (ЭБУ сетевого шлюза).

    2. Измерьте сопротивление в соответствии со значениями, приведенными в таблице ниже.

      C372663C36

      *1

      DLC3

      -

      -

      *a

      Вид спереди разъема со стороны жгута проводов:

      (к разъему распределительного блока № 2)

      *b

      к ЭБУ центрального сетевого шлюза (ЭБУ сетевого шлюза)

      Номинальное сопротивление

      Подключение диагностического прибора

      Условие

      Заданные условия

      R97-1 (CANH) - K68-4 (CG)

      Провод отсоединен от отрицательного (-) вывода аккумуляторной батареи

      200 Ом или более

      R97-12 (CANL) - K68-4 (CG)

    Результат

    Result

    OK

    НЕ СООТВ.

    OK

    ЗАМЕНИТЕ ЭБУ ЦЕНТРАЛЬНОГО СЕТЕВОГО ШЛЮЗА (ЭБУ СЕТЕВОГО ШЛЮЗА)

    НЕ СООТВ.

    ОТРЕМОНТИРУЙТЕ ИЛИ ЗАМЕНИТЕ ГЛАВНУЮ ШИНУ CAN ИЛИ РАЗЪЕМ (РАЗЪЕМ РАСПРЕДЕЛИТЕЛЬНОГО БЛОКА № 2 - ЭБУ ЦЕНТРАЛЬНОГО СЕТЕВОГО ШЛЮЗА (ЭБУ СЕТЕВОГО ШЛЮЗА))

  7. ПРОВЕРЬТЕ ШИНУ CAN НА КОРОТКОЕ ЗАМЫКАНИЕ НА GND (ЭБУ ИЛИ ДАТЧИК)

    1. Подсоедините все жгуты проводов.

    2. Отсоедините разъем, содержащий контакты CANH и CANL, от ЭБУ или датчика, к которому подсоединена шина, коротко замкнутая на массу.

      Нажмите здесьЩелкните по следующей ссылке

    3. Измерьте сопротивление в соответствии со значениями, приведенными в таблице ниже.

      C351275C18

      *1

      DLC3

      -

      -

      *a

      Устройство с подсоединенным жгутом проводов

      (ЭБУ центрального сетевого шлюза (ЭБУ сетевого шлюза))

      -

      -

      Номинальное сопротивление

      Подключение диагностического прибора

      Условие

      Заданные условия

      K76-15 (CA5H) - K68-4 (CG)

      Провод отсоединен от отрицательного (-) вывода аккумуляторной батареи

      200 Ом или более

      K76-16 (CA5L) - K68-4 (CG)

      Tip:
      • Если при отсоединении разъема от ЭБУ (или датчика) сопротивление составило не менее 200 Ом, то возможно короткое замыкание в ЭБУ или датчике.

      • Если при отсоединении разъема от ЭБУ или датчика сопротивление не становится нормальным, проверьте жгут проводов на короткое замыкание на массу и при необходимости отремонтируйте или замените жгут проводов или разъем.

    Результат

    Result

    OK

    НЕ СООТВ.

    OK

    ЗАМЕНИТЕ ЭБУ ИЛИ ДАТЧИК

    NG

    ОТРЕМОНТИРУЙТЕ ИЛИ ЗАМЕНИТЕ ЖГУТ ПРОВОДОВ ИЛИ РАЗЪЕМ