CLUTCH STROKE SENSOR(for EC65A) INSPECTION

PROCEDURE

  1. INSPECT CLUTCH STROKE SENSOR

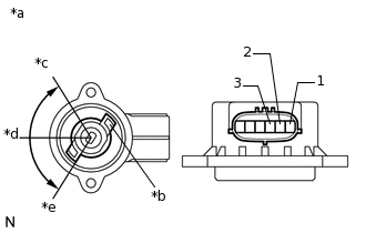
    1. C112722C03

      *a

      Main Circuit

      *b

      Sensor Arm

      *c

      55°

      *d

      *e

      -55°

      Check the voltage between the terminals of the clutch stroke sensor connector (main circuit).

      1. Prepare 3 dry cell batteries (1.5 V) and 2 leads for connecting the batteries and the sensor.

      2. Connect the batteries in series.

      3. Connect a positive (+) lead from the battery to sensor terminal 3, and a negative (-) lead to sensor terminal 2.

      4. Measure the voltage according to the values in the table below.

        Standard Voltage (combined dry cell battery voltage of 4.5 V)

        Sensor Angle

        Terminal (1-2) Output Voltage

        55°

        Approximately 4.05 V

        Approximately 2.25 V

        -55°

        Approximately 0.45 V

        Reference Voltage (5.0 +/- 0.3 V)

        Sensor Angle

        Terminal (1-2) Output Voltage

        55°

        Approximately 4.5 V

        Approximately 2.5 V

        -55°

        Approximately 0.5 V

        Note:
        • Do not apply more than 6 V.

        • Do not use a sensor which has been dropped.

        If the voltage is not as specified, replace the clutch stroke sensor.

    2. C112722C04

      *a

      Sub Circuit

      *b

      Sensor Arm

      *c

      55°

      *d

      *e

      -55°

      Check the voltage between the terminals of the clutch stroke sensor connector (sub circuit).

      1. Prepare 3 dry cell batteries (1.5 V) and 2 leads for connecting the batteries and the sensor.

      2. Connect the batteries in series.

      3. Connect a positive (+) lead from the battery to sensor terminal 6, and a negative (-) lead to sensor terminal 5.

      4. Measure the voltage according to the values in the table below.

        Standard Voltage (combined dry cell battery voltage of 4.5 V)

        Sensor Angle

        Terminal (4-5) Output Voltage

        55°

        Approximately 4.05 V

        Approximately 2.25 V

        -55°

        Approximately 0.45 V

        Reference Voltage (5.0 +/- 0.3 V)

        Sensor Angle

        Terminal (4-5) Output Voltage

        55°

        Approximately 4.5 V

        Approximately 2.5 V

        -55°

        Approximately 0.5 V

        Note:
        • Do not apply more than 6 V.

        • Do not use a sensor which has been dropped.

        If the voltage is not as specified, replace the clutch stroke sensor.