ЧАШКА ДИФФЕРЕНЦИАЛА В СБОРЕ (для моделей изготовления DANA) ПОВТОРНАЯ СБОРКА


  1. УСТАНОВИТЕ КОРОННУЮ ШЕСТЕРНЮ ДИФФЕРЕНЦИАЛА

    A01DWINE02

    1. Очистите контактные поверхности корпуса дифференциала и коронной шестерни.

    2. Разогрейте коронную шестерню в кипящей воде с температурой примерно 100°C (212°F).

    3. Осторожно извлеките зубчатый венец из кипящей воды.

    4. После того, как поверхность коронной шестерни полностью обсохнет, быстро установите ее в корпус дифференциала.

    5. A01DV33E01

      Совместите метки на коронной шестерне и корпусе дифференциала.

    6. Временно затяните 10 болтов.

    7. После того как коронная шестерня остынет, равномерно затяните 10 болтов крест-накрест в несколько приемов.

      Torque:
      160 - 180 Н*м  { 1632 - 1835 кгс*см, 118 - 133 фунт-сила-футов }
  2. УСТАНОВИТЕ ПОДШИПНИК КОРПУСА ЗАДНЕГО ДИФФЕРЕНЦИАЛА


    1. A01DZICE01

      С помощью SST и пресса запрессуйте подшипник в корпус дифференциала.

      SST
      09950-60010   ( 09951-00430, 09951-00480, 09951-00470, 09951-00550 )
      09950-70010   ( 09951-07150, 09951-00560, 09951-00570 )
  3. ПРОВЕРЬТЕ БИЕНИЕ КОРОННОЙ ШЕСТЕРНИ ДИФФЕРЕНЦИАЛА


    1. Установите корпус дифференциала на чашку, а затем установите 2 боковых шайбы с тем, чтобы исключить люфт в подшипнике.

    2. Установите 2 крышки подшипника и закрепите их 4 болтами.

      Torque:
      85 Н*м  { 870 кгс*см, 63 фунт-сила-фута }
    3. A01DYGR

      С помощью индикатора часового типа измерьте биение коронной шестерни.

      Максимально допустимое биение
      0,07 мм (0,0028 дюйма)
    4. Снимите 2 крышки подшипника, 2 боковых шайбы и корпус дифференциала.

  4. УСТАНОВИТЕ ПРОТИВОПЫЛЕВОЙ КОЛПАК ЗАДНЕГО ДИФФЕРЕНЦИАЛА


    1. A01E224E01

      С помощью SST, пластины и пресса запрессуйте противопылевой колпак.

      SST
      09636-20010

      Note

      Действуйте осторожно, чтобы не повредить противопылевой колпак.

  5. УСТАНОВИТЕ ПЕРЕДНИЙ КОНИЧЕСКИЙ РОЛИКОВЫЙ ПОДШИПНИК ЗАДНЕЙ ВЕДУЩЕЙ ШЕСТЕРНИ


    1. A01DY4ZE01

      С помощью SST и пресса запрессуйте роликовый подшипник (наружное кольцо) в чашку.

      SST
      09316-60011   ( 09316-00011, 09316-00021 )
  6. УСТАНОВИТЕ ЗАДНИЙ КОНИЧЕСКИЙ РОЛИКОВЫЙ ПОДШИПНИК ЗАДНЕЙ ВЕДУЩЕЙ ШЕСТЕРНИ


    1. A01DWQHE01

      С помощью SST и пресса запрессуйте роликовый подшипник (наружное кольцо) в чашку.

      SST
      09316-60011   ( 09316-00041, 09316-00011 )
  7. УСТАНОВИТЕ ЗАДНИЙ КОНИЧЕСКИЙ РОЛИКОВЫЙ ПОДШИПНИК ЗАДНЕЙ ВЕДУЩЕЙ ШЕСТЕРНИ


    1. Установите плоскую шайбу на ведущую шестерню.

      Tech Tips

      Сначала установите шайбу с такой же толщиной, какую имела снятая шайба, а затем проверьте пятно контакта зубьев шестерни. Если необходимо, замените шайбу шайбой другой толщины.

    2. A01DWMLE02

      С помощью SST и пресса установите роликовый подшипник (внутреннее кольцо) на ведущую шестерню.

      SST
      09506-30012
  8. ОТРЕГУЛИРУЙТЕ ПРЕДНАТЯГ ВЕДУЩЕЙ ШЕСТЕРНИ ДИФФЕРЕНЦИАЛА


    1. A01DYGPE01

      Установите новую распорную втулку подшипника на ведущую шестерню.

    2. A01E2GTE01

      Установите передний конический роликовый подшипник задней ведущей шестерни.

    3. Установите маслоотражатель ведущей шестерни заднего дифференциала.

    4. Нанесите универсальную консистентную смазку на новый сальник.

    5. A01DY0IE03

      При помощи SST установите соединительный фланец на ведущую шестерню.

      SST
      09950-30012   ( 09951-03010, 09953-03010, 09954-03010, 09955-03030, 09956-03040 )

      Note

      Прежде чем устанавливать SST (центральный болт), нанесите на его резьбу и конец гипоидное масло.

    6. A01DZKCE03

      Удерживая соединительный фланец на месте с помощью SST, затяните гайку.

      SST
      09330-00021   ( 09330-00030 )
    7. A01DZXUE01

      Динамометрическим ключом измерьте преднатяг.

      Номинальный преднатяг (при начальном крутящем моменте)
      Подшипник Преднатяг
      Новый подшипник 1,05 - 1,64 Н*м (10,7 - 16,7 кгс*см, 9,3 - 14,5 фунт-сила-дюймов)
      Подшипник, бывший в употреблении 0,56 - 0,85 Н*м (5,7 - 8,7 кгс*см, 4,9 - 7,5 фунт-сила-дюймов)

      • Если преднатяг превышает максимальное значение, замените распорную втулку подшипника.

      • Если преднатяг меньше минимально допустимого, подтяните гайку с шагом затяжки 13 Н*м (130 кгс*см, 9 фунт-сила-футов) до достижения требуемого преднатяга.

      Torque:
      678 Н*м  { 6914 кгс*см, 500 фунт-сила-футов }

      • Если при повторной затяжке гайки превышен максимальный крутящий момент, замените распорную втулку подшипника и повторите операцию регулировки предварительного натяга.

        Tech Tips

        Не ослабляйте затяжку гайки ведущей шестерни для уменьшения преднатяга.

  9. УСТАНОВИТЕ КОРПУС ДИФФЕРЕНЦИАЛА В СБОРЕ


    1. A01DVCXE01

      Поместите 2 наружных кольца подшипников на соответствующие подшипники и 2 боковых шайбы.

      Tech Tips

      Старайтесь не перепутать правое и левое наружные кольца.

    2. A01DZP9

      Совместите сборочные метки на крышке подшипника и чашке дифференциала, после чего установите 2 крышки подшипника.

      Note

      Удостоверьтесь, что правая и левая крышки подшипников не перепутаны.

    3. Закрепите обе крышки подшипников 4 болтами.

      Torque:
      85 Н*м  { 870 кгс*см, 63 фунт-сила-фута }
  10. ПРОВЕРЬТЕ БОКОВОЙ ЗАЗОР МЕЖДУ ЗУБЬЯМИ ВЕДУЩЕЙ ШЕСТЕРНИ ДИФФЕРЕНЦИАЛА И КОРОННОЙ ШЕСТЕРНИ ДИФФЕРЕНЦИАЛА

    A01DZSO
    SST
    09504-00011
    09960-10010   ( 09962-01000, 09963-00700 )

    1. Установите индикатор часового типа перпендикулярно торцевой поверхности коронной шестерни.

    2. Зафиксировав соединительный фланец задней ведущей шестерни, повращайте коронную шестерню и измерьте боковой зазор.

      Номинальный зазор
      0,13 - 0,20 мм (0,0051 - 0,0078 дюйма)
  11. ОТРЕГУЛИРУЙТЕ БОКОВОЙ ЗАЗОР МЕЖДУ ЗУБЬЯМИ ВЕДУЩЕЙ ШЕСТЕРНИ ДИФФЕРЕНЦИАЛА И КОРОННОЙ ШЕСТЕРНИ ДИФФЕРЕНЦИАЛА


    1. A01DWGT

      Выберите такую боковую шайбу, которая обеспечивает номинальный боковой зазор между зубьями. Затем установите ее с обратной стороны коронной шестерни.

      Tech Tips


      • Если используется новый подшипник корпуса, выберите и установите более тонкую боковую шайбу.

      • Если используется бывший в употреблении подшипник корпуса, установите боковую шайбу с такой же толщиной, как у снятой.

        Номинальная толщина боковой шайбы
        Толщина Толщина Толщина
        2,51 мм (0,099 дюйма) 3,12 мм (0,123 дюйма) 3,73 мм (0,147 дюйма)
        2,54 мм (0,100 дюйма) 3,15 мм (0,124 дюйма) 3,76 мм (0,148 дюйма)
        2,57 мм (0,101 дюйма) 3,18 мм (0,125 дюйма) 3,78 мм (0,149 дюйма)
        2,59 мм (0,102 дюйма) 3,20 мм (0,126 дюйма) 3,81 мм (0,150 дюйма)
        2,62 мм (0,103 дюйма) 3,23 мм (0,127 дюйма) 3,84 мм (0,151 дюйма)
        2,64 мм (0,104 дюйма) 3,25 мм (0,128 дюйма) 3,86 мм (0,152 дюйма)
        2,67 мм (0,105 дюйма) 3,28 мм (0,129 дюйма) 3,89 мм (0,153 дюйма)
        2,69 мм (0,106 дюйма) 3,30 мм (0,130 дюйма) 3,91 мм (0,154 дюйма)
        2,72 мм (0,107 дюйма) 3,33 мм (0,131 дюйма) 3,94 мм (0,155 дюйма)
        2,74 мм (0,108 дюйма) 3,35 мм (0,132 дюйма) 3,96 мм (0,156 дюйма)
        2,77 мм (0,109 дюйма) 3,38 мм (0,133 дюйма) 3,99 мм (0,157 дюйма)
        2,79 мм (0,110 дюйма) 3,40 мм (0,134 дюйма) 4,01 мм (0,158 дюйма)
        2,82 мм (0,111 дюйма) 3,43 мм (0,135 дюйма) 4,04 мм (0,159 дюйма)
        2,84 мм (0,112 дюйма) 3,45 мм (0,136 дюйма) 4,06 мм (0,160 дюйма)
        2,87 мм (0,113 дюйма) 3,48 мм (0,137 дюйма) 4,09 мм (0,161 дюйма)
        2,90 мм (0,114 дюйма) 3,51 мм (0,138 дюйма) 4,11 мм (0,162 дюйма)
        2,92 мм (0,115 дюйма) 3,53 мм (0,139 дюйма) 4,14 мм (0,163 дюйма)
        2,95 мм (0,116 дюйма) 3,56 мм (0,140 дюйма) 4,17 мм (0,164 дюйма)
        2,97 мм (0,117 дюйма) 3,58 мм (0,141 дюйма) 4,19 мм (0,165 дюйма)
        3,00 мм (0,118 дюйма) 3,61 мм (0,142 дюйма) 4,22 мм (0,166 дюйма)
        3,02 мм (0,119 дюйма) 3,63 мм (0,143 дюйма) 4,24 мм (0,167 дюйма)
        3,05 мм (0,120 дюйма) 3,66 мм (0,144 дюйма) 4,27 мм (0,168 дюйма)
        3,07 мм (0,121 дюйма) 3,68 мм (0,145 дюйма) 4,29 мм (0,169 дюйма)
        3,10 мм (0,122 дюйма) 3,71 мм (0,146 дюйма) -
    2. Обеспечьте плотную посадку подшипника корпуса дифференциала и боковой шайбы, обстучав коронную шестерню молотком с пластмассовым покрытием.

    3. A01DZSO

      Установите индикатор часового типа перпендикулярно торцевой поверхности коронной шестерни.

    4. Зафиксировав соединительный фланец задней ведущей шестерни, повращайте коронную шестерню и измерьте боковой зазор.

      Номинальный зазор
      0,13 - 0,20 мм (0,0051 - 0,0078 дюйма)
    5. A01DWGT

      Если боковой зазор между зубьями не попадает в номинальный диапазон, подберите такую боковую шайбу, которая обеспечивает попадание бокового зазора в номинальный диапазон. Затем установите ее с обратной стороны коронной шестерни.

    6. A01DZTTE01

      Выберите боковую шайбу большей толщины, которая обеспечивает равный 0 или близкий к 0 зазор между торцом наружного кольца подшипника корпуса со стороны зубьев коронной шестерни и чашкой.

    7. Обеспечьте плотную посадку подшипника корпуса дифференциала и боковой шайбы, обстучав коронную шестерню молотком с пластмассовым покрытием.

    8. A01DYKF

      Установите индикатор часового типа перпендикулярно торцевой поверхности коронной шестерни.

    9. Удерживая задний соединительный фланец задней ведущей шестерни, измерьте боковой зазор, вращая коронную шестерню.

      Номинальный зазор
      0,13 - 0,20 мм (0,0051 - 0,0078 дюйма)

      • Если боковой зазор не попадает в номинальный диапазон, одинаковым образом скорректируйте толщину боковых шайб слева и справа настолько, чтобы боковой зазор оказался в номинальном диапазоне.

  12. ПРОВЕРЬТЕ СУММАРНЫЙ ПРЕДНАТЯГ


    1. A01DZTFE01

      С помощью динамометрического ключа измерьте преднатяг в положении касания зубьев ведущей и коронной шестерен.

      Tech Tips

      Если для болта не указан момент затяжки, см. технические характеристики (стр. Click here).


      • При необходимости разберите и проверьте дифференциал.

  13. ПРОВЕРЬТЕ КОНТАКТ ЗУБЬЕВ ЗУБЧАТОГО ВЕНЦА И ВЕДУЩЕЙ ШЕСТЕРНИ


    1. A01DWWWE01

      Покройте 3-4 зубца коронной шестерни в 3 различных точках красным свинцовым суриком.

    2. Твердо удерживая соединительный фланец на месте, поверните коронную шестерню в обоих направлениях.

    3. Проверьте пятно контакта зубьев.


      • A01DZDJE01
      • A01E2TCE03

        Если зубья не сцепляются надлежащим образом, подберите подходящую шайбу, обратившись к приведенной ниже таблице.

        Номинальная толщина плоской шайбы
        Толщина, мм (дюйм.) Толщина, мм (дюйм.)
        0,69 мм (0,0272 дюйма) 1,19 мм (0,0469 дюйма)
        0,71 мм (0,0280 дюйма) 1,22 мм (0,0480 дюйма)
        0,74 мм (0,0291 дюйма) 1,24 мм (0,0488 дюйма)
        0,76 мм (0,0300 дюйма) 1,27 мм (0,0500 дюйма)
        0,79 мм (0,0311 дюйма) 1,30 мм (0,0512 дюйма)
        0,81 мм (0,0319 дюйма) 1,32 мм (0,0520 дюйма)
        0,84 мм (0,0331 дюйма) 1,35 мм (0,0531 дюйма)
        0,86 мм (0,0339 дюйма) 1,37 мм (0,0540 дюйма)
        0,89 мм (0,0350 дюйма) 1,40 мм (0,0551 дюйма)
        0,91 мм (0,0358 дюйма) 1,42 мм (0,0559 дюйма)
        0,94 мм (0,0370 дюйма) 1,45 мм (0,0571 дюйма)
        0,97 мм (0,0382 дюйма) 1,47 мм (0,0579 дюйма)
        0,99 мм (0,0390 дюйма) 1,50 мм (0,0591 дюйма)
        1,02 мм (0,0402 дюйма) 1,52 мм (0,0598 дюйма)
        1,04 мм (0,0409 дюйма) 1,55 мм (0,0610 дюйма)
        1,07 мм (0,0421 дюйма) 1,58 мм (0,0622 дюйма)
        1,09 мм (0,0429 дюйма) 1,60 мм (0,0630 дюйма)
        1,12 мм (0,0441 дюйма) 1,63 мм (0,0642 дюйма)
        1,14 мм (0,0449 дюйма) 1,65 мм (0,0650 дюйма)
        1,17 мм (0,0461 дюйма) -
  14. СНИМИТЕ ГАЙКУ ЗАДНЕЙ ВЕДУЩЕЙ ШЕСТЕРНИ


    1. A01DVN5E01

      С помощью SST и молотка освободите накерненную часть гайки.

      SST
      09930-00010   ( 09931-00010, 09931-00020 )
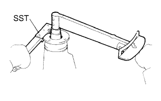
    2. A01DWE9E01
      Обозначения на рисунке
      *a Поверните
      *b Удержание

      Удерживая соединительный фланец на месте с помощью SST, отверните гайку.

      SST
      09330-00021   ( 09330-00030 )
  15. СНИМИТЕ СОЕДИНИТЕЛЬНЫЙ ФЛАНЕЦ ЗАДНЕЙ ВЕДУЩЕЙ ШЕСТЕРНИ В СБОРЕ

  16. СНИМИТЕ МАСЛООТРАЖАТЕЛЬ ВЕДУЩЕЙ ШЕСТЕРНИ ЗАДНЕГО ДИФФЕРЕНЦИАЛА

  17. СНИМИТЕ ПЕРЕДНИЙ КОНИЧЕСКИЙ РОЛИКОВЫЙ ПОДШИПНИК ЗАДНЕЙ ВЕДУЩЕЙ ШЕСТЕРНИ


    1. A01E1CNE01

      С помощью SST снимите роликовый подшипник (внутренний).

      SST
      09556-22010
    2. A01E30HE01

      С помощью SST выбейте роликовый подшипник (наружный).

      SST
      09308-00010
  18. УСТАНОВИТЕ РАСПОРНУЮ ВТУЛКУ ПОДШИПНИКА ВЕДУЩЕЙ ШЕСТЕРНИ ЗАДНЕГО ДИФФЕРЕНЦИАЛА


    1. A01DYGPE01

      Установите новую распорную втулку подшипника на ведущую шестерню.

  19. УСТАНОВИТЕ МАСЛОНАКОПИТЕЛЬНОЕ КОЛЬЦО ДИФФЕРЕНЦИАЛА


    1. С помощью латунного стержня и молотка вбейте новое маслонакопительное кольцо.

      Note

      Соблюдайте осторожность, чтобы не повредить маслонакопительное кольцо.

  20. УСТАНОВИТЕ ПЕРЕДНИЙ КОНИЧЕСКИЙ РОЛИКОВЫЙ ПОДШИПНИК ЗАДНЕЙ ВЕДУЩЕЙ ШЕСТЕРНИ

    A01E2GTE01
  21. УСТАНОВИТЕ МАСЛООТРАЖАТЕЛЬ ВЕДУЩЕЙ ШЕСТЕРНИ ЗАДНЕГО ДИФФЕРЕНЦИАЛА

  22. УСТАНОВИТЕ САЛЬНИК ЧАШКИ ЗАДНЕГО ДИФФЕРЕНЦИАЛА


    1. Нанесите универсальную консистентную смазку на кромку нового сальника.

    2. Используя латунный стержень и молоток, запрессуйте новый сальник таким образом, чтобы его поверхность оказалась заподлицо с краем чашки дифференциала.

      Note

      Будьте осторожны, чтобы не повредить сальник.

  23. УСТАНОВИТЕ СОЕДИНИТЕЛЬНЫЙ ФЛАНЕЦ ЗАДНЕЙ ВЕДУЩЕЙ ШЕСТЕРНИ В СБОРЕ


    1. A01DY0IE05

      При помощи SST установите соединительный фланец на ведущую шестерню.

      SST
      09950-30012   ( 09951-03010, 09953-03010, 09954-03010, 09955-03030, 09956-03040 )

      Note

      Прежде чем устанавливать SST (центральный болт), нанесите на его резьбу и конец гипоидное масло.

    2. A01DZKCE03

      Удерживая фланец с помощью SST, затяните гайку.

      SST
      09330-00021   ( 09330-00030 )
      Torque:
      370 Н*м  { 3770 кгс*см, 273 фунт-сила-фута, или менее }
  24. ПРОВЕРЬТЕ ПРЕДНАТЯГ ВЕДУЩЕЙ ШЕСТЕРНИ


    1. A01DZXUE01

      С помощью динамометрического ключа измерьте преднатяг для зазора между ведущей и коронной шестернями.

      Номинальный преднатяг (при начальном крутящем моменте)
      Подшипник Преднатяг
      Новый подшипник 1,20 - 2,00 Н*м (12 - 20 кгс*см, 11 - 18 фунт-сила-дюймов)
      Подшипник, бывший в употреблении 0,70 - 1,50 Н*м (7 - 15 кгс*см, 6,0 - 13 фунт-сила-дюймов)

      • Если преднатяг превышает максимальное значение, замените распорную втулку подшипника.


      • Если преднатяг меньше минимально допустимого, подтяните гайку с шагом затяжки 13 Н*м (130 кгс*см, 9 фунт-сила-футов) до достижения требуемого преднатяга.

      Torque:
      678 Н*м  { 6914 кгс*см, 500 фунт-сила-футов, или менее }

      • Если при повторной затяжке гайки превышен максимальный крутящий момент, замените распорную втулку подшипника и повторите операцию регулировки предварительного натяга.

      Tech Tips

      Не ослабляйте затяжку гайки ведущей шестерни для уменьшения преднатяга.

  25. ПРОВЕРЬТЕ СУММАРНЫЙ ПРЕДНАТЯГ


    1. A01DZXUE01

      Динамометрическим ключом измерьте преднатяг.

      Tech Tips

      Если для болта не указан момент затяжки, см. технические характеристики (стр. Click here).


      • При необходимости разберите и проверьте дифференциаDrive pinion preload plusл.

  26. ПРОВЕРЬТЕ БОКОВОЙ ЗАЗОР МЕЖДУ ЗУБЬЯМИ В ГЛАВНОЙ ПЕРЕДАЧЕ ДИФФЕРЕНЦИАЛА


    1. A01DZSO

      С помощью индикатора часового типа измерьте боковой зазор между зубьями в главной передаче.

      Номинальный боковой зазор
      0,13 - 0,20 мм (0,0051 - 0,0078 дюйма)

      • Если величина бокового зазора не соответствует требованиям, отрегулируйте преднатяг подшипника полуоси, либо произведите необходимый ремонт.

        Tech Tips

        Выполните измерения, по крайней мере, в 3 точках на окружности коронной шестерни.

  27. ПРОВЕРЬТЕ БИЕНИЕ СОЕДИНИТЕЛЬНОГО ФЛАНЦА ЗАДНЕЙ ВЕДУЩЕЙ ШЕСТЕРНИ В СБОРЕ


    1. A01DYNLE03

      С помощью индикатора часового типа измерьте биение соединительного фланца ведущей шестерни по вертикали и горизонтали.

      Максимально допустимое биение
      Биение Максимальное значение
      Вертикальное биение 0,10 мм (0,0039 дюйма)
      Горизонтальное биение 0,10 мм (0,0039 дюйма)

      • Если биение превышает максимально допустимую величину, замените соединительный фланец.

  28. РАСКЕРНИТЕ ГАЙКУ ВЕДУЩЕЙ ШЕСТЕРНИ


    1. A01DUZ9E01

      Накерните гайку с помощью молотка и зубила.