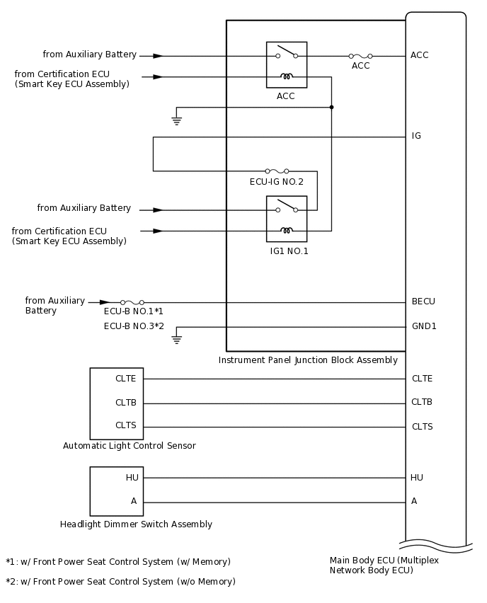
AUTOMATIC HIGH BEAM SYSTEM SYSTEM DIAGRAM

  1. AUTOMATIC HIGH BEAM SYSTEM

    E342969E01
    E342970E01