СНЯТИЕ, УСТАНОВКА, РЕМОНТ И ЗАМЕНА ДЕТАЛЕЙ И УЗЛОВ - СТАНДАРТ ПО РЕГУЛИРОВКЕ УГЛОВ УСТАНОВКИ КОЛЕС
ИЗМЕРЬТЕ ВЫСОТУ АВТОМОБИЛЯ
-
Покачайте автомобиль вверх-вниз за углы, чтобы стабилизировать подвеску, после чего проверьте высоту автомобиля.
Table 1. Высота автомобиля (в ненагруженном состоянии) Размер шины
Спереди B - A
Сзади C
Спереди D
Сзади E
205/55 R16
146 мм
(5,75 дюйма)
225 мм
(8,86 дюйма)
375 мм
(14,76 дюйма)
372 мм
(14,65 дюйма)
215/45 R17
146 мм
(5,75 дюйма)
225 мм
(8,86 дюйма)
375 мм
(14,76 дюйма)
372 мм
(14,65 дюйма)
Note:Проверку следует выполнять при пустом автомобиле (с запасным колесом, домкратом и инструментами внутри, а также с заполненным топливом топливным баком).
Указанная здесь номинальная величина используется для регулировки углов установки колес и не отражает высоту для конкретного автомобиля.
Точки измерений
A
Дорожный просвет по центру переднего установочного болта нижнего рычага передней подвески
B
Дорожный просвет по центру передних колес
C
Дорожный просвет по центру болта крепления нижнего рычага управления
D
Высота арки переднего колеса по центру переднего колеса
E
Высота арки заднего колеса по центру заднего колеса
-
ПРОВЕРЬТЕ РАЗВАЛ, УГОЛ ПРОДОЛЬНОГО НАКЛОНА ШКВОРНЯ И УГОЛ ПОПЕРЕЧНОГО НАКЛОНА ОСИ ПОВОРОТА
Note:Проверку следует выполнять при пустом автомобиле (без запасного колеса, домкрата и инструментов внутри автомобиля, но с заполненным топливом топливным баком).
-
Установите переднее колесо в центр стенда проверки углов установки колес.
Table 2. Обозначения на рисунке *1
Стенд проверки углов установки колес
*2
Индикатор развала / угла продольного наклона шкворня / угла поперечного наклона шкворня
Снимите колпак колеса.
Установите в центр ступицы колеса или приводного вала прибор для замера продольного и поперечного угла поворота шкворня и поперечного угла наклона оси поворота колеса.
Проверьте развал, угол продольного поворота шкворня и угол поперечного наклона оси поворота.
Номинальный размер (в ненагруженном состоянии автомобиля)
Развал
Продольный наклон шкворня
(для справки)
Поперечный угол наклона оси поворота
(для справки)
0 +/- 45'
(0 +/- 0,75°)
5°54'
(5,90°)
15°31'
(15,52°)
Note:Проверку следует выполнять при пустом автомобиле (с запасным колесом, домкратом и инструментами внутри, а также с заполненным топливом топливным баком).
Допуск расхождения поперечного и продольного наклона поворотного шкворня между правым и левым колесом составляет не более 45' (0,75°).
Снимите переходник и прибор для замера продольного и поперечного угла поворота шкворня и поперечного угла наклона оси поворота колеса.
Установите колпак колеса.
Если продольный и поперечный наклон шкворня не соответствуют указанным значениям, после соответствующей регулировки развала проверьте, нет ли в подвеске поврежденных и изношенных деталей.
-
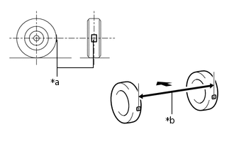
ПРОВЕРЬТЕ СХОЖДЕНИЕ КОЛЕС (СПЕРЕДИ)
Стабилизируйте подвеску, покачав автомобиль за углы.
Освободите стояночный тормоз и переведите рычаг переключения передач в нейтральное положение (для моделей с механической трансмиссией).
Освободите стояночный тормоз и переведите рычаг переключения передач в положение N (для моделей с автоматической трансмиссией).
Толкайте автомобиль в прямом направлении, чтобы он проехал расстояние приблизительно 5 м (16,4 фута). (Шаг A)
-
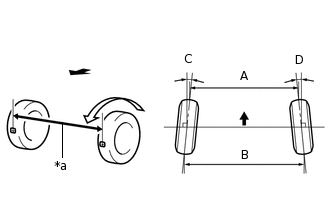
Нанесите метки центральной линии на крайние задние точки передних колес и измерьте расстояние между метками (размер B).
Table 3. Обозначения на рисунке *a
Метка центральной линии
*b
Размер B

Передняя сторона автомобиля
Медленно продвиньте автомобиль прямо вперед, чтобы повернуть передние колеса на 180°. В качестве базовой точки используйте вентиль шины переднего колеса.
Tip:Не допускайте, чтобы колеса поворачивались более чем на 180°. В случае поворота колес на угол, превышающий 180°, повторите процедуру, начиная с шага A.
-
Измерьте расстояние между метками центральной линии спереди колес (размер A).
Table 4. Обозначения на рисунке *a
Размер A

Передняя сторона автомобиля
Номинальный размер (в ненагруженном состоянии автомобиля)
Заданные условия
C + D: 0°00' +/- 0°11' (0,00° +/- 0,19°)
B - A: 0 +/- 3,0 мм (0 +/- 0,1181 дюйма)
Tip:Измеряйте "B - A" только в том случае, если невозможно измерить "C + D".
Если величина схождения не соответствует указанному значению, отрегулируйте положение наконечников рулевых тяг.
ПРОВЕРЬТЕ УГЛЫ ПОВОРОТА КОЛЕС
-
Нанесите метки центральной линии колеи в крайних задних точках шаблона радиуса разворота.
Table 5. Обозначения на рисунке *a
Внутрь
*b
Наружу

Передняя сторона автомобиля
Поверните рулевое колесо влево и вправо до упора и измерьте угол поворота.
Tip:Проверку следует выполнять на автомобиле в ненагруженном состоянии.
Углы поворота колес (в ненагруженном состоянии)
Внутреннее колесо
(для справки)
Внешняя сторона колеса
(для справки)
36°54'
(43,90°)
31°12'
(31,20°)
-
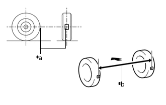
ПРОВЕРЬТЕ СХОЖДЕНИЕ КОЛЕС (СЗАДИ)
Note:Проверку следует выполнять на автомобиле в ненагруженном состоянии.
Стабилизируйте подвеску, покачав автомобиль за углы.
Отпустите стояночный тормоз и переведите рычаг переключения передач в нейтральное положение.
Толкайте автомобиль в прямом направлении, чтобы он проехал расстояние приблизительно 5 м (16,4 фута). (Шаг B)
-
Нанесите метки центральной линии колеи в крайних задних точках задних колес и измерьте расстояние между метками (размер B).
Table 6. Обозначения на рисунке *a
Метка центральной линии
*b
Размер B

Передняя сторона автомобиля
Медленно продвиньте автомобиль прямо вперед, чтобы повернуть задние колеса на 180°. В качестве базовой точки используйте вентиль шины заднего колеса.
Tip:Не допускайте, чтобы колеса поворачивались более чем на 180°. В случае поворота колес на угол, превышающий 180°, повторите процедуру, начиная с шага B.
-
Измерьте расстояние между метками центральной линии спереди задних колес (размер A).
Table 7. Обозначения на рисунке *a
Размер A

Передняя сторона автомобиля
Схождение колес (в ненагруженном состоянии)
Заданные условия
C + D: 0°10' +/- 0°15' (0,16° +/- 0,24°)
B - A: 2,0 +/- 3,0 мм (0,0787 +/- 0,1181 дюйма)
Tip:Измеряйте "B - A" только в том случае, если невозможно измерить "C + D".
Если схождение колес не попадает в заданный диапазон, отрегулируйте его на рычаге регулировки схождения в сборе.
ПРОВЕРЬТЕ РАЗВАЛ КОЛЕС (СЗАДИ)
Снимите центральный декоративный элемент колеса.
-
Установите индикатор развала и углов продольного и поперечного наклона поворотного шкворня в центр ступицы колеса или приводного вала.
Table 8. Обозначения на рисунке *1
Датчик развала – угла продольного поворота шкворня – угла поперечного наклона оси поворота
Проверьте развал колес.
Развал колес (в ненагруженном состоянии)
Развал колес
Разница между правой и левой сторонами
-1°12' +/- 45'
(-1,20° +/- 0,75°)
Не более 45' (0,75°)
Если измеренное значение выходит за установленные пределы, проверьте детали подвески на наличие повреждений и износа. При необходимости замените детали, так как при наличии поврежденных или изношенных деталей развал не может быть отрегулирован должным образом.
Снимите датчик развала – угла продольного поворота шкворня – угла поперечного наклона оси поворота.
Установите центральный декоративный элемент колеса.
ПРОВЕРЬТЕ ЗАДНЮЮ ПОДВЕСКУ
Проверьте элемент задней подвески.
Измерьте расстояние между центрами 2 установочных болтов левого и правого рычагов задней подвески № 2 в сборе.
Номинальное расстояние
454,5 - 460,5 мм (17,89 - 18,13 дюйма)
Если расстояние не соответствует заданному диапазону, замените элемент задней подвески.
-
Проверьте рычаг задней подвески № 2 в сборе.
Измерьте расстояние между центрами 2 установочных болтов рычага задней подвески № 2.
Номинальное расстояние
448,9 - 452,9 мм (17,67 - 17,83 дюйма)
Если расстояние не соответствует заданному диапазону, замените рычаг задней подвески № 2 в сборе.
Проверьте и отрегулируйте развал и схождение.
Проверьте развал и схождение.
Проверьте развал и схождение. Если значения не соответствуют заданному диапазону, отрегулируйте установочный болт, крепящий элемент задней подвески к кузову, либо болт, крепящий верхний рычаг управления и рычаг задней подвески таким образом, чтобы значения соответствовали заданным диапазонам.