HORN INSPECTION

PROCEDURE

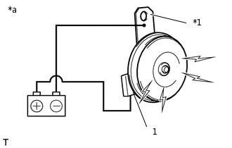
  1. INSPECT LOW PITCHED HORN ASSEMBLY

    B114453C07

    *1

    Horn Body

    *a

    Component without harness connected

    (Low Pitched Horn Assembly)

    1. Apply battery voltage and check operation of the low pitched horn according to the table below.

      OK

      Measurement Condition

      Specified Condition

      Battery positive (+) → Terminal 1

      Battery negative (-) → Hone body

      Low pitched horn sounds

      If the result is not as specified, replace the low pitched horn assembly.

  2. INSPECT HIGH PITCHED HORN ASSEMBLY

    B114453C07

    *1

    Horn Body

    *a

    Component without harness connected

    (High Pitched Horn Assembly)

    1. Apply battery voltage and check operation of the high pitched horn according to the table below.

      OK

      Measurement Condition

      Specified Condition

      Battery positive (+) → Terminal 1

      Battery negative (-) → Hone body

      High pitched horn sounds

      If the result is not as specified, replace the high pitched horn assembly.