ПЕРЕДНЯЯ ПЛАСТИНА ЛОНЖЕРОНА РАМЫ ЗАМЕНА УЗЛОВ
Со снятыми вспомогательной поперечиной рамы в сборе и кронштейном опоры кабины № 1 в сборе.
*A |
Для моделей с приводом на одну ось |
- |
- |
Порядок выполнения работ для правой и левой сторон одинаков.
Ниже рассмотрен порядок выполнения работ для правой стороны.
СНЯТИЕ
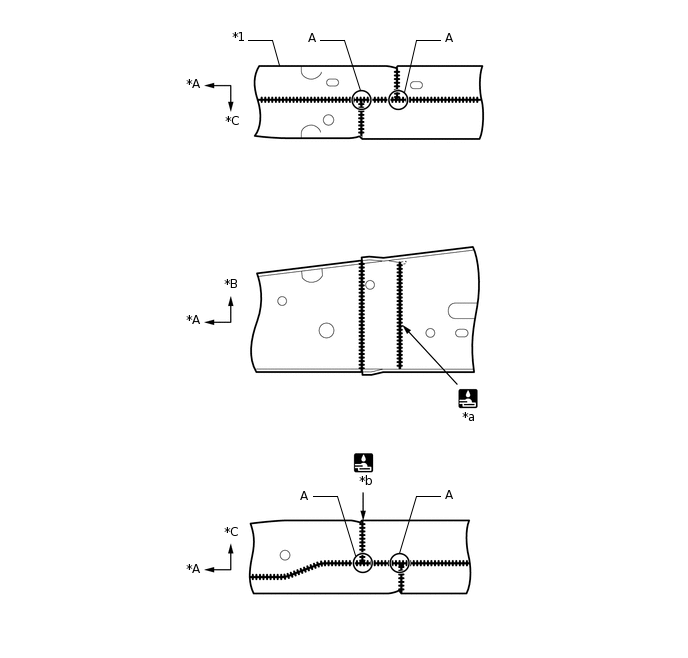
Значения символов

Обрежьте, например, с помощью шлифовальной машины
*A
ПЕРЕДНЯЯ СТОРОНА
*B
ВЕРХНЯЯ СТОРОНА
*C
Левая сторона
-
-
УСТАНОВКА
Значения символов

Угловой сварной шов
Установите не закрепляя новые детали и измерьте необходимые размеры в соответствии со схемой измерений (См. размеры кузова.)
Перед выполнением сварочных работ убедитесь, что созданы все необходимые условия для сварки.
Во избежание тепловой деформации приварите правую и левую сторону каждой детали перед переходом к следующей детали.
Убедитесь, что в точке А наложен валик сварного шва.
*A
ПЕРЕДНЯЯ СТОРОНА
*B
ВЕРХНЯЯ СТОРОНА
*C
Левая сторона
-
-
*1
УДЛИНИТЕЛЬ БОКОВОГО БРУСА В СБОРЕ
-
-
*a
146 мм (5,75 дюйма)
*b
172 мм (6,77 дюйма)
После нанесения верхнего слоя покрытия нанесите антикоррозийное средство на сварные точки несущих рабочую нагрузку швов замкнутого профиля с внутренней стороны панели.